彼の製品化されなかったアームの特許図面を見ると彼自身いろんなことを考えたことが分かります。注:Alastair J. Robertson-Aikman (1924-2006)の苗字はハイフンで繋いだ特殊なもので、複合姓(両家の苗字を連結)らしい。AlastairはAlistairとともにAlexanderをスコットランド語(ゲール語)で表記した男性名だそうです。
また我々もいろいろ考えさせられます。
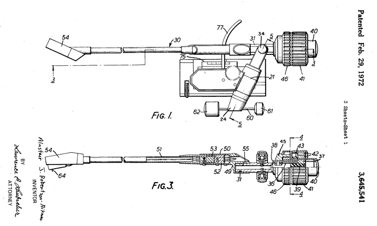
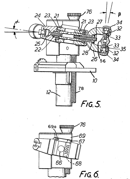
興味深いアームです。2つの支点はαとβだけ傾いているーそれにより自動的に針先にサイドフォースを与えるというのです。その角度の実数(予想角度は8度前後が相応)は示されていませんがFig.6のgrub screw 69aで微調整できる仕組みになっています。”In particular, the arm includes means for adjusting playing weight in which variation of playing weight is accompanied by automatic adjustment of a force correcting the side thrust of skating force at the stylus. The correcting force is produced by inclination of the pivotal axis of the arm by an angular amount about which produces an appropriate horizontally resolved part of the vertical force of the stylus."
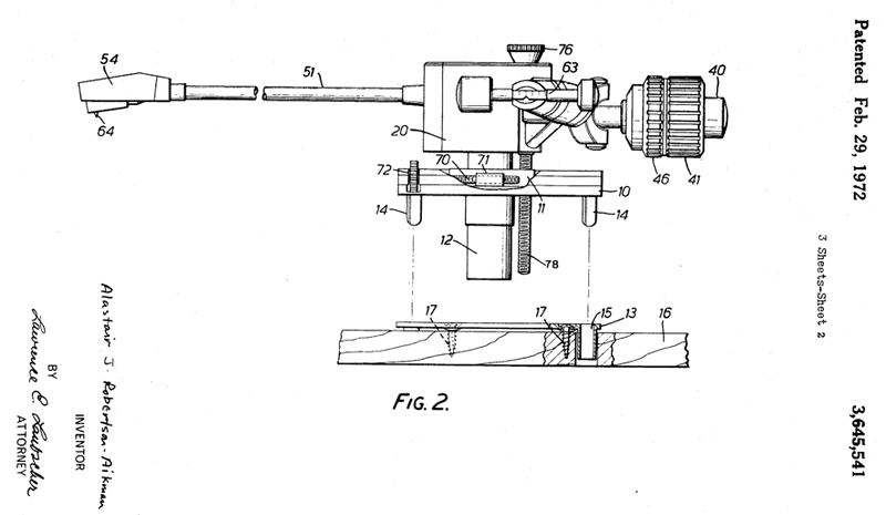
軸受けの位置が針先・レコード水平面に近くなっているところやアームパイプ交換方式などはシリーズ3以降のSMEのアームに生かされているようです。英国特許申請GB1273981(=US特許3645541)&GB1273982(補足説明:カートリッジを交換するのにヘッドシェルを交換するのではなく、アームパイプを交換可能とすることによりピックアップヘッドの軽量化を図る)。英国特許(申請)は1976年に無効(”PATENT LAPSED THROUGH NONPAYMENT OF RENEWAL FEES”)になったとのことです。
このデザインには問題点が2つあります:1.アームのパイプの穴55から線を引き出すので線がむき出しになる 2.レコードの内周に向かってアームがスウィングした時、針圧調整軸60が時計回りに傾く(傾かないとカートリッジ54が内周でレコードにめり込む)、さらに21の軸に対してカートリッジからの垂線の長さも変化するので針圧が変化してしまいませんか?



針圧に関してのアームの実効長さの変化(COS 回転角)と針圧負荷軸60の水平からの傾き(COS 回転角)が連動し相殺するとすれば、下図の茶色の太線の位置(にアームがある時に針圧負荷バー60が水平になるように設定すれば良いわけです。より実際的な問題は盤のワープなどによるアームの上下運動や偏芯による水平運動が著しい場合、従来の軸受けよりも実効感度が劣る恐れがあることです。不思議なことにSMEではシリーズIII以降ラテラルバランスに言及しなくなりました。
<連動し相殺する>というのは早計なようです。下図は35軸上横回転によって盤の下に沈む量を針圧バーの回転によってレコード盤の水平レヴェルに戻すという2段階モーションに分割して考えたものです。α傾いた軸上(x1、x2)から見た針先のトルクベクトルも内周側でアームのtail-downに似た方向に変化します。


軸受け21のところからみるとside thrustと針圧変化に対応しているように見える。しかし針先から見ると21と直角に交差する軸34があるから実際はどうなるのか怪しい。軸受けに摩擦がなければアーム軸の傾きは関係ないのではなかろうか?(後記:上のアームはジンバルではなく肘を二の腕で支える構造なのでバイアス力が発生するらしい) 水平垂直軸の交点=仮想一点のジンバルサポートの場合はアームの傾きに関係なく針圧は重力の方向になる。アームベースやターンテーブルを傾けてside thrustに対応するやり方はCBSのGoldmarkやBachmanなどが提唱するよりもずっと早くSP時代からありました。ターンテーブル全体を傾けるのはさておいて、アームベースだけ傾けて実効があるかは疑問に思っています。針圧をかけるのに重力ではなくバネを利用するDynamic Balance Armであれば分かりますがStatic Balanceのアームではハテナです。実際にGoldmarkとBachamanが想定したアームは板バネでアームの重さを支える古いタイプのダイナミック・バランス・アームでした。

全くの余談になりますが、ナイフエッジをアームに応用したのはSME3012よりも古くからあったようです。例えば下図の1949年の英国特許(Dennis English Osman氏発明)。

米国でも同様の発明がなされました。Bladeを直行させることにより横にずれないと同時に、金属製のリング3とナイフエッジ型磁石8との吸着力により縦方向にずれないようにする工夫でした。アームの上部を簡単に取り外せるので針交換やメンテナンスがしやすい。「従来型のベアリング構造では遊びの無いlost motionを追求すると感度が損なわれ、感度を追求すると遊びが生じやすい」パラドックスについて述べられています。diamagnetic(反磁性)、paramagnetic(常磁性)という難しい用語が使われています。

製品化はされなかったようですが、松下電器産業の利田(カガタ)氏もナイフエッジが横にずれない工夫で米国特許と日本で実用新案を出願しています。

SAECのダブルナイフエッジの関連特許は見当たりませんでしたが、東芝の掘水氏はナイフエッジの浮き上がりを問題にして磁気吸着式ナイフエッジを提唱しました(製品化はされなかった模様)。「ナイフエッジベアリングを用いた従来のピックアップアーム装置にあっては、鉛直面内の回転摩擦が少ないためレコード盤の反りに対しては良好な追随性を有するが、レコード盤の音溝に記録された凸凹によりピックアップカートリッジがレコード盤の回転方向に強く引張られる際、突条のエッジ部が溝の斜面部分に乗りあげてピックアップカートリッジの位置がレコード盤の回転方向の前後に変動し再生音に悪影響を与える」と指摘していました。

従来のナイフエッジ構造を横向きにした工夫がTrio時代のKP-880D(1983年)などに採用されDS(ダイナミック・スタビリティ)トーンアームと称していますが、何故アームが下に落ちないのか不思議ですね。ナイフエッジは傾いていてピボット接触部はある程度傾斜があるのでアーム自重を支えると同時に引張られるのを防ぎフックのようにナイフエッジに接触する構造だと予想します(上の第三図の軸受部を傾けた構造)。従来の垂直ナイフエッジ構造でも軸受け開角を60度以下に少なくすれば同様の効果が得られると思いますがそれをしないのはナイフエッジといえどもその先端は強度を得るためにある程度の丸みを持っているからでしょうか?単純に考えると、エッジ部加重(アーム上物重量)を仮に100gとしそれを押し上げる斜面角が60度では横方向の引張る力が例え50gfでも押し上げられません。斜面角が30度で丁度拮抗します。通常stylus dragは針圧を超えないことが知られています。10gf以下の力では100gの荷物は10度の斜面でも上がりません。水平方向に引っ張る力が10gf以上あるとすれば、それは盤と針に異常な摩擦が生じている証拠で例えアーム支点が動かなくとも針の支点に影響します。従ってレコード盤の回転方向に引張られてアーム支点がズレるのは一般的現象ではありません。一見もっともらしい工夫や発明でも以後の製品に継続されないアイデアがアナログにはたくさんあります。