現在システムプレーヤーはDJ機器と同様RCAピンジャック端子でつなぐものが多い。驚いたことには従来の5ピン対応のアームコードがない。あっても(OrtofonとAudio Craft)数万円也という。秋葉原を廻って一番安いのがROXSAN(5500円)だった。 またしても自作の虫を湧かせる話である。 昔「無線と実験」で自作記事を読んだのを思い出しDIN6Pole[メス]を探して自作アームコードを作ることにした。真ん中の端子をはずせば5poleとなる。但し金メッキのものは見当たらないし,差込部分が短かくて太いコードが使えない。
アースの処理。そもそも何故5ピン&ジャックなのか?5ピンの(真ん中の3番端子)のアースとは何者か考えてみると不思議ではないか? 金属は誘導性なのでMMの(Mu-metalとかいわれている)メタルシールドと金属アームとをアースに落とす必要があるといわれる。しかしMMのメタルシールドのアースは既に信号のグランドに落ちている。外部金属片を通じてPickeringとEmpireは主に左アースへ、Shureはモデルごとに右アースもしくは左アースへ、オーディオテクニカのVM型を含めほかの多くのMMカートリッジは内部で主に右アースへ結線されている。JIS
C5503-1979ピックアップでは「カートリッジにシールドを施す場合には、シールドのアースはR-(RE)端子に接続統一することが望ましい」としている。 金属被覆のないMCにはこのアースがない(金属被覆のMCの金属部分は飾り?)。 ということはこの単独アース線はアームをアースしているだけだ。 一部のSMEやKeith
Monksの古いアームコードはこのアームアースを(RCAプラグ)右信号のグランドに落としている。フォノコードを自作する場合、アームアースは5ピンコードの入口でもRCA出口でも好きな場所に落として良いことになる-これ本当の話!ただシンメトリーでないのが気にかかるだけで、実験しても違いはわからなかった。さらに一部のMM/IMではカートリッジ取り付け部まで金属になっておりシェルに付けるとアームのアースまで信号のグランドに落ちることがありアームアース線を接続するとアースループが出来るが特に問題はない。場合によってはカートリッジ端子(RG)から金属片をはずしてメタルシールドへのアースを外すことを提案しているのをShureの昔の英文説明書で読んだ覚えがある。Vinyl
EngineのLibraryでV15IIIのManualに次の文言を見つけた。
"Note: Some
Installations may require the cartridge shield to be electrically isolated from
the "RG" terminal. This can be achieved by removal of the ground tab.
The tab may be straightened and reinserted to provide an independent cartridge
shield ground, if required."
あの時代のマニュアルにはこのように丁寧な説明があった。ステレオ黎明期のカートリッジShure
M3Dのマニュアルには以下のように3端子接続への配慮もある。今では考えられないことだが、ステレオ導入にあたって手持ちのモノラル機器にスピーカーとアンプをそれぞれ買い増しして対応するユーザーも多かった。

ベルトドライブのようにターンテーブル・シャーシが絶縁されていた時代のSME3009impの古いアームコードについている短いアース線はターンテーブル・シャーシにアースするよう指示がありました(旧マニュアル項目117/118)。金属ターンテーブルをアームを通じてアースすることになるわけですが、もし既にターンテーブル・シャーシが別ルートでアースされていたらかえってハムを生じる場合もあるようです。デンオンのフォノモータDP-2000の場合はターンテーブルのアース線は別に取られていますのでアームを直接ターンテーブル・シャーシに結線することは出来ませんが、ターンテーブルとアーム間の抵抗を測ってみたら約2Ωでした。ハムがでる時はこの抵抗を測ってみると原因がわかるかもしれない。回転軸と軸受けまわりは接触しているので導通が有るようですが、グリスを詰めすぎたり回転時の軸受け接触が悪いとハムが出ることもあるのかな?

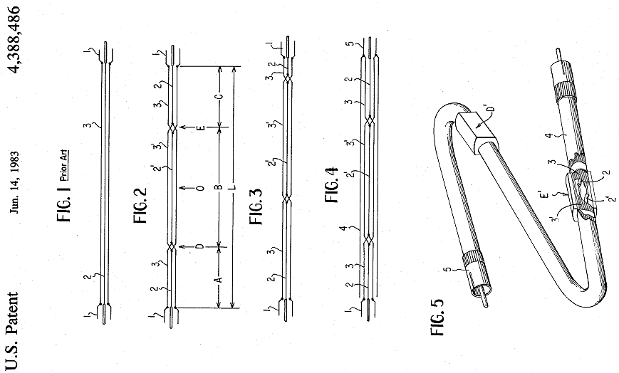
フォノケーブルに使う5Poleメス(端子の開角240度、つまり間隔60度)は今では一般的でなくなっているらしい。下図は接続コードの穴の配列(アーム側のピンは左右反対になります)。上のSMEではテープデッキとの接続によく使われたDIN「録再」コネクタ(端子の開角180度、つまりピン間隔45度=DIN 41524 5P)が示されているが日本やデンマークなどのアームプラグは以下のタイプです。

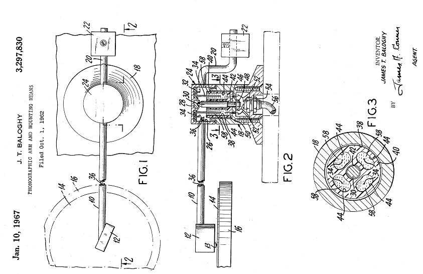
アームに使われている5Poleの端子形状はDINでもJISでもないアーム用として独自のものらしい。端子の並びはDIN 45322 (通常は6P)に似ているが、それと比べて 1)コード側のスリーブ・ケースが細くて深い(φ12x18mm) 2)差込ガイド(ピン又は出っ張り)の形状が違う 3)アーム側にガイドを受けるスリットが普通ある等。デンオン(電音?)パーツが最初に採用した形状だと主張する人(ScanTek/LyraのJonathan Carr)がいるが、本当のところは如何なのだろう。この真相に心当たりのある方は連絡ください。因みにGraceのアームコードは凸ピンでアーム側がメス凹になっているのは、DIN規格の信号の流れ(凹→凸)に準拠していると聞きました。東京都立川市に電音パーツ工業株式会社があり、往時は仙台工場や駒ヶ根事業所もあったようです(実用新案S57-26198U「MCカートリッジ」の内容を見る限りDenonとの関係は十分あったと察しますー生産下請け)。アームの出力端子についてはオルトフォンがいろいろ試行錯誤した結果、DIN規格を自分流に改竄(改良)したものと私は考えていますー何故なら電音パーツの設立は1965年で5ピンアームはそれ以前からあったからです。今は見当たらないが株式会社オービット(musetex)の沿革としてHPに次の記述を見つけました:「日本ケミコン株式会社の子会社であったケミコン精密株式会社(社長伊藤隆雄)がステレオレコード・プレーヤー用ピックアップ(別称トーンアーム)からの撤退をするにあたって、その部門を継承する目的で伊藤がアナログ再生系の機器に愛着があり継続すべく設立したものです。ケミコン精密はその発生母体であった電音パーツ工業株式会社(昭和40年設立)の固有の精密メカ技術を活用し、日本ケミコンがその主力製品であるアルミ電解コンデンサー以外の分野に進出し、当時喧伝されつつあった所謂メカトロニクスに進出すべく電音パーツ工業に資本参加した結果ケミコン精密株式会社として社名を改称。それ以前電音パーツ工業はステレオ用ピックアップの専業メーカーとして、国内の音響メーカーはもとより海外のメーカーにも普及機種から超高級機種までを網羅して供給しており、極めて技術的に高い評価を得ました。<中略> Linn Products LVII Itokk、Denon 307等の大ヒットトーンアームに代表されるアナログ音響機器の設計・製造に携わってきた当社ですが、替わって台頭してきたデジタル音響機器の滔々たる市場への参入はステレオレコードプレーヤーのマーケットをCDプレイヤーがとって替わりオービットとしては平成3年8月にヨーロッパへの出荷を最後にオービットとして7年、電音パーツとして約21年、即ち30年弱に及ぶ生産に終止符を打たざるを得ないことになりました。」と述懐していました。Itokkという奇妙な名称は伊藤氏を記念したものなのですね。
| Specifications of Some Phono Cables (measured rates show only relative values) | Parallel Capacitance | Resistance | Length |
| Incognito supplied with Infinity Black Widow | 150 pF | 0.1 Ohm | 120cm |
| Roxsan Cable-TBR | 80 pF | 0.2 Ohm | 120cm |
| SME Old Grey Cable for 3009imp early model | 125 pF | 0.2 Ohm | 115cm |
| Dynavector DV-7C | 115 pF | 0.15 Ohm | 120cm |
| Audio-Craft XTC-TP100 | 70 pF | 0.2 Ohm | 100cm |
| Hand-made from Microphone Cable (Furukawa 2P5-S) | 110 pF | 0.2 Ohm | 120cm |
| Neglex 2526 PT-10 to connect from cartridge terminal pins to Pre-amplifier | 145 pF | 0.6 Ohm | 100cm |
上記はフォノケーブルをテスターで測った参考値です。抵抗値は基本的にホット側の直流抵抗ですが、測定するたびに接触抵抗が変わるので特定しにくい。線間容量も左右で少し違っています(ケーブルを伸ばした時と丸めた時では変わる)。同じようなスペックのケーブルでも音が変化するように感じられる理由は私にはわかりません。古河のPCOCC Microphone Cable 2P5-S(2芯シールド線)x2+独立アース線にAudio Craftタイプのプラグを取り付けたものを常用しています(下の写真)。モガミの旧タイプのプラグも今では珍しい。台紙にした石丸電気RECORD CENTERのGiveawayノート(Ishimaru RECORD CENTERのロゴ入りシャープペンシルもあった)が数冊手元にあります。3号店はSoft3と名を変えて現存しますが盛時の面影はなくなりました(数年前CDを買いに行ったときはまだ「ジャズ・クラシック専門店」ではなく邦楽や歌謡曲も扱っていた)。Soft3を運営する株式会社石丸電気レコードセンターは1985年11月映像・音響ソフトの会社として発足したそうです(本店や2号店などの輸入盤コーナーにまで進出していたのが窺われる)。石丸電気は1966年1月発足、現在はレコードセンターとともにエディオン傘下(2008年100%子会社化)ーあぁ時代だなぁ。

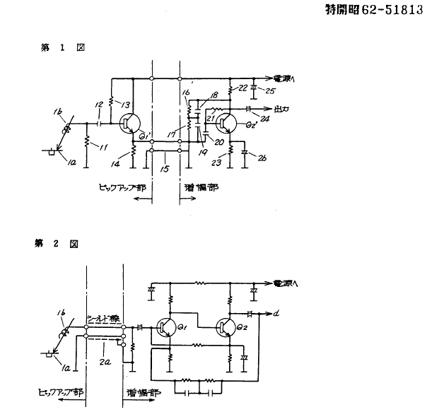
アーム内配線の方法は意外と留意されていませんでしたがトリオは左右分離度を高めるために明確な配線方法を提示しました。

Hot/Cold縒り合わせそのチャンネル間にアームのアース線を通し図の12の曲がり部分では縒りを戻しアームの感度を悪化させない工夫でした。シールド線を使う方法もありますが曲がり部分でアームの感度を落さないためには細くしかも柔軟な線を使う必要があり一般的ではありませんでした。これに関連して、海外モデルのKD-650のアーム内配線には絹巻リッツ線が使われ特許申請中とありました。

以下はSMEの3009impの分解図(Spare Parts ListにフルイドダンパーFD200の記述も有るので1977年頃以降)。アーム直線部内はバルサのライナー(ダンプ材)に線を収めるようになっていますが配線しやすくするため一箇所に結び目(?)があるようです。シェル一体型の方は線の先端に扇形の部品がついていて線を整頓させています。結び目と先端の扇形の部品の間に2個の管状スリーブがありますが、私の初期型のアーム(3009imp)では結び目がもっと前の位置で発泡した太い管に収まっていました。

アーム内リード線の機械抵抗に配慮したアーム構造を提案した特許もありました。Keith MonksのLaboratory Armは水銀槽を使っていますが、以下のものはヨウ化カリウムをメタノールとグリセリンに溶かした液、又は水銀を使うものでした。水銀をユニバーサルジョイントなど可動接点に使うアイデアはもっと古くからあったようです。図の28は宝石軸受けではなく導電性の金属ベアリングなのでアームパイプ>ピン軸受け>アースターミナルとつながっている。この部分はKeith Monksでも同様だがベアリングに固体化したシリコンなどが付着すると導電性が悪くなりハムを引き起こすことがある。

アームパイプに導電性の金属を使いアームアースすればアーム内配線はシールド線でなくとも良いのでしょうが、普及品のアームでプラスチックが使われている場合は内部配線がシ−ルド線でないとハムが出やすいようですがアームの動きが自動化されていることが多く、カートリッジやアームに手で触れる操作がないのでハムは問題にならない。InfinityのBlack Widowはカーボンファイバー強化プラスチックをアームパイプに使っていますが絶縁体に近く特にIMタイプのカートリッジではハムを拾いやすい。シールド線は:1.往路と復路、つまりhotとcoldの配線が同質のものにならない(それを回避するために2芯シールド線などの工夫もある) 2.静電容量が高くなる傾向がある(特に太いケーブルや絶縁皮膜が厚い場合) 3.アームの動きを妨げる などから余り使いたくないのですがハム対策を考えると使いたくなります。既製品のプレーヤでもそのあたりいろいろな考え方とバランスがあるようで、音質が良くてもハムを拾いやすいものや、SNが良くても音質的には物足りないものなど、モデルごとに試行錯誤があり一貫性がないところが面白い。ちなみに電子アームの制動コイルによるハムは測定レベル以下に抑えられているようです(電源を落としてもハムレベルが変わらないのが普通です)。
オルトフォンMC20やZYXカートリッジの開発で知られる中塚氏はシールドケーブルでUS特許(並木精密宝石)を申請しています。図4の構造を持つ図5のようなケーブルを提案しました。Symmetry Response Audio Cord Pat. P. Namikiとプリントされた製品がこれに該当するようです。

以下は松下電器産業の特許公開図面です(公開までで特許取得に至らず)。従来はインピーダンスの高めのMM型ピックアップと増幅器の間はノイズを低減するために第2図のようにシールド線で繋ぐ必要があった(シールド線を使っても必要なSN比が得られない場合もあった)。第一図のようにトランジスター1石のエミッター接続によってピックアップの出力を低インピダンス化してシールド線の使用を廃止する提案でした。Technicsでは製品化されなかったようですが、Yamahaはいち早くMCカートリッジ用イコライザーアンプHA-2/HA-3などでシェルにFETを組み込んだサテライト(衛星)前段アンプを本体のイコライザーアンプで受ける方式を取り、特許公開S54-120516(公開までで特許取得に至らず)やさらに実用新案で特許申請S56-135338(=US4512008)し終に実用登録1839584「小信号増幅装置」を取得しました(但しYamahaのほうは従来のシールド線フォノケーブルの使用を念頭においている)。理論上これらの方式は理想的なのですが一般化しませんでした。
