インテルのおもちゃの顕微鏡(モデルQX3:10/60/200倍)を使って レコードのクリーニングに使うアイテムの拡大画像を集めてみた。画像のサイズと倍率の相関がいいかげんなのはお許しください。
セシル・ワッツの水洗い用ブラシ :その昔パラスタットで有名だったもの。毛先が円錐に加工してあるのは桝谷氏の本で画像を見たことがあるのでその確認。

60x
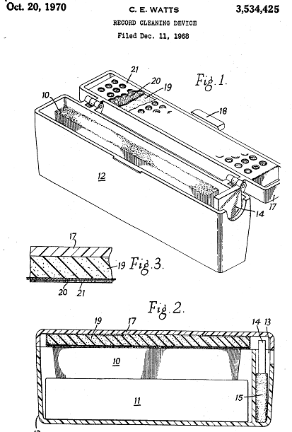
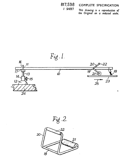
システム商品としてはParastat MKIIAが有名だったーゴムシートの周りにベルベット布を巻いてその間にこのブラシを入れ、スポンジを内張りした金属ケースに入っていた。New Formulaという液剤も付属していたが、水でも代用できた。以下の特許図はParastatの原型(Mark I)。

これより前には同社の”Parostatik" Disc Preenerという同心円のベルベットのなかに水で湿らしたスポンジを入れるタイプがあった。その特許によるとスポンジにButyl Alcoholを静電防止剤として含浸させてあったようだーそういえば独特な匂いがした記憶がある。

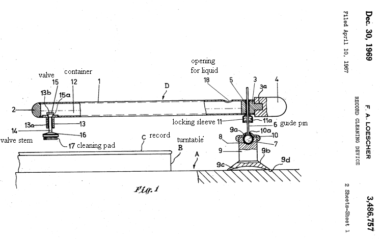
さらに古いCecil Wattsの"Dust-Bug"はロングセラー商品でした。特許申請しましたが特許取得には至っていないようです(1957年特許申請GB817598)。従来ブラシなどで埃を除去しようとしてもレコード盤の静電気によって取れにくかったり盤に再度付着してしまうことが多かった。ローラーで静電気を押さえブラシで掻き出した埃をローラー側に付着させる工夫でした。アクリル製のアームの先にナイロンファイバー・ブラシとスポンジ・ローラーが付いていて、(ブラシと)ローラーには静電防止薬液(洗剤とethylen glycolと水の混合液、もしくは界面活性剤polyethylen glycol 400 monolaurateの水溶液)を添加する。導電性を持たせるためにアーム10と吸盤12等には薬剤(polyethylen glycol 400 monolaurate等)を塗布し、静電気をモーターボード24に流す(代案として吸盤やアームも金属製にする)という趣旨でした。1965頃までの初期型は導電材料としても働く界面活性剤残留塗布方式でしたが、それでは十分で永続的な導電性が保たれなかったのか1975年以降のモデルでは複数のアースワイヤーがアームと平行に張られているようです。

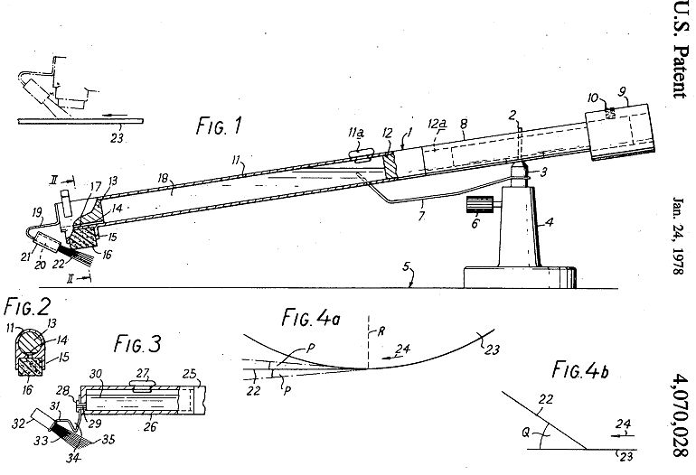
英国のPercy
Wilson(1893-1977)は1924年から雑誌Gramophoneの技術編集者でModern Gramophones and Electrical Reproducers(1929年共著)やThe
Gramophone Handbook (1957)など記念碑的な著作を出版し50年以上にわたってオーディオの啓蒙に尽くしましたが、最晩年に以下の米国特許(英国Metrosound
Audio Products
Ltdに委譲)を申請していました。速乾性の洗浄液(isopropyl
alcohol)を溝の底まで浸透させるためにブラシはθ30〜40度(中間値35度)傾斜した構造でした。次のように述べられています:"As
the record rotates, with the ends of the bristles engaged in the grooves, the
liquid cleansing agent loosens and softens hardened contaminants lying trapped
in the groove and pitted into the walls and base of the groove. The scouring
elements remove the softened contaminants and these are retained on the bristles
by their own stickiness and the surface tension of the liquid, with which they
form a sludge. As more contaminant is removed, it piles up on the bristles and
gradually moves back up the bristles, so that clean bristle ends are always
present to the groove." 同じくPercy WilsonのThe Gramophone Handbook
(1957)でも驚くべきクリーニング方法(潤滑油+酢の洗浄液を塗った後、石鹸水で洗い、水道水ですすぎ、タオルで水分をぬぐい、静電防止液で処理してから"Dust-Bug"を数回走らせる)が示されています。Keith
Monks等のバキューム式record cleaning machineの誕生は1965年AESに寄稿したPercy
Wilsonの文書が基になったと考えられます。ブラシが溝の中のゴミを取るには35度程度傾斜した構造が最適なことについてはRangaveのUSP4449214でも言及されていますがカートリッジについているブラシ(PickeringやShure)はほぼ90度垂直ですね。35度では溝内部へ接触が多くなり摩擦が大きくなるのでカートリッジには使えなかった?
P. WilsonについてはGramophone Museumにリンクがあります:
Percy Wilson Audio
Scientist Extraordinaire (gramophonemuseum.com)
Gramophone1973年4月号にWilsonが寄稿したMY FIFTY YEARS WITH GRAMOPHONE RECORDSに次のようにありました。
"The Modern bugbear has became the intrusion "pops and crackle" due to the
deposit on the records not only of fluff and dust, but also of a sticky
substance derived from smog, tabacco smoke, houshold fumes and the like, which
float about in the atmosphere and are drawn down to the rotating disc by a sort
of vortex action. This substance entraps the particles of grit and gradually
hardens, so creating semi-permanent pops. Methods have now been devised for
removing it, as well as the loose fluff and dust."

話題のデンターシステマ(60x)の穂先はミクロン以下まで尖っている。歯磨きで使っても意外と腰が強く変形しにくいのには感心した。レコード盤に水平にして自重程度の僅かな圧力でエタノール又はイソプロパノール水を掛けながら溝を掃除するとプチノイズが取れることがある。デンターシステマではありませんが同系統の歯ブラシ(Clear Wind EX)を簡易クリーナとして使ってみました。演奏時に使うと盤の外周から内周の音溝まで自動で回転します。根元に竹串を刺したわけは摩擦力で引っ張られる力に対応するものです。歯ブラシの重量は約14gで接触圧は約7gです。盤によって摩擦力が違うだけでなく、水分を与えた時にはかえって摩擦が多くなる場合もあることを発見しました。歯ブラシを飛ばし針を飛ばすことがあるので、良い子(オーディオマニア)は真似をしないでくださいね。。。竹串無しでも清浄な盤では摩擦力が低く無難に内周まで回転しますので、盤が乾いている時のクリーニングチェッカーとして有効ではないかと思っています。下図のようにこの手のクリーナーをダストカバーに取り付け自動クリーナーにする特許公開S53-16602もありました。余談ですが針の近くに繊維パッドを設けレコード盤に接触する摩擦力をリニアトラックの動力とする奇抜な特許公開S53-69002もありました。後述のLencomatic同様に、繊維の代わりにこのようなブラシをカートリッジの脇に取り付けてもレールに取り付けたカートリッジを内周側に運ぶことができそうですが、再生時には清掃用ブラシは使用しないのが原則ですーShureなどのカートリッジの頭に付いているブラシも摺動振動が発生し再生音に影響すると言う人もいます。



神保町の刷毛屋で買ったレコード用ブラシ:天然毛と思われる「SP LP CD 各用」。CDの方で愛用している。かかりにくいCD面をサッと無方向に擦るとCDが再生可能になることがある。CD面のキズを鋭角な毛先のブラシで掻き回すことで修正しているのか?乾いた埃を掃うのに適している。

60x
カーボンファイバーブラシ:エクセルのES-180. これはドイツやイギリスにもあった静電気防止用ブラシで金属で静電気を人間の手を通して逃がしている。埃は集められるが音溝の底に届くとは思えない。又集めた埃がどうなるか分からない。レコード盤の静電気そのものには大して変化が無い。これでは帯電した埃を払うエレキラーというハタキと変わらない。乾いた埃を掃うのに適している。Decca Record Cleanerは2層のカーボンファイバーを使ったものでしたが、DeccaのCooper技師はGB2148106〈1985〉でfibre of aromatic polyamideを組み合わせるブラシを発明しましたが実現はしなかった模様。その特許の中に次の文言がありました:”Carbon fibre brushes suffer from a disadvantage in that dust particles, which tend to accumulate in particular in the grooves of a record, are not efficiently swept out of the grooves by the carbon fibres. The dust particles which are swept out of the grooves tend to be deposited by the carbon fibres on the ridges between the grooves. The carbon fibres are not effective in actually picking up the dust particles from the surface of a record".そこで従来はブラシを2層にする構造にしているがそれでも十分ではないので、(摩擦力が強いがゆえに)保持力のあるaromatic polyamideを組み合わせることを提案したのでした。

60x
レイカのビスコ33:新開発レカロン繊維って何だ? 長繊維が規則正しく並んでいる。
10x
60x
200x
安物のフェース・パッド:大三のCS being cotton special 綿100%。毛羽立ちは少ないが粉状の埃が出る。濡らしすぎるとレイカでも同じだが繊維の絡みがゆるくなり解(ホツ)れる。とにかく安いのでレイカのクロスの代用として水分のふき取りにだけ使っている。




マイクロ・ファイバー・クロス:東レのToraySee K ポリエステル100% まるで孔雀の羽だ!本来は眼鏡の曇り取り用ですが、エタノール25%水でタバコのヤニが付いた盤を拭く時に使っています。



最近話題のメラミンフォーム(同じ溝を再生して進まぬ時の最終兵器かー水に濡らしてその部分を擦ると再生できることがある): これは確かに金属磨きが出来るほど強力だが常時レコードに使ってよいかは疑問。蜂の巣かバラ線barbed wireか!見事な籠形発泡!硬く細い鎖状のメラミン糸で柔らかいゴミを(Dental Flossのように)こそげ取ることになるわけです。繊維化した太さは画像から見ると3ミクロン程度ですー<激落ち>のメーカーサイトでは<髪の毛の20分の1>とのことです。昔に比べると私の髪の毛も細くなったものでマイクロメータで測ったら約50ミクロンでした。私の場合、回転する盤の表面を指で軽く触れることにより盤の汚れ具合をチェックしていますが、大きなクリック音が出る箇所には汚れの粒が目視でも見える場合があり、その箇所をメラミンフォームを濡らして擦るとクリック音が消えることがよくあります。音溝に直角に針を引っかいてしまった長い瑕も、表面をメラミンフォームで軽く擦ることによりプチ音が出なくなることがあります(中の溝深く瑕が達していない場合)。毎回クリック音が出る場所が変化する場合の多くは静電気が原因と考えられています(wet playではクリック音が出なくなるが乾くとクリック音が不定箇所に出る理由も静電気が主だと思います)。静電気は厄介なものですー摩擦と湿度等の再生環境によっても静電気の発生は変わる。雨の日にレコードを聴くといい音と感じることがよくあります。静電気は針とレコードの摩擦によって発生するのでZerostat(USP3997817)などのピエゾ・ガンはレコードを演奏し終わってスリーブにレコードを収める前には埃を払いやすいので有効です。演奏前に静電気をとっても余り意味がないのではと考えますが、その使用者(信者さん)は如何考えているのでしょう? USP3997817からの抜書き:"For example, consider a hi-fi record with positive static charge on its surface resulting from some prior treatment of the surface. With a pistol producing first positive charge and then negative charge, squeezing the trigger releases a stream of positive ions into the atmosphere. These positive ions are repelled by the positive ions on the record surface. When the trigger is released negative ions are ejected from the pistol and in this case there is an attraction between these ions and the positive charge on the record surface. The negative ions therefore drift towards the record surface and on reaching it either neutralize or minimize the external field effects of the static charge. It should be noted that once neutralization or field minimization has been achieved there is then no net attracting force for charge to move to the record surface." ..............."In practice it is found that the anti-static pistol can neutralize a surface of area of at least one square foot when the pistol is held some one to two feet from it. For best operation it is advisable to squeeze the trigger of the pistol slowly, then wait a short time for the appropriate charge to diffuse away from the muzzle of the pistol before releasing the trigger slowly and generating the counter charge at the muzzle. Rapid operation of the trigger is undesirable for two reasons. First, if both the positive and negative streams are released almost simultaneously then neutralization occurs between these two streams and there is then little charge available for neutralizing static at the surface of the object to be discharged. The second disadvantage of rapid operation is that higher voltages than normal can be produced across the piezo-electric crystal which may result in internal breakdown. In some cases it is desirable to limit this voltage by incorporating within the pistol a simple spark gap 15 which flashes across when improper operation of the pistol is attempted." 因みにサファイヤ針の方が静電気を発生しにくいようで、合成サファイヤ針が見直されたりダイヤに導電材料を埋め込んだ再生針が将来登場するかもしれません。
メラミンフォームの固めのタイプのものはエタノールや水などを吸い込みやすいので、水分のふき取り用スポンジとして最適ですーターンテーブルを回しながら(液が外周に向かうので内周から)擦らずに角を当てるだけで見る見る水分がメラミンフォームに吸い込まれます。普段は水分ふき取りに綿パッドなどを使っていたのですが、糸くずが残りやすい。メラミンの耐薬品性も問題ないようなのでしばらく試してみることにしました。角が黒ずんだらハサミでその部分を切り取りますーしかしこの枠構造は壊れやすく崩壊したメラミン糸くずが溝に残ります。何事も程度問題で、何をやっても何かは残るので、汚れの種類と効果のバランスが大事だと思います。清掃とは結局:ゴミをなくすのではなく都合の良いところに移動する整頓作業です。タバコを吸って空気清浄機を回す、毒を飲んで薬を飲む、もとの原因をなくす方が良いのですがなかなか止められません〔分かっちゃいるけど止められない]。拭き取り方向の考察:レコード針のトレースと同様に反時計回りに拭くのが一般に常識とされているようですが、プチプチ雑音を取るには濡らしたメラミンフォームで時計回りに拭くことがお勧めです。レイカの解説に時計回りに拭くと溝に毛羽立ち(バリ)を作ると言うような説明がありました。しかしプチプチ雑音など既に何らかの物質が張り付いているような場合には時計回りの拭き取りの方が有効な場合があります。ラッカー盤をカッターで刻む時、方向性のバリが生じますが、その方向性はスタンパー製作までの数回のメッキ形成により失われると思いますので、プレスされた市販レコード溝に方向性があるとは到底考えられないのです。従って、「レコード針のトレースと同様に反時計回りに拭くのが常識」は単なるご流儀の問題です。
200x
エレキラーというハタキはベルベットクリーナー等で払いにくい静電気を帯びた埃を盤から払うのに最適で重宝しています。払子のような形状で細かい繊維からできており、埃がこれにくっ付くこともありません。20年前の製品で「静電気00ゼロゼロ」とありました。現在は見当たらない製品ですが、アクリル繊維・ナイロン繊維に硫化銅を化学結合させた有機導電性繊維サンダーロンに似た物と考えられます。穂先が煤汚れたら洗っていますが効果は変わりません。サンダーロンも中性洗剤を使用する限り性能劣化が少ないとされています(ハイターでは導電性が劣化)。オーディオ用となると10倍近くの値段で売られているのはオーディオをバカにしているとしか思えない。針先ブラシも眉毛ブラシなら100均程度だがオーディオ用では数倍。元々酔狂な趣味にケチをつけるのは無粋ですが。。。液晶ディスプレイの埃取りにも使えます。帯電列という用語を最近知りました。+側を左に−側を右に各素材ごとに並べて帯電傾向が分かります。塩化ビニールやアクリルは−、ガラスや人体は+側に帯電しやすいそうです。
ベルベット・クリーナーAT6018(湿/乾両用)を調べてみた。このATのクリーナーの中で一番高い製品はクリーニング液湿度が一番長持ちするだけで安いものと本質的には違いがない。ベルベットは洗濯すると少し<方向性>がなくなってしまうので、<寿命が尽きたら使い捨て>とあきらめた方がよさようだ。現在は面倒な湿式クリーナーは使っていません。

60x
乾湿の境目に静電気除去帯がある(下の画像の白い導電繊維)。取手を指でつかむことにより静電気を逃がしている。上の画像の青い撚糸はベルベットの付け根で先端ではない。
60x
200x
ベルベットとは<絹の縦糸を毛羽毛にしたもの>だそうだが毛先そのものは1本ずつの繊維になっているようだ。上の200倍画像ではみにくいので光学式のものOlympus MIC(300倍)(これも昔のお子様用顕微鏡)で再確認した。
試しにレコードの音溝の画像も取ってみた。200倍画像では焦点深度が取れないので反射した光跡しか見えない。よほど明るい光線をあて焦点距離極小のレンズでみないと撮れない。ボンドパックして剥がしたフィルムでは溝を下側から見た画像が取れます(右端の画像)。
60x
200x
ボンドパックして剥がしたフィルムを見てみました。レコードに接触していた表面にごみが取り込まれています。

25%エタノール液で盤を拭くと、
1)生乾きで直ぐトレースすると針にタール状のものが付く
2)後でカバーや盤に虹模様(レイカでも同じ現象)が出たり、拭き残しの部分にくすみが見える
これらの現象は盤表面の油+埃の汚れが浮き出たことを示すように思います(清潔な布で拭き取りを十分にすれば解決します、又乾いた後のWatermark状のものはマイクロファイバークロスなどで簡単にふき取れます)。盤内部の油成分まで溶かし出しているかは疑問です。
99.5%の無水エタノールに切片を入れてから2年たちましたので顕微鏡で観察しました。盤から<含有する有効な油成分?>が抜けてポーラス状態になっているか興味津々でした。切片なので音質評価は出来ませんが、溝には特に変化がない(x60では見えない)タワミ弾性も十分。ちなみにPVC自体の溶剤はジオキサン(Diethylene
Dioxide)で、PVCの薬剤の耐性は比較的優れているようです(理科年表1994年版)。他所には<塩ビ樹脂は、酸、アルカリやほとんどの無機薬品に侵されません。また、芳香族系炭化水素類、ケトン類、環状エーテル類には膨潤あるいは溶解しますが、これら以外の有機溶剤には溶けにくい特徴があります。>とありました。但し、レコードに含まれる他の成分についての耐性は不明です。
以下の中古盤上のWatermark状のものは上記とは別種類のもので厚手のポリ内袋が盤に張り付いた跡が水洗いやブラッシングしても消えません。これは「レコードスプレー」や「帯電防止潤滑剤=保護コート」がポリ内袋を溶かしそれが盤面に転移した(接着した)結果でしょうか?あるいは30年以上盤と密着して圧縮していれば樹脂の転移が起こりうるのでしょうか?音溝内に転移が達していないので見栄えは悪いですが音質上は影響がないようです。このように一見似ていてもその原因は様々で音を聞くまではよく分からないのが中古盤の面白さ(当りと外れがある運試し)でしょうか?柏化学工業の特許公開S56-32573「レコードスプレー」ではレコードスプレーの功罪(残留成分がレコードのSN比に与える影響)が詳細に述べられていました。

普段針に付くゴミを観察すると、空気清浄機に付くゴミと同質のモノのようです。即ちタバコや油で絡まった埃(*註)や糸くずやフケです。レコードには普段の管理が大事でクリーニングの必要が無い方が良いに決まっていますが、どうしても汚れてしまった盤には一時的に薬剤を使っても良いのではないでしょうか? 後に残らないで蒸発するアルコール類は使っても害がないのではと思います。前述のごとくこれで残ったと感じるものは十分に拭き取れなかった油と埃ではないでしょうか? 10年単位で見ないと実際の薬害は分からないと思いますが、エタノール(C2H5OH)やイソプロパノール(CH3CH(OH)CH3)などアルコール類(炭化水素の水素原子を水酸基(OH)で置換した化合物の総称)は溶剤としてシャンプーやボディソープによく含まれていますので環境や健康被害は少ないことが予想されます。パラベンは防腐剤として使われますが、色素+防腐剤+香料など添加物のないボディソープも低アレルギー対応で出ているようです。アルカリや酸を含む物やシリコンやイオン交換や静電防止効果など特殊効果のある薬剤もありますが、試してみないとしかも長い目でどうなるのかを考えないといけないと思っています。註:黄砂など10ミクロン以内の浮遊粒子SPM(Suspended Particulate Matter)には、石英や長石などの造岩鉱物や、雲母、カオリナイト、緑泥石などの粘土鉱物が多く含まれているそうです。
針に付いたゴミの画像:お見苦しいところをお見せします(笑。針の頭だけはきれいなので音には直接影響がない?

ところでレコードに油脂を添加する目的は<可塑性補助><保存安定化><トレースをよくするため>のどれなのでしょうか? 山本氏によるとレコード材料は<塩化ビニール87%、酢酸ビニール13%程度の重合体樹脂に安定剤として金属石鹸(㊟参照)と着色染料を若干加え混合し練り合わせたもの>だそうです。安定剤としての油脂は変質しないのでしょうか? トライアソシエイツのスクアランTR−30の効能書きのひとつに<LPレコードのクリーニング>がありますが実際に使用した記事は見当たりません。試しにエタノール水に添加してみましたがうまく混ざらずエマルジョン(乳液)にはならないで小さな粒粒になってしまいました。不活性な不乾性油 (沃素価0)のスクアランC30H62の少量添加は良さそうに思えますが、問題は後処理でしょう。カバーなどに転移しないように注意するーPEの内袋がスクアランに触れたところがふやけて皺になる。エタノールだけでは皺がよらないのでエタノールが溶かした盤の油がPEを侵すことがあるようです。因みにスクアランは肌の保湿液として100%のものがCOOPで売られており、自家製の化粧液を調整するのにも使われているそうです。C/H/Oの組み合わせに疎い素人ではどうにも分からない!
㊟小学館の国語辞典によると:【金属石鹸】 高級脂肪酸、樹脂酸、ナフテン酸など、アルカリ金属以外の、金属塩の総称。水またはアルコールを溶媒として、アルカリ石鹸と金属塩との複分解沈澱法によるか、酸と金属酸化物または金属水酸化物と直接反応させてつくる。油脂の乾燥剤、グリースの増粘剤、塩化ビニル樹脂の安定剤などのほか、防水剤、殺虫剤、殺菌剤、加硫促進剤、化粧品、医薬品、農薬など用途が広い。
【高級脂肪酸】 炭素数の多い脂肪酸の総称。グリセリンとのエステル、すなわち油脂として高級一価アルコールとのエステル、蝋などとして動植物界に広く存在。表面活性剤などに用いられる。
【表面活性】 液体に溶かすとその表面に集まり、液体の表面張力を著しく低下させる性質。
【表面活性剤】 表面活性を有する物質。せっけん、合成洗剤、アルコール、テレビン油など。界面活性剤。
エタノールで拭いた後に大分経って取り出してみると盤に縞模様が出ていました。ゴミの取り残しかと思ったのですが簡単に拭き取れます。後日、観察するとまたまた同じ縞が出ている! なんと内カバーの皺模様でした。紙が中芯でレコードが当たる所と外側はフィルムの内袋(フィルム<レコード>3ply:フィルム/紙/フィルム)があります(ソニーや東芝が一時期採用していた)。この場合紙は腰を保つために入れられたらしい。フィルムだけでは腰がなくジャケットに収める時、クシャクシャになる場合があるので。。。このフィルムはPEじゃなかったのか、それともPEでもエタノールに侵されるのか? そういえばこのカバーにさらに内側にカーバーをしているのを中古盤では良くみかける。皺は盤が触れない外側にまで発生しているのでエタノールのせいではないようだー何もしていないmaster soundシリーズの内袋にも多かれ少なかれ皺が発生しているので質の良いカバーではなかったようだ。紙のカバーでは縞模様はでないのでカビやムレが原因なのかもしれない。PEのカバーの厚さは普通0.03mm程度ですがSupraphonやNonesuchの内カバーに四角の穴なし厚手フィルムをつかっているものがあり非常に具合がいいのです。
エタノールは表面張力が弱く溝底の油+埃を軟化しますが、
普通のブラシやコットンパッド(シルコットは粉が出ないようにレーヨンの袋に入っているが他のコットンパッドよりもさらに溝壁に入り込みにくい)では溝の底に届かないので
結局軟化した泥土を伸ばしているだけになる恐れがある。
洗剤と同様に水洗いの前処理として使うのが効果的なように思います。 追記:表面のレーヨンを従来の1/3の極細繊維にしたというシルコット・シルキー仕立ては一枚が大きめになっており経済的ではありませんが使いやすくなったと感じます。
盤面が脂ぎっていると感じたときは弱アルカリ性のSIMPLE GREENを300倍程度に浄水で希釈した薬液を盤面にスプレーしてから拭き取る事もしています(これはボロンさんから教えてもらいました)。
レコードの洗浄は対処療法で闇雲に一定の処置で良いかは疑問です。 熱帯魚水槽の水管理を思い起こします。 汚れを取るフィルターには: 大きなゴミを取る物理処理=スポンジや石を積層したものの間を通す。 小さなゴミや有害物質を取る活性炭処理。 PHと水質を整えるイオン交換樹脂など。 PHが下がりすぎた場合の緩衝剤=重曹添加等。 1つだけでは十分ではありませんし時期を選ばねばならない。 汚れの少ない水草とエビだけの水槽では、餌をやらない限り環境負荷が少ないので何もしないのが良い。 汚れの程度と具合によって一時的な処理は問題ないが環境を劇変させる物だけは止めた方がいいと思います。<真実は一つ>は確かなのですが、実際の汚れの形態は様々ですので対処法も変わるはずです。水道水に含まれる塩素の量は水道法施行規則(厚生省令)第17条3号によれば「給水栓における水が、遊離残留塩素を0.1mg/リットル(結合残留塩素の場合は、0.4mg/リットル)以上保持するように塩素消毒をすること。ただし、供給する水が病原生物に著しく汚染されるおそれがある場合又は病原生物に汚染されたことを疑わせるような生物もしくは物質を多量に含むおそれがある場合の給水栓における水の遊離残留塩素は、0.2mg/リットル(結合残留塩素の場合は、1.5mg/リットル)以上とする」とありますが、実際のタップから出る水には渇水期や増水期などによっても0.1-1ppmと変化があります(地域偏差もあります)。それを中和するハイポの量も変わるはずですが、熱帯魚用途のものは無差別に一定量とされています(一般にハイポの量が多すぎて塩素量50ppm程度をめどにしている仕様もあります)。 因みに熱帯魚水槽内の水草の半分以上の種は本来水中で結実する植物ではありません。挺水植物=抽水植物である有茎草の環境適応能力には驚かされます。本来の環境(根は水中の土で葉は水上)よりも完全水中など特殊な環境で生育させると面白い葉芸を見せます。多摩川の中流域でパロットフェザーの群生を見ました。近くの池でも或る夏にオオサンショウモが繁茂し排水管を詰まらせました。誰かが捨てたのでしょうか?どんな趣味でもご趣味は内々にして拡散させてはなりませぬ。一番始末に終えないのが同好の士かも知れません。群れたグループは傍目にはおぞましい。
超音波クリーナーは私の実験で高い超音波出力(MHz)を直接当ててはいけない事がわかりました。30kHz前後では内部共振が少なく<表面だけのもみ洗い>になるので問題は生じないようですが、内部が変化しないかはよく分かりません。また自作超音波クリーナーではその出力が十分ではないのか水だけでは溝のゴミが取れにくいようでした。
ボンドパックについては半信半疑でした。剥がしたフィルムで溝の写真を取れないかと、洗浄とは別な興味から試してみました。サンプルを試した感想は以下の通りです。 匂い: 部屋で処理をしても普通の酢ビのように匂わないので良い。 色: 透明。白い木工ボンドはタルクかカオリンが入っている? 粘度: 一定の厚さに塗るのに適当な伸展性があり初めての私でも塗りやすい。 表面張力で塗ったハズの所から液が引いてしまい満遍なく塗れなかったので2度塗りしてしまいました。外周に盛り上がりの山がないレコードには、液が貯めにくいので難しそうです。 乾燥: 16時間室内で自然乾燥(無風の所だと結構時間がかかる) 剥がれ易さ:綺麗に1枚モノではがれて気持ちよい。 効果: 溝の底の埃がとれたか顕微鏡で観察しました。 剥がしたフィルムをIntelの玩具で覗いてみました。 実際の音のほうですがプチプチは激減し<大変良いです>。 盤肌が荒れないか・静電気が心配だったのですがそのままでOKでした。 感想: 基本的には片面処理ですからソフトの枚数の多い人や気の短い人には不向き。 海外でこれに似た製品が出ない理由も分かるような気がします㊟。 手馴れないと(コツをつかまないと)ちょっと難しい。 でも、これはというレコードなら試してみる価値はありそうです。
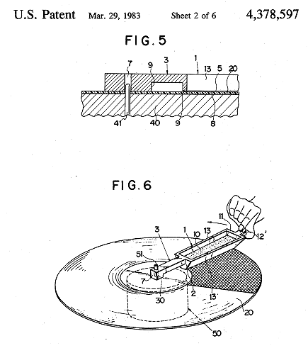
㊟ドイツにDISCOFILMと言う製品があるが糸状になったものが溝に残るとかで概して不評のようです。その組成はポリビニールアルコール+エタノール+トリエチレングリコール+精製水だったようです。US Patent No.4199375-1978 by Muller in Germanyには次の記述があります:the polyvinyl alcohol serves as a film forming substance, the ethanol is an alcohol which serves as a grease dissolving agent and further serves to dilute the film forming substance, the softener serves to reduce the surface tension of the mixture, and the distilled water serves to dilute the mixture and soften dirt particles. ナガオカ(Jeweltone)のRECOPACKはライオン(株)のUS Patent No.4378597/4455636〔日本では1979年実用新案出願1981年公開]によるもののようですーapplicatorの形状がそっくりです。液の成分はpolyvinyl alcohol or vinyl acetate as film forming material, mixture of water and alcohol as solvent, polyether silicon as peeling material, polyoxyethylene alkyl amine as anti-static agent, and a little amount of plasticizerの由。ライオンのパテントではMiltyのPixall(US patent 3958292-1976)にも言及し<粘着テープ方式では盤の表面は綺麗になっても音溝内のゴミを取り除くことはできない>と評しています。ナガオカ+信越化学は例のラバーローラータイプのクリーナでUS Patent No.4128909-1978を取得しています。

パテントの中にはおかしなものも多いです。例えばUS Patent No.3652314-1972 invented by Castnerは”Method for renewing, resurfacing and preserving phonograph records"と題して特殊な調合物を盤に塗りこみ薄膜として表面加工する方法が提示されていますが、レコードを実際に聞く人の発明とは到底思えません。それなら昆虫標本などのようにレコードごと透明レジンに封入して飾っておいたほうが良い!似たものではDiscwasher社に寄与されたUS Patent No.4084540-1978 invented by Maierでは埃のないレコードを密閉ケースに入れ薬液の”燻蒸”によって潤滑及び保護用dry filmを盤上に形成する方法が示されていました。このMaier氏はDiscwasherのクリーニング液のformulaで米国特許3951841-1976も得ています。その洗浄液のレシピは以下の通りで幾つか異なる配合比率も示されています(いずれにしても魔法の水ではありません)。sodium azide(アジ化ナトリウム)は研究用試薬の防腐剤としてごく微量だけ用いられることがあるそうです。
A fungicide, such as sodium azide, at unprecedented low levels to attack ubiquitous fungi on the phonograph record surface;
An emulsifier, essential for cleaning, particularly for accumulating the particulate surface contamination;
A surfactant useful for wetting the surface to provide for fuller action of the foregoing ingredients;
An alcohol for rendering the surfactant of normally low aqueous soluability more soluable in the liquid carrier, and to enhance the lipid cleaning attributes of the composition; and
A liquid carrier, such as water, preferably distilled water, to provide the vehicle for supporting the cleaning ingredients.
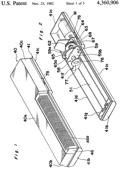
スイスのレンコ社はLenco Cleanという追加アーム式レコードクリーナーで盤をただ湿らせるというより水の薄膜を形成するWet Playを流行させました。液のFormulaは「僅かの中性洗剤を蒸留水に添加したもの、もしくは60%エタノール+40%蒸留水」とのことです。発明者のLoescherは独逸(ノイマン社?)の技師Hirschと共に”Long-Term Durability of Pickup Diamonds and Records”の題名で1974年米国AESへ寄稿しています。その論文を私は読んでいませんが、Frank Wonnebergのレコード事典Vinyl LexikonのWet Playの項には「1974年LoescherとHirschが実証したようにWet Play時の摩擦力はDry Play時より1/3に減少する。針と溝の摩擦力の減少によりダイヤ針の寿命も延び、またターンテーブルのSpeed Driftも減少し、アンチスケート・バイアスも少なめに設定する必要がある」と述べられています。「物事はそれほど全ての面で万々歳とは行かない」と天邪鬼な私は思っています。このレンコの特許の中で従来の静電防止液剤について次のような指摘があります:In addition, "anti-static" liquid has a important drawback in so far as they form a paste together with dust, such paste having the characteristics of a grinding agent in view of its composition. As a result, this paste damages record and needle at least to the same extent as dry dust. Moreover such paste will eventually dry and harden and form crusts on the needle and in the grooves of the record and impair the sound quality quite considerably. These hard crusts or deposits separate upon wiping of the record and lead to additional scratching of the surface and to a further increase in undesirable noise. 以下の特許図は初期型のオリジナルで1977年頃からはLenco Clean "L"となり静電除去効果をもつクリーニング液(?)が付いたものになりました。80年代に入ってLencomaticと称してダストカバーに取り付けクリーニングと静電除去を行う装置も発売されました(金属性の端子にてセンタースピンドルに接触し静電気を逃がすリニアトラックタイプでしたースイスのRudolf Laengによる発明に基づいていて日本でもS53-57001として公開されました)。wet playの効果は直接摩擦を少なくすることよりも、水の薄膜により静電気の発生が少なくなる効果の方が大きい、と考えますーどちらの原因でも同じようなものですが。。。

バキューム式クリーニングマシンは洗浄液を盤に塗布してからその液を吸入するのが普通ですが、乾式バキューム・クリーナーもありました。下は70年代初めにアメリカで発売されたVACORECのポータブルクリーナーの特許図です。slot(18)から吸気してblower wheel(42)によって排気する「自動はたき」の類です。日本でも大成産業による同様の特許「電気掃除機利用の自動レコードクリーナー」特開S55-67902/特許1172629及び特開S55-28582/特許1105820がありました。

日本ではバッテリー駆動のレコードブラシが各社から発売されましたがその嚆矢となるのはLo-D(Hitachi)/Maxellのスピンドルを中心に自走する方式でした。発明は九州日立マクセルの技術陣なので、Maxelllブランドの製品名はAE-341ですがLo-Dブランドでは各種発売されました。

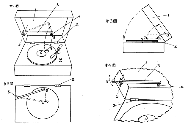
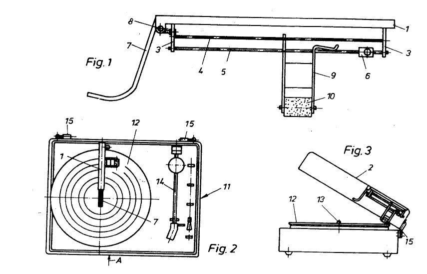
針先のチェックについて実用新案的な工夫としては小さな鏡をプレーヤーボードのカートリッジの近くに設置するものや(Sanyo
TP-1200)、アームをアームレストにおくたびに針先にブラシが触れクリーニングされるものなど(下図)があります。私も市販のブラシをボードに接着し使ったこともありますが、問題はブラシもいずれ汚染されそのゴミが再度針に付いてしまうことでした。鏡のほうも試したことがありますが針先がよく見えないのが難点でした。針先のクリーニングについてはいろんな方法があります:@揮発性のある薬剤をブラシにつけてクリーニングする(今では環境に害があるとして生産中止になったFreon
FTが最強のcleaner/solventだったそうで多くのプラスチックを侵食しない特性がありましたー現在は界面活性剤やイソピルアルコールの希釈液が多く使われているようです) A粘着性のある油粘土の様な物にくっつけてゴミを取る Bエアーブラシ(軽い埃には有効) Cメラミンフォームなどでゴミを擦り取る(メラミンフォームを薄く切って使うと具合が良いようです)。LASTのstylus
cleanerはアルコール類を含まないのですが、無害で無益(つまり使わないのと同じで”しつこい汚れは取れない”)と評されています。
LASTは幾つか米国特許を申請していますがどれも似非科学に基づいていて信用できません。例えばUSP5389281 Composition
for protecting vinyl recordsではThe
friction between stylus and record may heat the vinyl locally to temperatures
near the melting point, and may embed any particles present in the
grooves.と妄想しています。
LPの内周速度は約20cm/sで音溝に局所的に摩擦熱を加えるとすれば0.2mm/ms程度になりその速度時間であれば火に手を入れても無事なのと同様に変化がないはずです。ダイヤモンドの針に摩擦熱が蓄積してもダイヤモンドの熱伝導率は全物質の中で最大レベルなので影響があるとは思えません。圧力による一時的な溝の変形も軽針圧の場合はトレース後に元に戻ることが報告されています。そうでなければrepeat
functionのあるレコードプレーヤーは欠陥品になってしまいます。同じレコードは24時間以上置いてから次の再生をすべきというのには根拠がありません。ただ教訓的な意味はあると思います:それぞれの再生を享受しやたらに繰り返し再生することは止める(オーディオマニアは時に印象的な部分だけを繰り返し再生してしまうことがありがち)。

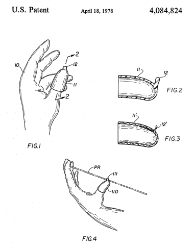
レコードの扱いに不慣れな初心者のための指貫も発明されました。レコードの曲の導入部分が皮脂により一番汚染の影響を受けるので、レコードの扱いには注意すべきでしょう。導入部分の一部に摩擦抵抗が大きい汚れた部分がある場合が多く、中間部は比較的汚れが少ないのです。終わりの部分には針から落ちた埃などが集積しやすいので全般に雑音がのることが多い。レコードの掛け終わりに、固めのメラミンスポンジ片を水をつけずに針先を擦って次のレコード演奏に備えることを私は習慣にしています。ジャケットや内袋からの出し入れにもレコードの録音部分に触れないように注意し、取り出したレコードはFig.4のようにレベール部を親指で押さえレコードの先端を他の指で挟むか、両手で両端を挟むようにする。分かっているようでウッカリ録音部分を片手でつまんでしまうことがある。[皮脂はその場では無害だが、後々固まって汚染になる]

トークシステム(株)はレコードを水洗いなどで洗浄する時、レーベル面が濡れないようにする器具で特許申請しています(特許公開2004-30711)。直径10cm程のラバー・Oリングを使って同様のものを自作する人もいます。2011年韓国の金さんが特許申請したLP洗浄システム(KR101239831)は同様にレーベル面を保護した上で薬液槽に付けブラシで洗浄し別の槽で脱水する二槽式洗濯機でした。
レコードのクリーニングには各人それぞれご流儀があるようで、何でもかんでも一定の処置に拘る人々がいます。私は<ある現象を消滅する>ためにいろいろ試して分かるのは<手段の効能>よりもむしろ現象の形態<在りよう>の方ではないか、と思いますーつまり適材(剤)適所もしくは適宜。
scratch noise: 溝に直角方向の引っ搔き傷(不注意から盤に傷をつけてしまった)。これは直りませんね。ただカートリッジによってはその音が気にならなくなることもあります。数周同じ場所で異音が出るので気になるだけです。傷より音楽を聴くべきです。
pop noise: プチプチや突発ノイズ(音溝に異物がある)。これは繰り返し再生やクリーニングによって異物を取り除けば減少する可能性があります。中古盤を再生するたびにノイズが少なくなる場合が多くあります。あまり焦ってクリーニングしないで「ある程度時間をおいて聴くこと」が一番の解決法のように感じます。野蛮な方法ですが爪で突起状異物を溝に沿って引掻いて取り除くこともあります。
dry play noise after wet play: これはwet playでラッセルした後音溝の上部縁(land)にゴミが溜まって乾いた場合が多いと感じます。盤の不整形の一種horn(landに出るバリ)と呼ばれるものにその現象は似ています。盤が乾いた状態でベルベットクリーナーでごみを払うだけです。wet playした盤は次もwet playする流儀はお薦めできません。但し静電気ノイズにはwet playが有効です。
針先は再生後メラニンスポンジなどでクリーニングしましょう。特にwet playした後は針に黒い異物がこびりつきます。盤にも針から落ちた大きめの異物が残ってザラザラしています(針のトレースによるフンコロガシ状態)。乾いてから払いましょう。個人的にはwet playはお薦めしません。従前の方法「乾いた盤をベルベットクリーナーで埃を払う」が一番のように思えてきました。初めはクリーニングに凝るが、今では普段の簡単な手入れで十分と感じる。
異物の転移:盤を超音波洗浄機やボンドパックなどで徹底的にクリーニングしたときは盤が乾いてから新しい内袋に入れましょう。古い内袋(inner sleeve)は汚染されています。
主に外周部で片チャンネルから出るシューシューという音は重針圧のカートリッジや水平感度の低いアーム等で音溝を痛めた場合に起こるようで、これは直りません。本当に音溝を削ってしまったのですね。SPからLPへ移行した1950年代中古LPでよく見られる現象です。スピーカー及びカートリッジのダンパーの過渡特性が改善すると気にならなくなる場合もあります。
skip: ノイズではないのですが、針が内周に進まないで同じところを再生してしまう盤があります。その時は焦ってクリーニング等せず、落ち着いて次の音溝に針を落としましょう。無理にその部分をいじるとかえってこじらせてしまうようです。時間をおいて何度か再生しているうちに自然に針が進み解決している場合があります。その原因が異物の除去か傷の再生(塩ビ盤の復元力)か、どちらかは分かりません。とにかく傷は音溝深部には達しないものが多いのです。SP時代には再生する針の形状や針圧を変えて傷のない部分を再生することが行われていました(固いシェラックのSP盤には復元力はない)。
残念ながらアームの調整(針圧やアンチスケーティング調整など)ではこれらノイズは改善できません。
普通の環境でレコードを聴いている場合、「レコードは(いずれ)汚れるもの」と覚悟した方が気が楽です。以前は蓋をしないでレコードをかけていましたが、今はレコードプレーヤ―の蓋は閉めておくようになりました。一般に業務用ターンテーブルに蓋がない理由は即時のレコード交換が使用目的だからです。
添加物の種類と目的:
可塑安定剤(混合や可塑成形の時、主材の分離や塩酸ガスの発生を防ぐ)
静電防止固形剤(レコードの溝に埃が蓄積するのを防ぐ)
カーボン・ブラック(レコードに一様な色と光沢を付ける)
離型剤(型からレコードが離れやすくするー離れにくいとレコード溝が変形する事が多いので)
このRCA特許の趣旨は<従来のように材料を一度に全部混ぜ合わせるのではなく、段階を経て混ぜることで、4チャンネルステレオ溝のような高密度の音溝成形を可能にする>。従来の混ぜ方ではポーラス状になる部分が多く4チャンネルステレオ溝を刻んでも耐磨耗特性が悪かった。
望ましい組成例:
酢ビ(重量比13-16%)と塩ビの共重合体60−70%
粘度0.65の塩ビのホモポリマー懸濁液26.2−36.2%
1と2の合計は96.2%でなければならないとしている。
硫黄を含まないorganotin salt(安定剤)1.6%
大豆油(可塑剤)1%
N,N-bis(2-hydroxyethyl)-N-(3'-dodecyloxy-2'-hydroxypropyl) methylammonium methosulfateをイソプロピルアルコールと水の混合液(混合比1:1)に溶かした50%溶液1.2% (この静電防止剤1.2%はレコードプレス後の重量比では0.6%になる)
エステル化したワックス(離型剤)0.4%
181オングストローム(0.0181ミクロン)の粒度のカーボン・ブラック0.2%
3/4/5/6のような添加物は上記の数値がレコード内部に同化できる最大値でそれ以上多いと雑音の多い不良盤が出来やすい。
他の資料(US Patent No. 3846361) を見ると樹脂の溶解にトルエンなどを使った(70年当時普通の?)レコードも存在しそれは密度が低く音質的にも良くないらしい(ワッフルや南部煎餅でも固いものから柔らかいものまであるのを連想させます)。材料を再利用する時の溶剤にもトルエンやベンゼンが使われたようです。わざわざVirgin Vinylと謳ったアメリカのレコードもありました。但し、トルエンなどの溶剤は静電防止剤の配合に見られる溶剤同様、揮発して最終的にはレコード内には含まれないようだ。余談:プレス不良などによって廃棄されることになったレコード盤を再利用する場合、レーベル紙が混じると再生PVCペレットの品質が落ちるので、レーベル面を打ち抜いたり大量の水やワイヤーブラシなどで紙を除去する作業が必要だったようです(内外で幾つか関連特許が見つかります)。
東芝の赤盤時代の静電防止剤:ソースはUS Patent No. 2993234 assigned to Toshiba(1961): METHOD OF MANUFACTURING ANTISTATIC RECORD DISKS
この特許の趣旨は以下のような帯電防止効果のある物質を検討しています。
陽イオン系: Quaternary ammonium salts/Alkyl pyridinium salts
陰イオン系: Aliphathic alcohol phosphoric acid ester salts
非イオン系: Polyoxyethylene glycol alkyl esters/Sorbitan aliphatic acid esters
Ampholytic系: Imidazolin type/Betain type
ビニール主剤の試料は日本ゼオンの各種グレード品を実験に使っていました。
| Trade names | Compositions | Average polymerization degrees |
| 400x15OP | Vinyl chloride-vinyl acetate copolyer (12-15% vinyl acetate) | 450 |
| 400x15OM | - do - | 600 |
| 400x15OL | - do - | 400 |
| 103EP-8J | Vinyl chloride-vinyl acetate copolyer (3% vinyl acetate) | 750 |
| 103EP-8 | Vinyl chloride only | 800 |
| 103EP | - do - | 1,050 |
添加剤の種類と量だけでなくプレス時の温度や圧力も変えフローの状態まで観察した膨大な実験データには驚かされます。東芝の赤盤にどのような静電防止剤が使われたかは不明瞭ですが論文の趣旨から予想すると陽イオン系のstearamidopropyldimethyl-β-hydroxyethyl ammonium nitrateが使われたようです。以下は当時のEverClean Recordのロゴマーク。因みにANGEL STEREO AA7176はヒンデミット・ステレオ自作自演集と題されヒンデミット指揮によるホルン協奏曲(ホルン奏者はデニス・ブレイン)とシンフォニア・セレーナ。

塩ビ盤の物性を改良するアイデアについては日立電線の鎌田さんが提案しています(日本特開S60-261003/特許1743351)。従来のレコードディスクは「スタンパ成型時の転写性を重視して平均重合度が400〜600の比較的低重合度のものが使用され...<中略>
硬度が低く、次のような問題を有する」と少し大げさに述べられています。
(1)硬質塩化ビニルといっても低重合度のため材質的には軟らかく、レコード演奏の際にスタイラス(針)と音溝の間の軽い噛み込みを起こす。この噛み込みはスタイラスを支持するカンチレバーのストレインとなって現れ、次の信号の時点ではストレイン開放を起こす。この繰り返し動作は非常に遅い位相歪みとして音質の劣化を起こす。
(2)ブラシでもってクリーニングする場合、レコードディスク表面が摩擦力でもって削られ、これが表面に付着物として残るだけでなく、溝の形状を損ない、音質の劣化を起こす。
潤滑剤の有無について: 針の摩擦による磨耗を防ぐための潤滑剤についてはハッキリしたことが分かりません。US Patent 4,232,072(1980)に過去の液状潤滑剤ならびに個体潤滑剤の記述がありますが、実際のレコードにどの程度応用されたかは不明です。加工材料の中には含まれていないようです(潤滑の働きや磨耗を改善する材料は含まれている)。後付の表面潤滑剤は除去しても構わないのではないでしょうか? そういえば天花粉のような微細パウダーを潤滑剤にしているレコード保護スプレーもありました。レコード材料に使われている滑剤とは離型剤の方を指しているようです(日本コロムビアの公開特許S59-30846「レコード盤用配合材料」)。生産性を高めるため(不良品の頻度を少なくするため)に滑剤が使われるので、少量生産では使わない方法もあるようで実際の配合比率は秘密にされている場合が多い。
本来は埃などの磨耗成分も防ぐ静電防止剤は<半永久>とされていましたが、数十年を経た今となっては表面に析出してかえって摩擦を増やす要因になったりもしているようです(バックコーティング付きオープンテープも数十年経つとコーティング+接着剤が腐りヘッドにくっ付いてヘッドをすり減らしてしまうことがある)。数十年前のレコードを聴くほうがおかしいのか? 元々寿命なんて考えていないのが商業製品です。私の経験では長くほったらかしにしているレコードはレコードの内部から何かの析出があるらしく、かさぶた状になっていることが多くクリーニングや再生を繰り返すことですっきりした音になることが多いと感じます。クリーニングよりも普段レコードを聞くことの方が大事だと感じます。千枚以上のレコード・コレクションを持つ人では全てを聞くのに数年掛かりますね。勤め人だった頃、私は帰宅してから就眠するまでに毎日2枚以上聴くのを日課にしていました。「日中に受けたストレスをレコード音楽で解消する」意図だったと思いますー毎日が日曜日の現在でもその習慣(悪癖?)は続いています。