一般には平らなシートが使われていますが、変形したレコードでもうまく支えられるように考えられたものや下からの振動を抑えるハウリング対策として特殊な形状のレコードマットも考案されました。

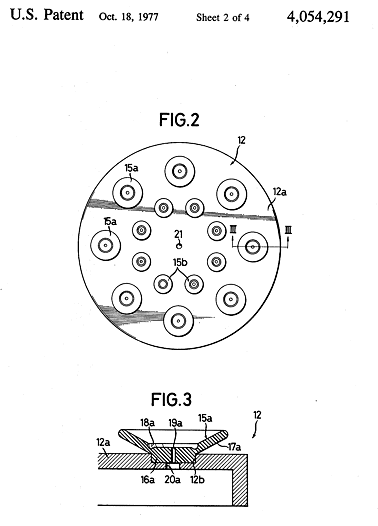
上図はソニーのPS−4750などに採用されていた吸盤付マットです。これに先立つソニーの別の特許(3997174−1976)はシリコンオイルなどを充填した水枕形式のものでプレーヤシステムPS-8750 & PS-X7、 ターンテーブル TTS-8000に採用されたようです。下図のaはレコード変形量の意味です。特徴的なのはガラスビーズや金属粉体などを流体の中に混ぜて振動をダンプ減衰する工夫でした。さらにUSP4079946ではその発展形としてプラッターとマットを一体化し、プラグから充填液を注入する方法も提示されました。


大阪のHohyu Rubber Co., Ltdはいろんな形とそれに合ったゴムの柔らかさの配合と各種素材を提案しました。

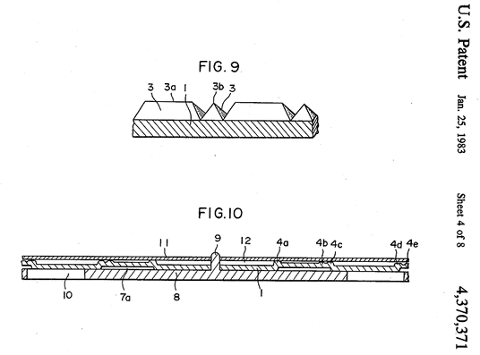
変形したレコード面でも支えられるように分散突起部を持つ形状として図の11−19が示されています。図の20−23は普通に見られる従来型です。




次の例はデンオンのDP-7Fのマットです。平らな面がレコードに接触する表面ですが、アルミのプラッターに接触する裏面はリブ形状で接触面積を少なくしハウリング対策をしています。これは上の画像の23a/23bを裏返しにした形です。上の図のように異形表面は埃りなどが溜まりやすく実用上望ましくありません。でも、面白いことに裏返してDENONの文字が見える面を表にして使っている人もいますが、マットの端の断面形状(台形)からもレーベル面が凹んでいる方が表です。平らな方を夏物、リブの有るほうを冬物として使うのも面白いと思いますー実際に音の表情が変わりますーレコードに全面接触より数点接触の方が音が伸びやかに感じます。Hi-Fiと気持ちよい音は別だとつくづく思います。レコード接触面直径が28.5cm程度でレーベル面を凹ませることによりレコードの音溝面に密着させる形状が普通です。28.5cmとレコード幅より小さいのは30cmLPのグルーブガードの部分を避けるためです。マットの中間にある凹みはEPに対応しています。EPはグルーブガードがないものが多いので、このDENONのマットでは立ち上がり直径は172mmでした(グルーブガードを考慮した場合は168mm以下が望ましい)。一般にレコードサイズより小さい理由は単に各サイズのレコードを取りやすくするためなのでしょう。レコードの規格形状については別ページ(英文)をご覧ください。


ターンテーブルシートは天然ゴム・ブチルゴム・シリコンゴム以外にもセーム皮・豚皮・フェルト・ガラス・セラミック・大理石・御影石・鉛などいろんな素材が考えられ使われてきました。東レの導電性繊維を使ったマットは特許公開(S55-150102)されました。最近では東京防音の全面ハネナイトのマット(4mm厚)なども商品化されています。但し、ノルボルネンゴムNOR(内外ゴムのハネナイト・日本ゼオンのノーソレックス)やシリコンゴムの転移性については私は疑念を抱いています(ターンテーブルマット用製品には何らかの表面加工や対策が施されているかは不明です)。静電防止効果を持たせるためにカーボンブラックをゴムに混入させる日本特許1243123(特許公開S52-33502)を英国の紙製造所が得ています(発明者はインド系英国人)ー面白いことにこの特許申請は本国には見当たらないので、日本以外では相手にされない発明分野となっていたのではないかと感じます(下の素材の乱痴気騒ぎ参照)。最近も内外ゴムによるハネナイト・ゲル複合マットも開発販売されています(その内容は特開2013-93079参照)。ゲルだけの場合の転移性を改善し扱いやすく改良されたものとのことです。
プラッターそのものの素材もアルミ・ステンレス・銅合金(青銅・砲金)・亜鉛合金・ガラス・アクリルなどが使われています。又その複合材や表面処理したものも使われています。東芝の特許(S53-119002)は主に石英ガラスを使い、外周にストロボパターンを刻みLEDで回転を見るものでしたが、実際に製品化されたものは見たことがありません。
プラッターやマットの材質によって音質が変わる効果(振動反射)が特に注目され始めたのは70年代後半からでした。どうもその流行(素材の乱痴気騒ぎ)は日本起源だったようです。以下の特許はその歴史背景も語っています。1がスピンドル受け(金属)、2は透明プラスチック(アクリルなど)、3は接着剤(これは省略可能)、5はガラス板、6の導電性ライニング(金属箔)は1に接触して静電気を逃がす仕組み。「柔らかいマットは信号ロスが生じる」「従来の金属製プラッターでは固有振動の問題から逃れることはできない」との主張ですが、「スペクトラムアナライザーで0-2.5 kHzの範囲を測定した時、ガラスとプラスチックの組み合わせたプラッターでは振動に対して10dB以上の減衰効果が得られた」こと以外データを一切提示していませんーこれは上記の東芝のガラスプラッターでも同じで、単に素材の音伝達が早いとか遅いとか素人並の論点を超えたものは見当たりませんでした。基本的には材質が<solid=伝達が早い>,<soft=遅い>のですが早いものにはダンプ効果は期待できませんし軟らかすぎるものも信号ロスが生じますーその加減の適否についての言及や研究は見当たりません。マニアさん達の方がこれらについていろいろ経験していると思います。ただ興味深いことが幾つか述べられています。
It is only necessary to go back to 1978 to find turntable
platters for high quality record players first being widely provided with a
"mat". This accessory was able to ensure greater fidelity in sound
reproduction as it acted as a damping means for the primary spurious vibrations
(set up by the tracking of the stylus over the groove surfaces on the gramophone
record) and of secondary spurious vibrations from the plinth, with both sets of
vibrations being amplified by the resonance of the metal platter. The
introduction of this feature appears to have provided an appreciable but--as
will be seen later on--insufficient improvement in the sound reproduction
quality.
The most critical point of the sound reproduction chain "arm-gramophone
record-platter-plinth" of a record player is without doubt the platter,
which is still today being made of metal alloy, owing to the high resonance of
sound which is a distinctive property of metals.
The rotation of a gramophone record on the turntable platter is always
accompanied by vibrations produced by the stylus tracking the side surfaces of
the groove. These vibrations are a few microns in amplitude and generate
spurious vibrations throughout the entire pickup system: gramophone record, arm,
platter, plinth.
Such vibrations can be detected by listening to their propagation across the
platter and plinth with the aid of, for example, a doctor's stethoscope placed
under the plinth.
The generation of spurious vibrations is therefore inevitable. They are
transmitted in the air at a velocity of 343 m/s, while the velocity of
propagation in metals is about 6000 m/s.
Turntable platters for record players built up to now, as stated earlier on, of
metal alloy, constitute a true centre of resonance for the vibrations.
In order to attenuate disturbances generated by such vibrations in HIFI
equipment, use has been made--as already mentioned since 1978--of mats placed
between the gramophone record and the platter. These mats are made of various
materials such as: chamois leather, pigskin, rubber, caoutchouc, plastic,
silicone and so on.
Yet another type of cover is used consisting of a thin-walled container filled
with oil.
However, such mats are not free from defects which could actually give rise to a
loss of sound information.
Such loss can exceed 2 dB at certain frequencies with a certain amplitude,
therefore it is perfectly noticeable and can appreciably change the timbre of
certain instruments. In all cases, the mat can only absorb part of the spurious
vibrations.
Furthermore, when the mat is thicker than 3 or 4 mm (some are up to 7 mm thick),
it is necessary to adjust the pickup arm height in order to restore the
horizontal position of the pickup head, and prevent increased distortion. This
operation is not easy to carry out in a fault-free manner.
To sum up therefore: the problems linked with turntable platters of today are:
(a) a resonance effect due to the metal alloy of which the platter is made; and
(b) the insufficiency of the mat to absorb parasitic vibrations without
detracting from the quality of the sound reproduction

ところで、すべり止めのためなのか又はレコードの変形を矯正する目的なのか分かりませんが、ハード系のターンテーブルシートには基本的にスタビライザー=重石を載せるのが普通のようです。
スタビライザー関連の特許を探してみましたら面白いものがありました。
1つは従来のものと変わらない形式のものです。ドイツのFrank氏が発明しオランダのSound-Source International社に譲渡したUS特許です。1はターンテーブル、2は音響的にカップリングの少ないライナー(マットの材質は不明)、3がスタビライザー。ライナーはレーベルを受けるところとグルーブガードの部分を凹まして全体のダンプを目指しています。実用新案的に頭12には水準器13を付け、外周11にストロボスコープ16を配しています。重石を載せるとレコードが皿状にしなることがあります。レコード自体のソリを矯正するのにどの位の重量が必要かは不明です。私は330gと600g程度の2種類を持ってはいますが常用していません。ソリを矯正するよりも、カートリッジを含めたアームの実効質量を少なくしてソリの影響を少なくする方が賢明。

もうひとつはRecord optimizer system and method of utilizationと題したもので、高さ調整とセンターだしをするものです。矯正用基準板や音質調整板や測定板を各種用意し最適化するというものです。図の34がレコード、34Aはレーベル面受け、112はレーベル面最適化板、114は基準版、22Aは測定板、118は調整軸、16はレコードの重石。このサンドイッチ状態のものを本来のターンテーブルに載せるという大げさなものです。一般のユーザーには非実用的なものですが、レコードを別のフォーマットに移す必要がある場合には有効かもしれません。

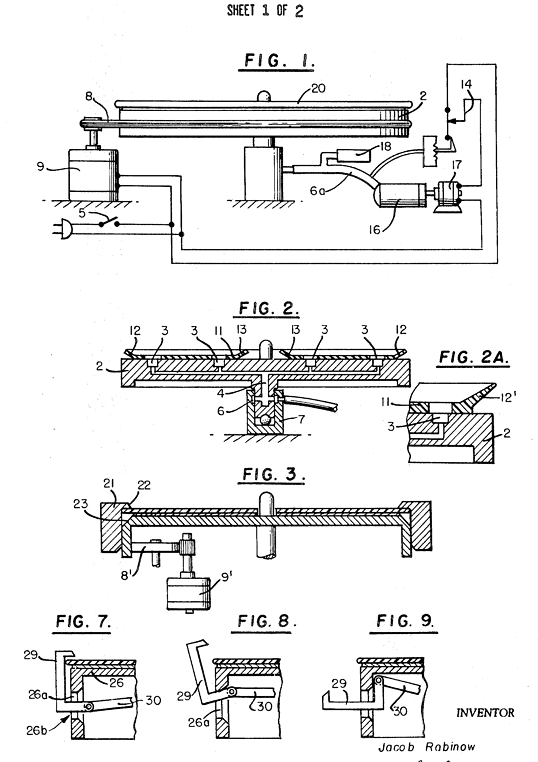
多少ワープのあるレコードでも、レコードとマットを一体化して再生音を改善する工夫も古くからありました。代表的な発明はRabinowのUS patent No. 3,608,909[RECORD-FLATTENING TURNTABLE]で空気圧で吸着する方法(FIG.1-2)とレコードの縁を爪(FIG.4-9)や重力(FIG.3)で押さえる方法が示されています。どこが最初に実用化したかは不明ですが1980年頃、ビクターのターンテーブルTT-801で真空ポンプでの吸着が製品化され、重力で押さえる形式は33cmのターンテーブルの外側に鍋蓋のように被せるKenwoodのスタビライザー(DS-20/21)で製品化されています。上のRecord optimizer system and method of utilizationと同様に、普段レコードを聞く人の便宜を考慮していない製品なので一時的なものに終わったようです。たまにレコードを聞く人やフォーマット変換に従事する人たちには有効なのでしょう。それでも忘れた頃に、過去を知らない人には目新しい製品が登場します。最近のVPI STAINLESS STEEL RING CLAMPやCLEARAUDIO OUTER LIMIT LP STABILIZER & LOCATOR RINGやSound FountainのThe Universal Record Stabilizing RingはKenwoodと同じようなタイプです。まさに<手を替え品を替え>の類です。特許にはならなかったが木村幸弘氏は特許公開S56-65306にて盤上の針位置により共振が異なることに言及し「公知の内周及び外周スタビライザーだけでは、レコード盤は太鼓状になるから防振効果は無い。防振布はこの有害な空隙を埋めかつレコード盤にプレストレスをもたらす。防振布はナイロン製の毛足0.4±0.1ミリメートルの繊維」として三重ダンプを提案しました。私はレコードにストレスを与えるような器具の使用は好みませんー共振も歪も素直に受け入れる卑怯な諦念を抱くようになりました。



古い発明図面を見かけました。鋳物のターンテーブルは時間が経つと変形し、薄い金属板プレスは共振しやすいとして、木質繊維の2枚のマット上にレコードの音溝部分を置き、ねじ込み式のクランプでレコードを押さえワープしたレコードでも平らに保持すると言う、あまりにも先進的なものでした。当時の金属プレスのプラッターは問題が多かったと見え、1922年別の人によるUSP1410234では積層材木の表面に滑り止めとしてフェルトを張り外縁を金属で巻く工夫が示されていました。

レコードとマットを一体化したり音溝とマットを接触させる事とは別方向のアイデアもありました。以下はGB2256303−1992からの図面でマットは小径で紙やフェルトや皮やコルクなどで作る。「レコードがマットと接触する面積が少ないので雑音エネルギーを盤とプラッターの間の空間に逃がすことが出来る」という主張です。従来の方法(レコードとマットを一体化したり音溝とマットを接触させる事)では振動反射が起こるから振動を十分に抑えることは困難だとしています。私も同様の実験したことがありますが、「エネルギーが空間に逃げる」事よりも接触面(盤→針→アーム)にフィードバックすることが多いと感じました。マットが盤面の数点に多少とも接触していることで振動を完全に抑えることが出来なくともかなり減衰することが出来ますーそれで今では従来のゴムマット支持派になりました。マットの材質や形状によってかなり音質は変化しますので後はお好みかな?単一マットとは別の方法は異種金属プレートやダンプ材による減衰です。私は金属プラッターに圧電ポリマー塗料を塗ってダンプした上にゴムマットを敷くことなどを試しています。何処で雑音エネルギーを消費させるかを考えるのがダンプの基本だと思います。屈折(ダンプ)した音がすきなのか、それとも発散(非ダンプ)した音がすきなのかー音質は好みですね。


1979年創立のカナダのOracle Audio Technologies社はターンテーブルDelphiなどで有名になりましたが、その創立者Marcel Riendeauは特殊なサスペンション方法を発明し各国で特許申請しておりました(CA1131133/GB2063547/JP56071804などで公開までで特許に至らず)。サブシャーシを3点バネで支持している外見は普通ですが、レコードのレーベル面外周を抑えるクランプ部に特徴があります。レコードのラベル面をマット上のスぺーサーで支え、レコードの上面のラベル領域の周縁部に圧力を加え、レコード下面の音溝領域をマットに吸引接触させ、「それによりレコード内の振動をスタイラスよりむしろマットに伝達する」。レコード内の振動は何に由来するのでしょうか?ターンテーブルの振動やプレーヤ外部からの振動でしょうか?私は針と盤の摩擦によって発生する盤振動の方が外部振動より問題だと思いますーそれがマットの材質により音質が変わる主原因だと考えます。

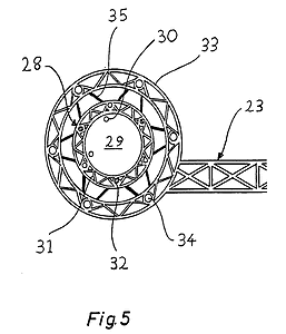
これについては非常に長い歴史がありますー金属バネ・空気(アクティブな送風圧からパッシブなゴム鞠まで多様)・オイル(ダンプや槽に浮かべる方式から油圧ドライブターンテーブルまで)・磁石の反発などで浮かすのですが主にバネによるものが主流です。以下はUS Patentですが1921年からの関連パテント番号も載っていました。この最新特許?は接触面積を少なくして振動を遮断しようというピン受け方式です。面白いところは、プラッター(Fig.1−4 &10−12)だけでなく、ベース(Fig.5−6),アーム(Fig.7−9)まで徹底しているところです。もちろん実用化はハテナですが弾性材料を使うことが多い中でこのようにリギッドな手法は珍しい。



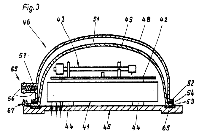
ベルトやリムドライブのターンテーブル機構(サブシャーシ)のサスペンションには古くは圧縮型スプリングが使われていましたが、現在は吊り下げ型(つまり引きバネ)が多く使われています。その理由のひとつには押しバネより引きバネの方がリニアだからなのでしょう。以下の特許では共振周波数は2−3Hzに設定するようにサブシャーシ上の重さとバネのバランスを考えています。Fig.3はFig.1上の3の断面図。Fig.5はFig.2上のカウンターウエイト構造図。アームと回転部を直結せずに弾性材を通して軽量化されたアルミパイプ製のサブシャーシに取り付けそれぞれの固有振動とサブシャーシと筐体間の共振周波数と重ならないようにするものでした。モータが筐体側に付きプラッターとアームがサブシャーシに付く構造では、モーターとプラッター回転部間にベルトのテンションが働き横方向に引っ張られるはずなのですが、その点には全く触れられていません。ベルトの張力でサブシャーシ上の重量バランス(=アンバランス)を相殺して水平を保つことができるのでしょうか。<The lower the frequency of the oscillation of the mass and spring combination, the greater will be the decoupling. The decoupling is effective when between the natural frequencies of the platter assembly and the tone arm assembly which are generally 8 Hz and 1.5 Hz respectively>とありサブシャーシと筐体間の振動はアーム振動と回転部振動の中間周波数をとる時、振動が有効に遮断されるとしています。アナログ機械の肝は振動なのは分かりますがそのコントロールは大変ですね。図のアームはSME3009SeriesIIIが想定され、プラッター部品はフランスのターンテーブルメーカーERAの部品を転用している。アームの自然振動数が1.5Hzというのは初耳ですが、アームパイプの固有振動数の事を指しているとすれば、もっと高い周波数ではないか疑問に思います。


以下はトーレンスのTD520(1985)のSwing Chassis構造図ですが、従来のコイルバネの換わりに横方向にずれにくい板バネのサスペンションダンパーが採用されています。

70年代後半のトーレンスのサービスマニュアルには面白いことが書いてありました。大抵プレーヤの配置は部屋の隅が強度が高いので良いとか、床からの振動をさらに遮断したい時はコイルバネの間に少量の綿を詰めて振動の影響が少なく調整するなど。

Hamish Robertsonは1971年にAriston RD11を設計し70年代末にはFONS CQ30も設計し、後者のターンテーブルにはT字型のサブシャーシに以下のようなバネが3組使われていました。ちなみにAristonはスコットランドの機械加工下請工場Castle Precision Engineering Ltdにて製造されたもので、リンも当初は同じ工場で製造されていたのでAristonとLinnの初期の部品が共通だったそうです。マニアに好まれるアナログ機器はそのユニークな設計者が製造会社よりも有名になることが多く見られます。リンの創設者Ivor Tiefenbrunの父親Jack(=Jan) Tiefenbrunはオーストリアからの移民で1951年織機の工場を興し、現在はIvorの弟MarcusがCastle Precision Engineering Ltdの社長をしているそうです。

磁気反発でターンテーブルとアーム部を浮上させるアイデアもありました。モータ部の配置などについては言及されていません。図の28と30の上下のテンションワイヤーで横方向のズレに対処する方法が提示されています。せっかくの上下振動遮断もこれでは無効になり、ターンテーブルとアーム部の重量から反発力を引いた実質の重さとワイヤのコンプライアンスで低域共振が起こるはずです。Thorensのプレーヤの製造所の一つLahr Geraetewerk GmbHも糸釣り(US4325133)やバネとピストン(US4098513)によるサスペンションを発明していますが、実際に適用された例を知りません。

逆に磁気の吸着力を利用したIsolatorでContinuum Audio Lab Pty(オーストラリアの新興ハイエンドアナログメーカー)は特許申請しています(特許にはなっていないUS2009296272と同じ)。Caliburn turntableの土台の構造を示しているようです。Cobraと名づけられたアームは現在の傾向とは逆の方向のかなり重いものでそのデザインD599790は米国特許申請されています(一見カウンターウエイトが見当たらない特殊な構造に見えますがカウンターウエイト部までもワンブロックで構成され針圧を変えるためには調整ウエイトを追加するようですー質量集中型アームの極限を目指しているようです)。

再生時の音圧による空気振動(airborne vibration)の影響から逃れるために、レコードプレーヤ主要部(Fig.1)または丸ごと(Fig.2)カプセル化してから減圧するユニークな(実現性のない)アイデアもありました。ドイツ特許申請DE3318788 (A1) ― 1984-11-29。図1の33は減圧機構、36は防塵フィルター。図3の65はゴムのパッキングリング。図3の場合は二重にシールして中間空隙部51を接続部55を通して減圧するという徹底ぶり。floor base & airborne vibration対策としてはリスニングルームの隣の部屋にレコードプレーヤーを設置する方がよっぽど現実的です。これと似た発想でアームパイプ内部を真空化したカーボンファイバー製の英国特許申請GB2482655-2010(Evaculated sealed tonearm)もありますー発明者Craig MilnesはWilson BeneschのDesign Directorですのでいずれ製品化されるかも? 真空中では媒体が無いので音波は伝達しないんですね。


英国の特許申請で面白いものを見つけました(GB2287120-1995)。レコード保持、カートリッジ保持、アームやターンテーブルマットまで徹底して個別にdampする工夫が示されています。冗談かと思いましたがThe Real Sound Companyから実際モデルが出ているようです(イタリア人のサイト参照:http://digilander.libero.it/bellocaddo/turntablesgalleryRZ.htm そこの一番上の画像)。イタリア人は珍奇なものを日本人以上に好むようです。
Spindle
Mat
Double-deck turntable
Tone-arm
Cartridge shell
2010年頃米国のMerrill Williams Audio LLCからThe R.E.A.L. 101 Turntableと言う製品が出され、2013年米国特許8406112も得たようですが、R(ubber),E(lastomer),A(coustic),L(aminate)を商標にしています。上の個別ダンプに比べればむしろ伝統的なデザインを集合させただけの製品に思えます。
それにしても適宜、手を替え品を替え新製品が出るのは犯罪の手口と似ているように感じます。過去を知らない人や新しもの好きがこれらに引っかかります。そして新しく買った物を次々にレビューしてはやがて使わなくなります。有ればいいなという程度のアクセサリーは大概他のもので代用できる。
Turntable mats available in Japan as of Dec 2006:
Non-repellent rubber mat of NOR(Norbornen rubber): ULTIMA TURNTABLE MAT
Suede leather mat/slip-mat for DJ play?
Surface finish of damping alloy (Black Metal=M2052 Mangan/Nickel/Copper/Iron alloy) powders on polycarbonate plate
Tapered gun-metal plate
Mat of AKTON Polymer (material from USA)
(Action Japan in Kobe is a supplier of nursing
equipment)
I find another material in UK: Dycem Non Slip http://www.dycem.com/
These materials are used as nursing item for handicapped person.
Jelmax mat seems to adopt similar material.
Mat of carbon block
The following were shown further by famous shop "Kimura Musen" in Akihabara:
TU-800EXi : special sheet made of paper fibres. This item got Year 2006 Award by enjoythemusic.com.
M-Mat: a mat of carbon fibres (Millennium Audio Vision in Germany)
AT-6278: Audio Technica Mat of NOR on Aluminum plate plus additional soft plastic sheet for tuning
RS-912: composite made of fo.Q using piezo-electric effects as damping. This item got Audio Excellence Award 2006 by Audio Accessory magazine in Japan.
M-Felt-Mat: made of felt (Millennium Audio Vision in Germany)
Stereo Guide 1984 Vol.20 issued by Stereo Sound in Japan listed many mats of various marials and purposes: fine-ceramic, marble, butyle rubber, crystal glass, combination of felt and rubber having electric conductivity, cowhide, granite, heavy (5kgs-10kgs) lead plate for additing inertia on turntable, non-magnetic stainless, aluminum alloy, copper alloy and so on.
My reference book around 1970 simply commented that "Too soft mat
or deteriorated/hardened rubber mat is not good. Medium soft rubber mat is suitable for damping
both the record and metal platter."
But later after mid '70s, there came many pairs of hard mats and stabilizers.
So I am puzzling what is truth. I think some tweaks might be effective depending
upon circumstances
but not applicable for every turntable.
I currently return to using standard/conventional rubber mat with medium hardness for my auto-players.
Stabilizer is used only when the records have warps.