アームの実効質量の大半を左右しアームとの接続が問題となるシェル周りでは過去にいろんな工夫がなされていました。シェルとアームを一体型にすれば少しは問題が減少するわけですがカートリッジを頻繁に交換して楽しむ風土にはなかなか馴染めない物だったようです。
過去の工夫の幾つかを紹介します。

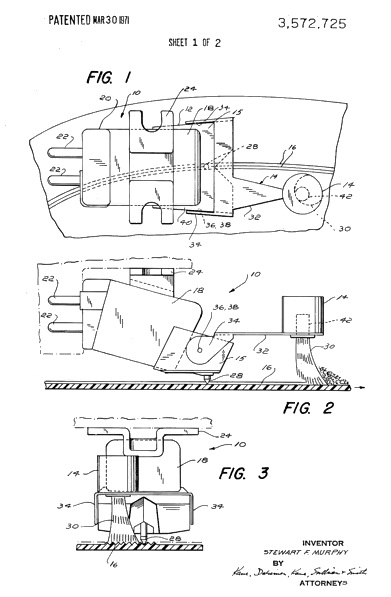
上の写真はマイクロのプレーヤーでアームはMA-505タイプですがシェルコネクターのところに変なバランサーが見えます。これはマイクロとは関係ないFinal KKC-48で<アームの先端部に取り付け、カンチレバーの不要な横方向の振動を低減させる>とありますがストレートアームでないタイプに取り付ければかえってLateral Balanceが崩れる優れものです。この製品は次の特許に基づいているようです。

ヤマハの家田氏のUS特許=日本特許公開S52-124305(1977)はFINALの考え方に似ていますがダイナミックなラテラルバランスを取ると同時にアームのダンピングも図っています。実際に製品化されたかは知りませんがリニアトラックアームを開発する過程で発明された模様です。おおよそ次のように述べられています:従来のアームでは初動感度、トレース能力、低域共振ピークの減少、アンチスケートおよび静的なラテラルバランスなどについては十分留意されている。しかし再生時カートリッジの針の振動のためアーム支点や針以外のアームの一部で起こる二次共振の反射が再び針に伝達されノイズとして再生されることやアームのベース接続部を通してプレーヤーの外部振動が針に伝わりノイズとなることは考慮されなかった。最近ダイナミックダンパーを設けたアームがいろいろ考案されている(Fig.2-4)が、ダイナミックダンパーを設けたことによりトーンアームの回転モーメントが不安定になる欠点もあった。これらの欠点を改善するためにトーンアームの支点とヘッドの間にダイナミックダンパーを設けると同時にダイナミックラテラルバランサーを付けることによりダンパーによるアームの動的な捩れを補償する。


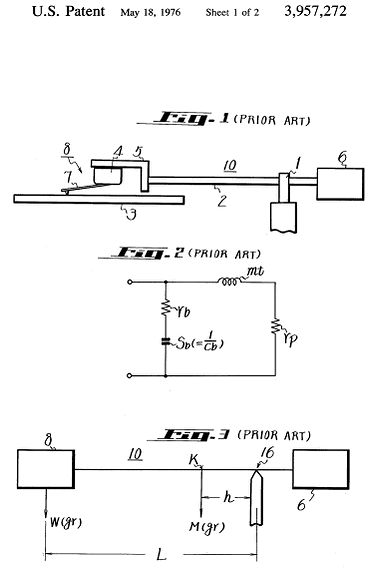
1975年頃ソニーの中島平太郎を中心とする技術陣はカーボンファイバーのオーディオへの応用をいろいろ試みました。カーボン複合材アームを搭載したPS-6750/8750、カンチレバーがカーボン繊維とアルミの複合材のカートリッジXL-35/45などの開発背景にはそれぞれ関連特許があります。カーボンクラッドシェルについてはソニーの安田氏の特許(下図のUS3957272)が該当するようです。カーボン繊維と樹脂だけでは表面が滑らかにならない(見栄えが悪い)、アームの実効質量が小さいほど応答が速い、などと説明されていますが実際に製品化されたシェルSH-160は12.5gで理論=理想とはかけ離れたものになっています。実効質量の軽減の点ではシェル一体型(integrated)・ストレートアームが理想なのですが、カートリッジを頻繁に替える日本ではシェル交換タイプのアームや重量級アームがマニア的には主流で、カートリッジとアームが一体型になった実効質量の点では理想的な軽量アームは80年代以降の廉価プレーヤーにむしろ多く採用されています。1975年はカーボンファイバーの当たり年だったようで、パイオニアのアームPA-1000(PL-1800)とシェルPP-312(7.5g)に炭素繊維成型品を使っています(テクニクスのシェル一体型・ストレート・アームEPA-102には炭素繊維ヘリカル巻きテーパーパイプとCFRPのシェルが使用されていました)。同じ炭素繊維でもその使い方(短繊維、長繊維、編込みtextileや積層laminate等)とそれを固めるレジンの種類や混ぜ方にそれぞれ工夫があるようです。「炭素繊維とは、アクリル繊維またはピッチ(石油、石炭、コールタールなどの副生成物)を原料に高温で炭化して作った繊維」だそうです。
素材は少し違いますがグラファイト(黒鉛)の応用についてパイオニアも内外で特許を申請しています:US特許4161580
Arm pipe for record player tonearms (a composite material consisting of a thermoplastic resin and graphite
powder), 4269416 Head shell for record player tonearms、4366205 Tone-arm
elementsなど。薄片の方向性を揃えてレジンでバインドすると柔軟性が良いと報告している(特許4366205):"The
modulus of elasticity is substantially increased when graphite flakes are
oriented in one direction, preferably parallel to the surface of a molded
product. Graphite flakes have a thin disc- or platelet-form and preferably have
an average particle size of about 0.1 to about 20 microns, particularly about
0.1 to about 5 microns. An improvement in modulus of elasticity attributable to
graphite flakes and satisfactory moldability can be expected and such moldings
are free of embrittlement when about 10 to 90 parts by weight of graphite powder
is combined with 90 to 10 parts by weight of the resin component. An outstanding
improvement is achieved when about 50 to 75 parts by weight of graphite powder
is combined with about 50 to 25 parts by weight of the resin component".
松下電器も巻芯の上にカーボンファイバー・プリプレグ(熱可塑性樹脂を沁みしみこませた樹脂複合体)とグラファイト・フレーク積層シートを重ねて巻いてから過熱硬化し心棒をはずして成型するアームパイプで米国特許4390382(日本特許公開S57-18001/特許1341051)を申請していました。カーボン繊維の剛性を表すヤング率(E)について「繊維に直角方向の剛性は、ほぼ母材のそれであってカーボンファイバーの複合化の効果はないといえる」と指摘しています。トリオは多層カーボンファイバーを円筒形にしその先をすぼめたシェルを発明していました(日本特許1286851)。
最近のヘッドシェル製品ではオヤイデのHS-CFにCFRP(17層プリプレグ材)が使われているそうです(2007年発売)。


1980年前後レコードプレーヤOnkyo PX-3F/5F/6F/8F/55Fにはストレートアームが搭載され「ADCタイプ」着脱式カーボン・ファイバー製ヘッドシェルが付属していました(8Fはアームパイプもカーボンファイバー製/55FはDDとしては珍しいフローティング・サブシャーシ)。そのADCタイプシェルとはアームADC
LFM-2(日本製?)に付属したネジ止めdetachable shell(オフセット角付きシェル)のことを指しているようです。シェル固定型のストレート型アームの方がLow
Mass化の点では有利なのですが、例によってカートリッジを頻繁に交換して楽しむマニアには一般には受け入れられなかったようです。シェル側にオフセット角が付いた専用シェルはDenonやSonyなどオートプレーヤに採用されましたがそれらは基本的に互換性が無く、中古のプレーヤではシェルがカートリッジごと欠品していることも多いので購入の際には注意が必要です。余談ですがスピーカーシステムで有名なInfinity
Systems, Inc.もBlack Widowというカーボンファイバー製のアームチューブを持つ軽量アームを1977年に発売しましたがその設計者の一人は日本人でした。
他にシェル関連のUS特許を調べていたら次の特許を見つけました。


| Table 1 | ||||
| Material | Density (g/cm3) | Sound velocity (Km/s) | Coefficient of | |
| Longitudinal wave | Transverse wave | linear expansion | ||
| x10^(-6)/℃ | ||||
| Aluminium | 2.69 | 6.420 | 3.040 | 23 |
| Titanium | 4.58 | 5.990 | 2.960 | 9.4 |
| Iron | 7.86 | 5.950 | 3.240 | 12 |
| Copper | 8.96 | 5.010 | 3.270 | 16.7 |
| Magnesium | 1.74 | 5.770 | 3.050 | 25 |
| Brass | 8.6 | 4.700 | 2.100 | 13 |
| Stainless steel | 7.91 | 5.790 | 3.100 | 16.4 |
| Silicon nitride | 3.27 | 11.000 | 6.200 | 2.5 |
| Sintered alumina | 3.96 | 10.300 | 6.345 | 8 |
| Sapphire | 3.981 | 11.000 | 6.400 | 5.8 |
| Silicon carbide | 3.15 | 12.300 | 7.190 | 4.4 |
| Boron carbide | 2.52 | 13.200 | 7.700 | 5.8 |
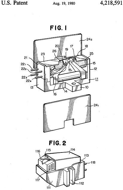
シェルにおいでTable 1を見るとおりアルミやマグネシウムに比べてセラミック系は硬いが伝達速度が早すぎて反射が起こるので、振動反射を遮断するためには図の9のように一部にvibration-absorbing memberを貼り付けるのが良いと言う論旨です。その制振材は”composed mainly of polydiorganosiloxane and inorganic fine powders, said polydiorganosiloxane having an average molecular weight of not less than 15,000; and the hardness of said vibration-absorbing member (9) is within the range of from about 8 to about 30”とのことです。この素材は繊維の軟化材や水溶性撥水剤などに使われているものらしい。岩沢氏はカートリッジのハウジング・フレームにセラミックを採用する工夫で別のUS特許も得ています。そこにも材料特性表があり、従来のプラスチックレジンとの比較をしています。MCタイプのFIG.1の10-13(ベース)と24(側板)にセラミックを採用するものでした。図の25と26はヨークとケースをダンプする粘弾性剤(visco-elastic materials)で、常温では固体のシリコングリスを想定しています。MMタイプのFIG.2では111-113にセラミックを使うアイデアのようです。余談ですが、京セラの塩見氏もセラミックシェルの日本特許公開S54-156605をしましたが未請求で終わりました(京セラが80年代初め発売したアームレス・ベルトドライブ・ターンテーブルシステムには各所にセラミックを使っていました)。塩見氏は本文でSAECの酸化アルミ焼結体シェルの特開S53-19002にも言及し「比較的硬い音質になるなど鋭い音感を持ったオーディオマニアを必ずしも満足させ得るものとは言えなかった」と評し、窒化物の焼結体をベースに表面に静電的影響を遮断する層を追加してシールドとすると同時に(表面がセラミック本体よりも柔らかいことから)吸音・ダンプ効果を併せ持つという趣旨でしたが、関連製品は不明です。1980前後アナログの末期、特に日本ではターンテーブルシートやシェルなどに目新しい素材を使ったものが多く現れ、まさに素材の乱痴気騒ぎを見る思いがしましたが、どれも能書きほどのことはなかったというのが私の個人的な感想です。スパークプラグで有名なNGKまでセラミックを使ったシェルを発明していました(日本特許1330608)。釣具のOlympicもボロンやカーボン繊維のプレプレグを使ったアームパイプで特許申請していました(特開S58-111101)。トリオと京セラが組んでセラミックパイプアーム(特開S55-22221)の開発を試みました。


シェルの裏側に粘弾性剤を張るのはデンオンのシェルにもありました(PCL-4/PCL-7)。シェルの前後を分割し接続部を粘性ダンプしているもの(ミヤモトのCT-3A及びAL-1)、回転シェル(実用新案出願公開S63-113201によるRSシリーズ)、などもあり、それぞれが個性を発揮しています。Frank Van Alstine氏(70年代からVan Alstine Audio Systems, Incからプリアンプを発表し現在もAudio by Van Alstineで真空管アンプやDACを作っている米国のガレージメーカー)は1982年頃Audio Basicsと言う個人的なオーディオ誌でいろんなTweaksを発表しました。"Plast-i-clay/Permoplast"という粘土の一種でスピーカーの内側やカートリッジの針のマウント部をダンプしたり、"Longhorn"といってカートリッジの先端にmass-controlとして鉛板や真鍮を貼り付けその裏にダンプ剤を塗る工夫を発表しました。彼はFinal Audio ResearchのCartridge Equalizer KKC-48にもふれ”簡単な構造の割りにたいそうな名前”をつけているとしていますが、彼自身のアイデアもThe Longhorn Inertial Stabilizer Universal Cartridge Modificationとたいそうな名前が付いています。B/A社のRA-216と言うシェルはアームをバットに見立て”打撃の中心理論”を応用し針先位置よりずいぶん突き出したパイプをシェルの頭につけたもので、Longhornと同様のアイデアでした(恐らく特開S57-27401と関連)。
もっと面白い特許は以下のものです(1980年代半ばElite
RockとしてTownshedにより製品化もされました)。70年代後半のカートリッジのデータ(TABLE
1)が載っていました。ここでMというのはカートリッジを含めた実効質量です。低域共振周波数を8−15Hzに収めるのに必要な実効質量の範囲(min/max)を示しています。ハイコンプライアンスのSonus
Red(下註参照)やShure M95EDではカートリッジの質量と針先から見たアーム全体の実効質量との間に数グラムの余裕しかなく、実際のアームの低域共振周波数が8Hz以下になることを指摘しています。SME/Keith
Monks/Hadcockなどはアーム支点近くをオイルダンプすることで低域共振のQを抑える工夫をしましたが、このパテントはアームの先端位置でダンプするアイデアです。しかし偏芯したりワープが激しいレコードには低域共振などよりももっと惨い影響(針飛び)が生じそうです。
註:GEの技師だったPritchardはADCを興したがそれがBSRに買収された後は、ハイコンプライアンスカートリッジの理想を求め70年代半ばにSonic
Researchを立ち上げてSonusブランドカートリッジを数種供給したが商品としてはあまり成功しなかったようだ(ハイコンプライアンスで針先だけが違うGreen/Blue/Red
Labelsとミドルコンプライアンスで使いやすいSilver Labelがあった)。70年代後半以降のADC
XLMIIなどはPritchardの設計ではなく、ADCがBSRに買収された時代の製品でもはや極端なハイコンプラアンスカートリッジではなくなった(BSR
Japanとの関係でADC末期の製品群は日本製で純正針も日本で供給された模様)。


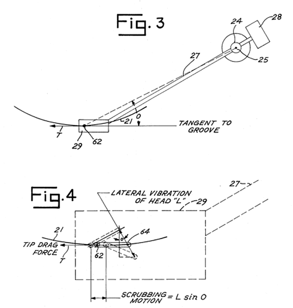
もう少し現実的な別の工夫:英国Rangabe氏発明(アレック・ランゲーブはPlesseyで働いた後1987年に没するまでオーディオ関連でいろんな発明をしましたー以下と同様の特許は後に4211422としてZerostat Components Limitedに委譲されましたが製品化されたかは不明です)。米国側でも同様なものがDiscwasherから”DiscTraker”として1978年製品化されました(ダンパーとレコード接触面にはpile fabricが使われています)。


ShureのV15Type IVから採用されたStabilizing and static removing attachment for phonograph pickup cartridgeは上記の物をさらに発展させた形です。図の159の回転部に粘性液が仕込まれてダンプすると同時に導電性のカーボン繊維ブラシで静電気を取る(逃がす)というものでした。Rangabeが自分の発明に対し指摘した問題点(接触部の摩擦によって生じる不都合な振動)について改善したとしています。一方では低域共振の山は確かに押さえられるがさらに低い領域に接触部の摩擦による雑音が付加されることがあるとのテスト報告もあります。





この後にも実用化されていない?Shureの特許があります。上のAnderson氏発明に対して当時の評価と問題点が次のように語られています。要はLateral方向のダンプ効果をより安定化する工夫でした。
This brush arrangement has proven highly desirable. While the lateral damping ability of Anderson's dynamic stabilizer was not well understood in 1978, it is now believed a phenomenon of "locking" between the bristles and record grooves makes lateral damping possible. This locking occurs when the bristles, during record rotation, sort themselves into "V" shaped groups in record grooves. The locking results in interfiber friction of the bristles during lateral vibration. This friction affords the lateral damping of the cartridge.
The penetration and locking of the bristles in the grooves also results in effective record cleaning by the brush. In forming "V's", the bristles fan the record grooves, with some descending to the groove bottoms. So positioned, the bristles catch minute dust particles in the grooves and thereby prepare the grooves for the stylus.
In spite of these advantages, the Anderson brush is not perfection. Frequent cleaning of the brush is required. In addition, excess lateral force, as from manual error, causes the bristles to bend and possibly disengage from the groove, or cause side thrust on the stylus affecting the tracking of the stylus in the groove and increasing stylus and record wear.

どんな工夫にもそれぞれ得失があるわけで同じ設計者でもその意見が変わることがある一例だと思います。それぞれの工夫にそれぞれ信者が付いていますが、面白いのは宗祖・設計者が考えもしないほど好意的な飛躍・演繹をしている信者・使用者に出会うことがたびたびです。
Pickering社も着脱可能なブラシ機構を持つカートリッジを発表しました。ダンプというよりこれからトレースする溝の塵を露払いのように掃くアッタチメントでした。マニュアルにはこれを取り付けた時は約1g針圧を増やすように指示がありました(インサイドフォースの調整もダスタマチック・ブラシを付けているときはそれに準じる)。ところでFig.2の変なところに気づかれましたか?ゴミは箒の前ではなく後ろ側に溜まるはずです。ゴミを針のトレース上から排除する目的ですが、結果は溜まったゴミが途中から盤上に散布されます。


ADCのProtrac(シェル一体型カートリッジ)の特許図でVTAとOverhangが別個に調整できるというものでした。日本側のシェル関連特許が多く引用されています(シェルとカートリッジ間に楔を入れてVTAを調整する日立のアイデアやテストレコードでセパレーションを測定しそれをアームに付いたモータでシェルの左右傾きを自動調整するパイオニアのアイデアなど奇抜なものが含まれています)。


1986年頃のDual CS5000にはVTAを±5度程度調整できる特殊シェルが付属していました。市場に出回っているカートリッジのVTAにバリエーションがありそれを調整してFIM歪を1%程度に抑える工夫でした。実際には同じ機種でもVTAに違いがありさらに針圧など使用条件でも変化するので実効性がないものでした。現在のステレオレコードの垂直録音角(20-25度)にカートリッジのVTAを無理やり合わせたところで歪は減りません(勿論モノラルレコードなら元来VTA調整に頭を悩ます必要はありません)ーThe Boston Audio Societyの1980年1月のレポートでは米国のカートリッジSonus(楕円針)は最小VTA32度でそのまま水平に取り付けた時IM歪0.8%だったが、無理やりVTA16度に傾けて取り付けた時IM歪は4%に増えたとの報告もあります(当時は垂直録音角が15-20度と信じられていた)。その時SRAもメーカー取り付け角度から16度も変化してしまい、楕円針や特殊形状針のSRAとしては許容範囲<+4度から−8度の間>(IEC)を超えています。最適なSRAになっているかは素人では簡単に確認しようがない。このDualシェルでは±5度程度なので大きく許容範囲を超えることがないだけのことです。このVTA ShellはThomsonに買収された時代のDualの技師の発明によるUS patent #4752921(1988):"Record player with means for capturing recording and scanning angle"と関連があると思われます。その特許ではVTAの違いによる歪を検出するコイルをカートリッジ側に取り付け、最適なVTAを求めるというものでした。むやみに角度を変えられるというだけでは”道半ば”という感じです。



Dual社のレコードプレーヤにはOEMカートリッジを搭載することが多かったようですが、交換針の取り付け方について面白い発明をしています。1980年前後幾つかのモデル(731/741など)に実装されました。Dual社はSMEタイプの交換シェルを採用せず、頑なに自社のコネクター方式(特殊シェル又はスライドイン)に拘ったことも思い出されます。以前の指掛けによる着脱方式(1969年US3427032)を発展させたものですが、カートリッジ上部に貫通孔が必要になりShureやOrtofonにOEM生産してもらったようです(731にはOrtofonのVMSタイプULM60E, 741にはShure TKS 390Eでいずれも特殊仕様)。ユーザがシェルの横長孔にカートリッジをネジ止めした時の誤差(オーバーハングや左右角度)から逃れられ、且つ交換針が簡単に抜けないように保持することが狙いでした。MMタイプの交換針が抜けないようにする工夫は日本では既にDL-107やAT-24などはネジ止めしたものでしたが少数派に終わりました。



80年代前半、Plug-in T4Pのカートリッジが盛んに作られました。本家のテクニクスは普通のアームに取り付けるアダプター・シェルも開発しました。汎用シェル用のマウントアダプターは米国人によって発明されオーディオテクニカに譲渡されています。


英国Rega社は以下の1989年の特許申請図のようにカートリッジの3点止めを提案しました。特許そのものは1998年の段階で”PATENT CEASED THROUGH NON-PAYMENT OF RENEWAL FEE”とあります(特許公開までは漕ぎ付けたがお金になる・他社にパテント使用料を払ってもらえる内容ではないので特許権取得を止めたのでしょう)。針の振動点の真上にもう一つネジ穴を設ける工夫でした。針交換出来ないMMタイプの高級カートリッジ・シリーズBias/Elys/Exacでこれを実現しました(MCタイプのAphetaも同系列と思われる)。Rega社のアームのシェルの先端にもそれに見合った穴があります。Linn社はRegaと逆の三角形の3点留めをGB 2199718(1988)で提案しましたが製品化はされていないようです(Linnの特許の状態もRega社のケースと同じ)。ここまでやるなら、MMカートリッジの場合にはアームとカートリッジを一体型にして針だけ交換する方が合理的ですね(SMEタイプ交換シェル>シェル一体型アーム>シェルを省いたカートリッジ固定アームーこの逆の順番にマニア度が上がると一部のマニア間では信じられています)。SMEタイプ交換シェルが付いた一体型カートリッジも古くからあり、日本では80年前後一時的に流行しました(一社がやると他社まで同じようなことをする無節操)。
