きっかけはラジオ付ポータブルプレーヤーVictor Portable Radio Electrola Model TRE-12(巷ではごみ扱い)の修理を頼まれて思ったことですが、いまSPを再生しようとしても普通のLP用ターンテーブルには78回転がない、カートリッジがない、イコライザがない等、問題がある。 新たにそろえるとなると相当な出費を覚悟しなければならない。そこで簡便に再生する方法を探してみた。 後記:叔父さんの遺品のSPレコードが私に回ってきました。「奥様お手をどうぞ」等のタンゴ・ダンス音楽や「誇り高き男」「Love Me Tender」等の映画音楽や高英男のシャンソン曲など1950年代後半の10インチSPでTOKYO CASE製の豪華な手提げ箱に収納されていました。LPレコードに比べると「重い(10インチ盤で約220グラム)、演奏が短いうえに割れやすい」など欠点がありますが、当時の雰囲気がひしひしと伝わってきますーレコードの内容よりも「その時代の思い」が私には新鮮でした。古いレコードを聞くことはその時代の記憶を呼び戻すことにつながるようです。納付済の刻印があるものもあり、レコード物品税(贅沢品とされたレコードの物品税は各時代により税率が異なる)をレコード会社が前納したことを意味していました。
まず78回転ターンテーブル。 これがない私の場合、エレックスで見た未使用BSRのターンテーブル(なんと千円きっかり)を取り寄せた。SANYOのマークが表にあるが内容はBSRのオートチェンジャーユニットであった。ただなぜかチェンジャー用中心シャフトがない-これは私にはありがたかった(例によってゴムシートは剥がしオトナシートを張る、再生するときには長めのドライバーをシャフト代わりに差し込んで中心を出せばよい)。キャビネットは木枠で作った。オートチェンジャー機構はいらないので取り外した。オートリターン機構はSPには便利なのでそのまま残す[要調整]。カートリッジは秋葉原のジャンク屋でクリスタル形(200−500円)、後でエレックスからLP/SPターンオーバー式(たぶんセラミック㊟)を入手した。 これらの圧電型カートリッジがSPに適当なのは : 1]出力が高く[数百ミリボルト出る] 2]高めの負荷インピーダンスによりRIAAに近い特性が出るからで、球のパワーアンプの500KΩヴォリュームに直結できる(負荷インピーダンによってカーブを変えられるーもちろん厳密には録音カーブはLP/SP違いがあるがそれほどバランスの崩れるものではない)。まずLP盤を再生して音の違いをみる。上出来だ。 SPをかける。Goldberg/Hindemith/Feuermann演奏ベートーベンの「セレナード」(大木正興著「室内楽のたのしみ」で紹介されている)。 焚き火の音みたいなノイズは出るが、慣れれば気にならない。 むしろ音の力をSPに聞くべきだ。
㊟:クリスタルの圧電素子はロッシェル塩(ロッシェルは
Rochelleフランスの地名から)が使われているが温度湿度変化に弱く、溶けたり干せてくずれてだめになるので絶縁塗料などで防湿処理が必要。それにかわるものとして1950年頃からチタン酸バリウム、1960年頃からジルコン酸チタン酸鉛〔米国Clevite社の商品名PZT]などの燒結セラミック素子も使われるようになったそうです(1955年の米国特許2708244にジルコン酸チタン酸鉛の開発の発端が描かれていますが同素材は1952年東工大で発見されたらしい)。米国Sonotone社が1953年秋に初めて製品化したとされています。クリスタル型と比べ特性も改善されていますが出力はその4分の1程度になっています。ターンオーバー式といってもいろいろです。私のはカートリッジの上下両面にロネット針がついていました。カンチレバーが共有のニードルターンオーバー(flip-over)やGEのようにカンチレバーの両端にSP/LPの針がついていて180度横回転させるもの(turret
type)もありました。日本のSonovox/National/Piezo(日本圧電=アツデン),チェコのSupraphon,独逸のELAC/Telefunken/Dual,和蘭のRonnette/Philips,米国のShure/Sonotone/Astatic/Magnavox/GE/RCA/ElctroVoice,英国のGoldring/BSR/Garrard/Tannoyなど1960年代まではプレーヤに付属のピックアップとして普及していました。
1930年代から補聴器のメーカーとして知られた米国Sonotone社のカートリッジ小史:ピックアップ用セラミック素子(Barium
titanate)を開発し、1953年秋ターンオーバー(flip-over)タイプのカートリッジ”TITONE”発売,
翌年2T(TはTitoneの意味)発売、1955年Sonotoneブランドで1P(シングルチップの意味)を発売し以後3T,4T,5T,6T,7T,1960年ステレオタイプの8TA4,1961年9T本体と同時に(Magnetic
Typeと同様に扱える低出力プラグイン・イコライザー"Velocitone"を備えた)9TSDV、1962年9TA(Velocitone
Mark II)、1966年Velocitone Mark Vまで続いた:Velocitoneはコネクトプラグ内にpassive
networkを組み入れイコライズし電磁形ピックアップ(velocity
type)と同等にする苦肉の策。本体にモデル名が無くバリエーションも多いのでどのモデル・タイプか判別しにくい。オートチェンジャーやジュークボックスに多く採用されていたが電磁形カートリッジの普及とユーザーのハイファイ志向により1960年代後半に退場となった。
圧電形の音質はレンジが狭くハイファイではないが、1950年以前の古い音源の周波数レンジも同様に狭いので電磁形を聴きなれた耳にはむしろ新鮮で迫力がある。フルトヴェングラーのシューマン交響曲第4番やターリッヒのドボルザーク交響曲第9番「新世界より」などを圧電形で聴くと「生きた音」「直截な音」が聴こえ衝撃を受けました。電磁形で聞くと録音の古さが目立ちぼやけた音に聞こえてしまうことがある。これら「周波数レンジの狭窄」により音が良く聞こえる理由はMusical Balance参照。私はオーディオには古い錯覚と新しい錯覚しかないと思っています。初めての機器を使えば新たな体験が得られそれが又古い錯覚に移行するだけです。そうして次々と錯覚を積み重ねていく。。。依然としてカートリッジの着せ替えごっこに魅力があるわけです。折々の錯覚を求めて。。。
上記Goldberg/Hindemith/Feuermann演奏ベートーベンの「セレナード」ニッチク盤。合計20分程度の曲が3枚組ーLPなら片面に収まる! この曲は弦楽三重奏曲(string trio)として紹介されることもあります。
ニッチクは日本コロムビアの戦争中の名前だそうです。日本蓄音器商会(1927年英米コロムビア資本投入、1935年外国資本から離脱後日蓄工業に改称),日本ビクター蓄音器(1929年米ビクター出資、1936年米資本撤収),日本ポリドール蓄音器商会,大日本雄弁会講談社キングレコード部,帝国蓄音器(帝蓄・テイチク),大日本蓄音器(1942年講談社に合併)の6社が大手でした。大久保氏は「レコード産業は戦前日本の典型的な外資提携産業であった」と第二次世界大戦以前の日本レコード産業と外資提携(pdf)で述べ、名称と企業の変遷が記されています。

SANYO/BSRターンテーブルキットを木枠にマウント。木枠の内部3か所にスプリング受けを作っています。このキットは3個のスプリング支持により重量バランスが取れておりFloating Suspension構造になります(結構ふわふわで柔らかいスプリングでした)。木枠の後部にコード類を通す切り欠きを作りました。そのまま床において再生できます。
![アーム部[一番下にリターン調整ネジが見える]](images/sparm.jpg)
SPレコードは富士レコード社等で入手できる。SPは丁寧に扱わないと割れてしまう。硬いシェラックのSPに対し、塩ビのLPは軟らかい(復元力がある)ので割れにくいのです。
RIAJの統計によれば日本のSP生産枚数の変遷は以下の通り。1962年に生産を止めたらしいのですが、統計上は1963年にもわずかに(2万5千枚)計上されています。又、1929年(昭和4年)以前の数字は不明ですが、それ以前にも相当数が生産されたようです。1938年の落ち込みは日中戦争の本格化、1950年の落ち込みはDodge Lineによる緊縮財政と不況を如実に示しています。1953年以降はLPの出現によりSPはもう古いとなったからでしょう。音楽評論家の吉田秀和氏もSPを売ってしまって後悔されたと聞き及びます。テープ録音以前のSP盤は音源としては掛替えのないものなのです。

SPレコードのジャーという雑音は主にシェラックの粒子直径(約0.03ミクロン)によるものだそうで、しかもこの粒子雑音レベルは1kHz以上で6dB/Octで増えるので、7kHz前後のハイカットフィルターが常用されたようです。後期のビニライト盤SPはLPより音質が良かったと言う話もあります。0.03ミクロンの溝表面荒さによって発生する雑音は以下のようになり、平均録音信号レベルが1kHz以上定速度振幅5cm/sとした場合、8kHzで30dB程度のS/Nになるので、7kHz前後のハイカットフィルターが聴感上有効だったのですね。Percy Wilsonは1957年の本で録音盤自体の雑音と再生側の音の変化を分けて記述し、ピックアップによる音について次のように述べています。Indeed some of us were able to develop a faculty of judging the response of a pickup by listening to the quality of the surface noise.<中略>the "coarse sand-paper" noise denoting peak in the 2,500 c/s: the "tearing of brown paper" noise indicating a 3,500 c/s peak: the "fish-frying" noise denoting a 5,000 c/s response and so on.

録音に使われるラッカー盤の表面粗さは一般に50Å〔オングストローム]=0.005ミクロン以下にすることによってノイズ比は-50dB程度以下になり、聴感補正Aカーブ適用では-65dB以下が得られるそうです。1kH以上を一定速度振幅とした場合、ノイズを分母にしたSN計算(聴感補正なし)では以下のようになります(基準録音レベル1kHz 45度方向速度振幅3.54cm/s peakに対して粒度0.005micronnで計算上は1kHzで61dB)。CD4のサブ・キャリアの中心周波数30kHzではSN比が20dB程度になるのでいろんな改善策(サブ・キャリアの処理方法)が70年代には盛んに提案されました。表面粗さはラッカー盤及びビニル盤の組成粒度とは異なりこの分析は似非科学ですが、RCAのUS Paten No. 3960790(1976): DISC RECORD AND METHOD OF COMPOUNDING DISC RECORD COMPOSITIONによると181オングストローム(0.0181ミクロン)の粒度のカーボン・ブラック0.2%添加とありますので、実際のレコードの溝面の粗さ粒度として0.005ミクロン以下を維持することは困難だと思います。ノイズの原因となる粗さについてはShellac 1.6-0.16micron, Vinyl 0.035micronという報告もあり一定の値に特定できません(粒子の並び方などでも最悪値と平均値は変わってしまいます)。実際に耳に付くのはこれら粒度による常態ノイズではなく、レコード製作過程(カッティングやメッキやプレス)の不整形やプレス後のゴミの混入による突発ノイズ(impulse noise)の方です。文献に散見するSPのSN比17-37dB、LPのSN比50dB(おそらくNABのテスト法による)は以下のように粗さからSNを計算したか、実測SNから粗さを逆算したかは不明ですが、いずれにしても粗さ粒子が綺麗に並ぶはずもないのでこのシミュレーションも似非科学です。

| Simulation based on recorded velocity peak 7cm/s lateral at 1kHz | ||||
| surface roughness as noise amplitude (a) | 1.6 | 0.16 | 0.035 | micron |
| noise velocity (2pifa) | 1.0 | 0.10 | 0.022 | cm/s |
| S/N | 17 | 37 | 50 | dB |
実際のSNレベルはCD85dB/LP55dB/SP30dB程度ですが、William Blakeの以下の詩にあるごとく、人間の感性にはExpanderが入っているので無限の領域が展開されるようです。アナログとデジタルのノイズレベルの定義には相違があるように感じますーアナログではノイズレベル以下でも録音信号が混在し場合によってはそれを分解感知できますが、デジタルでは純然たるノイズレベルでもはや録音信号が含まれない最低分解能レベルの意味ではないでしょうか? レコード盤のSN比は基準レベル÷雑音レベルで、ダイナミックレンジは最大録音レベル÷雑音レベルを意味します(従ってダイナミックレンジはSN比より12〜16dB程度大きい)。デジタル機器のカタログではビット数によって決定されるダイナミックレンジ(16ビット=2^16で96.33dB、又は量子化数Nに対して[6N+1.8]dB=97.8dB、又は[6.02N+1.78]dB=98dB)がSN比より小さいことがあるのは何故でしょう?最大出力=基準レベル2Vに対して無信号時の機器内雑音発生レベルが20μV以下の時SN比100dB以上になりますが、ソフト(録音媒体)や録音内容とは無縁の数値を示していますーつまり入れ物としてのCDはそれほど完璧なのか?
To see a World in a
grain of sand,
And a Heaven in a wild flower,
Hold Infinity in the palm of your hand,
And Eternity in an hour,
[Auguries of Innocence]
SP時代には古いタイプのダイナミックバランスアームが使われました。現在のダイナミックバランスアームとの違いは0バランスをカウンターウエイトでとった後スプリングで針圧を加えるのではなく、スプリングの力でヘッドの重さを支える構造です(ヘッドの重さ−バネの力=針圧)。カウンターウエイトの換わりにバネを使うのでアームの後ろ側が短くコンパクトになります。針圧可変のためにはある程度長いコイルバネが必要ですが、同じ長さで比較すると、このタイプのアームでは本当のダイナミック型より硬いバネを使う必要があり、バネの共振も出やすいようです。このタイプのアームは軽針圧の時代(70年代以降)になってからは姿を消しましたが、80年代以降AIWA/SONYの普及品の一部(Aiwaのリニアトラック機 LX-F1, LX-12やSonyのPS-LX700P, PS-LX311/330など)にはカートリッジがアームに接着され標準針圧2gに固定されているものに採用されていました。近年の製品ではDenon DP-29Fも同じような構造ですが針圧3.5g固定なので問題ないのか? 上記BSRの場合はアーム側のU字のフックに掛ける引きバネの巻き数を変えることで針圧調整出来ますー後に3g以下の軽針圧の流行に応じてバネの形状を工夫する発明BS985183-1965もしており、オートチェンジャーの針圧調整機構について興味深い記述をしています:"There are several variants of this form adjustment but they all have the disadvantage that in the space available within the pick-up arm, a shorter spring must be used in order to accommodate the adjusting mechanism and a shorter spring may be a serious disadvantage on an automatic record player where the inclination of the pick-up arm to the horizontal varies according to the numbers of records on the turntable causing variation in the extension of the balance spring and this may result in substantially different stylus pressures if the balance spring is not long enough to accommodate the extension without a noticeable variation in tension."

上図のアームをシミュレーションしてみるとその針圧変化は相当なもので、バネの長さと張力をうまく設計しないといけないようです。特に盤のワープやターンテーブルマットの厚さの変化には注意が必要です。クリスタルピックアップなど針圧が8−12g程度のものならば高さ変化±2mmでもその針圧変化は一割以内に収まるので問題なかったようです。SP時代に活躍したオートチェンジャーの場合はレコードを6枚程度まで重ねるので高さ変化は1cm以上になるので、LP時代(特にステレオ時代1960年代以降)にはオートチェンジャーはいろいろ不都合があり主流ではなくなった。
以下はSP時代のRCAに譲渡されたUSパテント設計図です。ネジ35についたナット39で針圧を調整し、bell crank31上の31cとネジ45で下方向の動きを制限し、ネジ43で上方向の動きを制限しています。先端の27は針25を正位置に止めるネジです。

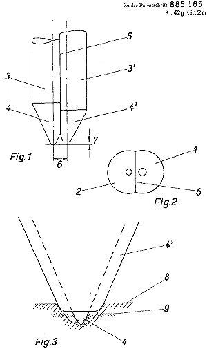
以下のようにSPとLP両方に使える針形状の発明があります。左がDE885163で右がその変形でどちらも1953年の特許でした。このような針がオートチェンジャー用途に要求された時代背景が窺えて興味深い。後者の発明はトーレンスに委譲されていますー当時のThorensのオートチェンジャの高級品(CD43)は自動サイズセレクトやリピートやスキップ等も備えたものですが、それにこのような針が実際に使われたかは定かでありません(使われたとしてもダイヤモンド針ではなく合成サファイヤ針だったはずです)。後者の特許ではABそれぞれの最適サイズが具体的に検討されていました。現在の特殊形状針の要素も含んでいますがそれよりさらに厳密な設計製作が必要なのでした(BがLP溝に接触する時Aの底面kは盤面から十分離れていなければならない等)。Philco社のUS特許2759732でも同様の針が提示されていますが、SP/LPの溝の記述の方に興味を惹かれました(特にbottom radiusについて):...standard records are provided with a groove having a width of the order of 0.006inch at the surface of record and a bottom radius of approximately 0.002inch, and micro-groove records are provided with a groove having a width of the order of 0.003inch at the surface of record and a bottom radius of approximately 0.0002inch... SPの溝幅はLPの2〜3倍程度ですが、底の丸みは(特に古いタイプのSPでは)10倍も違うことがあったようです。IEC98-1958ではSPのbottom radiusは市販のSPで最大0.001inch (0.025mm)、放送用トランスクリプションSPで最大0.0015inch (0.038mm)と規定されました(fine grooveのLPで0.0003inch=7.5micron以下)。皮肉なことにSPが生産中止した頃になって初めてSPの国際規格化が行われた感がありますーそれまでは各国各社各様だった。


別系統のものとしては実際のSP溝がほどんど規格化されずレコード製作各国各社でまちまちだったことから、どのようなSPレコードでも再生できる針(Universal SP stylus)も発明されました。不可解なことには溝とランドの邂逅部に針が乗るので溝を傷める恐れがあります。溝そのものの形状を2段掘りにする工夫を提唱した特許(1932年DE547712)もありました。ランドの邂逅部は成型不良(hornなど)が多いので溝斜面の中腹部に接触する丸針とV溝がSPの末期になって規格化されました。IEC98-1958(初版)で88degrees+/-5degrees for commercial records and 85degrees+/-5degrees for transcription records/spherical stylus tip radius 0.003inch (0.076mm) - 0.002inch (0.051mm) for commercial SP records。第二版IEC98-1964ではLP/SP共に溝の開角90degrees+/-5degreesと規定されました。放送にテープが使用されTranscription Diskが一般に使われなくなったので第二版からtranscription diskの規定を止めたようです。


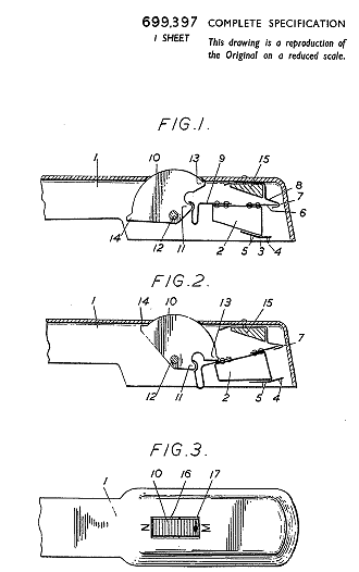
SPからLPへの過渡期にはいろんなアイデアがありました。回転スピードは勿論、針先だけでなく針圧もSPとLPで異なるのでアームにも工夫が必要でした。以下はターンオーバー式のカートリッジを回すとアーム内の針圧とモータ回転数が連動し自動的に変わる工夫の一例です。ジュークボックス用交換針(商標Permo-Point)を供給していたシカゴのPermo Inc.の技術者による発明でした。ソレノイドによるPlunger 26によって減速プーリー 16をIdler 6の縁 10への接触/開放を行う。78回転用の時はモータの回転軸 9がIdlerを直接駆動する。針圧は隙間62にドライバーを挿し込んで針圧調整する。



1980年頃、秋葉原のジャンク屋でカンチレバーが”く”の字に曲がっていて先端と曲がりの部分に針が取り付けられているのを見ました。どちらにSP/LP用がそれぞれ取り付けられているかは分かりませんでした。針圧で接触切り替えがなされると考えていましたが、どうも違うようです。以下は特許文書の2例(Magnavoxの米国特許とエラックの英国特許)。どちらも先端が(Normal・Standard Groove)SP用で少し奥にあるのが(Microgroove)LP用としています。最大水平偏移がSPではLPの2倍以上あり、出力感度の面を考慮したものと考えられるが、コンプライアンスや溝圧の方を考慮すると位置は逆の方が良いためこのタイプはやがて廃止された。現在の最先端技術や機器もいずれはジャンク(odds and ends)として忘却の彼方へ行く運命にあります。

