古い話で恐縮ですが山本武夫著『レコードプレーヤ』日本放送出版協会(1971年発行/現在絶版)で70年代初め頃のレコードプレーヤの種類を記述しています。
プロ用(放送局用)は
・起動時間が短いこと=1秒以内(生放送タイミング)
・速度偏差が少ないこと=±0.2%
・モータのトルクが大きいこと(頭だしの負荷)
が要件になっています。
セミプロ用(Hi-Fi用)はそれに比べて
回転数の許容誤差はプロ用の半分、回転ムラは同等か半分位
振動雑音もトルクが必要でないのでプロ用より静かと実際の性能面ではむしろ逆転しています。
この記述はテクニクスのDDが出たばかりでまだ普及していないころの話です。 その後DJの皿回しに最適なDDが席巻したがアナログ末期、CD誕生以来ベルトドライブが見直されています。 海外製はほどんどBDだがSNなどスペックが省略されています。 すでにSNは十分だからスペックは必要ない? オーオタの心を揺さぶる<聴感上のSNはイイのだから聴けば分かる>? 分からないと音楽性がないという烙印を押される。 SN、AC/DCモータとサーボ、慣性重量、ドライブ形式などそれぞれ目先を変えて競争! 結論は???
DDとBDの違い:モータの違い、主に初動トルク(DD)と慣性(BD)の違いが云々されていますが本質的な問題とは思えません。なぜならどちらの方式でもトルクや慣性は増やせるからです。トルクだけなら昔のギアドライブ(戦前のRCA Transcription Turntable RC-70シリーズ=USP2106718)やリムドライブ(idler wheelによるrim drive) がいいはずです。モータトルクが強すぎれば付随する振動も大きくなり慣性も必要以上に大きければ軸受けに負担を与え余計な振動を生みます。いいモータといわれているものはキャビネットやサーボ系も含めた諸要素をバランスよくまとめているようです。そもそもモータの回転力は瞬間的には脈動していてそれを滑らかにするのは慣性力(flywheel effect)なのです。LPレコードだけでもその慣性モーメントは凡そ140g*15^2/2=15750gcm^2あるのです。
他に電気的な違いがあるとすれば、DDのモータはスピンドルシャフトを通じてターンテーブルがDDモータ電源のアースに繋がる。 [このためターンテーブルからの誘導ノイズが多くなりがちで、一般に共通アース型カートリッジ(DECCA)との相性はよくないようだ]というのです[アナログレコード再生の本]初版P178−180。BDの場合はターンテーブル・シャーシ自身は絶縁されているので選択肢があります:外部線でシャーシのアースは1.モータ電源アースにつなぐ2.アームのアースにつなぐ。そういえばSME3009impの古いアームコードはアンプとターンテーブル・シャーシにアースするよう指示がありました。ターンテーブルをアームを通じてアースすることになるわけですが、もし既にターンテーブル・シャーシがモータ電源を通じでアースされていたらループができることになり問題を生じる場合があるようです。私の場合はDDターンテーブル(プラッター>モータ>シャーシ+回路)のアース線とアームのアース線はフォノアンプに結線しており、ターンテーブルとアーム間の抵抗を測ってみたら約2Ωでした。もちろんDL-102でもハムは出ません。独立巻線2組の4P出力のモノラルカートリッジでは直列接続・並列接続・平衡接続が可能ですが、ループが出きる場合にハムを起こしやすいのはモータのせいではないと思います。
ベルトやリムドライブの圧力でターンテーブル軸が寄せられるのに対し、DDは側圧が少ないためか普通10年くらいは無給油。銅合金オイルレス加工品か固体潤滑材含浸メタルなのかどちらにしても黄銅系のもので軸を横から支えているようだ。上下の鞘に接触するスピンドルが十分長くバランスが取れていれば横の支えは補助的なもので良い様だ。一部の薄型DDターンテーブルは皿回し状態でベアリングがスピンドルの頭に当たる部分にあり、支点より重心を低くして安定させているらしい。軸とプラッターにずれが無く、軸自体がぶれない限りはこれら倒立型と普通の軸受けとの本質的な違いは見当たらない。下図のDENON Traditional AC motorはDenon DP-2000の構造と同じですがこの密閉構造は熱を持ちやすい割りにエネルギー効率が悪い(トルクが出ない)ので後のDP-80などはアウターロータ構造でトルクを上げるとともに開放型に改良されたようです(DD駆動コイルの発熱により時間がたつとプラッター及びレコード盤までが30度程度まで蓄熱してしまう傾向がある)。先が丸いロッドだけでボールを使わない軸受けでフラットな形式のものは実効軸長が短く不安定になりがちなので、粘性抵抗=油圧を増やし側圧を高めているものもありますーその場合オイルよりも粘度が高いグリスが適当なようです。粘度はその粘性抵抗力(軸の直径と長さxギャップx粘度に比例)とモータ力のバランスの上で最適なものがあるはずなので一概に一種類のオイルやグリスは薦められません。右下の図の粘性抵抗力はNewtonian Equation F=(Av/G)*Absolute Viscosity where A=area of oil film, v=circumference velocity of spindle shaft, G=gap between shaft and side support metal. 軸の周速度v[m/s](=pxDxLP回転数33.3rpm/60)と油膜面積A(軸の実効長LxDxp)とギャップGと粘度により粘性抵抗が機種ごとに違ってくるのですね。


重いテーブルを回すのに必要な強力なトルクのモータは見栄えが良いが、振動を助長するので本末転倒。英国Nottinghamのベルトドライブプレーヤーは最初手で回す非力のモータを使っているのは非常に合理的だと思う。 同じく英国のRoksanは中心ピンを再生時取り外すようになっているのはさすがだと思うが、どちらも一般には受け入れられないだろう。
2次的評価:構造や駆動方式ではなく、音色の変化の要点はキャビネットやターンテーブルシートの材質やキャビネットをどのように置くかの方にありそうだ。
ターンテーブルのランブルノイズ及びワウフラッター測定値はアームやカートリッジさらにはモータ等の保持方式で変わってしまいます。フェルト1枚足に敷いただけで表情が変わってしまいます。この辺りの音質評価方法は確立されていないようです。その問題についてB&K(デンマークの音響測定器の会社)はJAES1977で[Audible Effects of Mechanical Resonances in Turntables]と題して報告しておりその論文はThe Vinyl Engineのサイトからダウンロードできるようになりました。
山本氏の本(1971年)で紹介されているベルトの共振式を見ると主にベルトのStiffnessが大事で、他にもPulley径/ベルトを受けるターンテーブル径(径の小さいサブターンテーブルが振動には有利)/慣性質量が関係するようです。柔らかいと共振周波数が低くなり、硬いと高くなるが、いずれにしても共振周波数以上のモータ振動は減衰・遮断できるそうです。ベルトドライブによく使われるシンクロナスモータの回転数と極数の関係は以下のとおり。このモータの回転数値によりプーリーとサブプラッターの半径比が決まります(設計上はpulley radius for LP=driven platter radius/1.8/rpsですが実際にはベルトの厚みやテンションとスリップなども考慮に入れないといけないようです)。
| Synchronous Motor | ||||
| Numbers of poles | rpm | rpm | rps | rps |
| 50Hz | 60Hz | 50Hz | 60Hz | |
| 4 | 1500 | 1800 | 25 | 30 |
| 8 | 750 | 900 | 12.5 | 15 |
| 12 | 500 | 600 | 8.33 | 10 |
| 16 | 375 | 450 | 6.25 | 7.5 |
| 24 | 250 | 300 | 4.17 | 5 |
ベルトのカップリングについてもベルトの裏表をうまく利用したものもありました(つや消しのざらざらした面をプーリーに掛け、反転した光沢のある滑らかな面をプラッターにかける)。裏表のないベルトでも反転させてプラッターから離れやすくしプーリーにアプローチするときのたるみを補正するように指示しているターンテーブルもあります(Well Temperedなど)。糸ドライブの場合でもストレッチ性のある綿の撚糸を使う場合が多く、絹糸のような弾性率の低いものや縒りのない糸は共振周波数が高めになるため使われないようです。
因みにドライブ方式による音の違いについてよく言われますがそれは回転方式によるものではなく、多くはFloating Suspensionなど他の要素によるものだと私は思います。レコードを聴いていると適度な揺らぎが音楽的に聞こえる場合があるのは事実です。方式やブランドなど機器に対する先入観もその錯覚に寄与します。DDは音が良くも悪くもありません、ただメンテナンスが楽なので私は常用しています。
この実験は他の方々が既に試した方法で2番煎じですが、ジャンクのターンテーブルや回転数が怪しくなったターンテーブルの回転数を確認・調整するのに超高輝度発光ダイオードを使用しました。3.6V電源を作るのが面倒なので、手持ちのCR発振器で実験してみました。発振器が公称7V出力なので100Ωと整流ダイオードと発光ダイオードを直列につなぎました。


リニアのジャンクP-5Eは33回転45回転とも遅くなっていましたのでこれで調整しました。但し上のようにレコード盤を載せずにストロボ盤を使用するのは正式ではありません。JIS C5521-1975(ホノモータ試験方法)によると100/3回転では半径12cm、45回転では半径8cmの無音溝に通常の針圧を掛けトレースする標準使用状態でストロボ盤を見るとしています。DDでは基準周波数による回転数制御が掛かっているものが多く、針圧x溝径に比例するstylus drag(負荷)の影響が現われにくい。ストロボ盤の大きさがレーベル面と同じ直径10cm程度になっている理由も分かります。従来の回転数制御のない(DD以外の)モータではレコード盤の内周と外周ではstylus dragにより回転速度偏差が発生するようです(そこでJISでは針を下ろす位置を指定し音溝の中間部で平均的な速度を計った)。糸ドライブ2連ターンテーブルを使っている方に聞いたのですがそのターンテーブルでも内周側では外周側より少し回転が早くなるそうです。ターンテーブルの回転抵抗としてのstylus dragは針圧×溝半径に依存するので自然の理なのだと納得しました。
後で4.5VのACアダプターを改造してストロボライト専用機を作りました。整流コンデンサーと片側整流ダイオードを外して出力側に50Ωの抵抗を入れて白色ダイオードを付けたー後で分かったのですがこれでは半波整流で縞2個ずれるたびに1回発光するので両波整流にしないと縞1個ずれるたびに1回発光にならないのでした。実用上は変わりありませんでしたが。。。縞の数と周波数を数倍にすればもっと正確なストロボが出来そうにも思えるが、実際には視認性に問題が出るようですーテレビの走査線や映画の一齣は見えない(1フレームは1/30秒程度)。
N=60*2f/n Nは回転数RPM、 fは電源周波数(交流)、 nはストロボ板の縞の数
上の式よりストロボ板の縞模様の数は以下のようになっています。商用電源を使いストロボ板で回転数を調整する方法では45回転と78回転は整数回転数になりません。したがって50Hzのストロボ(その発光周波数は100cycles/sec)で45回転に正確に調整するためには縞が1分あたり15本右側に流れる(遅れる)のがよいことになります。70年代頃まで[IEC 60581-3(1978) & DIN 45500-T3(1975) etc]再生側ターンテーブルに+1.5%-1%程度の回転数偏差が許容されていたので、きっかり45回転に合わせても余り意味はありません(精神衛生上の気分の問題)。IEC98第二版(1964)では録音側のターンテーブル回転数として77.92/78.26, 45.11/45, 33 1/3のどれもが有効でそれぞれ±0.5%まで許容されていました。
| 50Hz Power Supply (Mains) | 60Hz Power Supply (Mains) | ||
| RPM | number of stripes | RPM | number of stripes |
| 77.92 | 77 | 78.26 | 92 |
| 45.11 | 133 | 45.00 | 160 |
| 33 1/3 | 180 | 33 1/3 | 216 |
但し、クォーツロック・プレーヤ本体のストロボスコープの縞模様が1列だけのもの(例えばDENON DP-2000は1列125本)は電源周波数に関係なく縞が静止して見える時に所定の回転数になるようです。DP-2000のランプへの供給周波数をテスター IWATSU VOAC 86(100Hz以下の分解能 0.001Hz,確度 0.003%+4d)で測りました。上の計算式と異なり(N=60f/n)になっているのは交流(+/−)ではなく鋸波だからです。RPM偏差は参考値ですが満足できる値です(カタログ上の回転数偏差0.002%はクォーツロックもしくはFG出力の安定度を意味するらしい)。これはワウ・フラッターを測ったのではなく、ランプへの供給周波数の安定度/確度を測ったことになります。この供給周波数の安定度が判明していないと、縞模様の滲みの原因は周波数の変動かフラッターか判定できません。ちなみに6Hz以下の回転ムラをワウ、6Hz以上の変動をフラッターと呼ぶそうです。縞目が前後に揺れる場合は繰り返しの遅いワウ、ボケて見える場合は繰り返しの早いフラッターで、それ以外の現象はストロボでは分からないようです。聴感上2〜4Hzのワウが一番耳につきやすいそうです。ワウフラッターの何Hzというのは一秒あたりの繰り返しの周期(変調周波数)で直接の音信号のことを指しているのではない。そこで3kH又は3.15kHzを再生し、増幅器>周波数弁別器>試験端子(周波数計)>聴感補正回路(2〜6Hzは減衰なしの山形のフィルター)>自乗検波器>指示器という測定系で回転ムラを測る。聴感補正の有無・実効値・ピーク値の組み合わせでいろんな数値がある:WRMS=聴感補正実効値など*㊟。穴の偏心によるワウはチェロの長いボーイングやピアノの響きが変調されて気が付きます。
㊟:DIN45545(1966)及びIEC98(1987)のテストレコードの記述では"記録周波数は3150Hz、テストレコード自体の周波数揺れは±0.06% (unweightedではほぼ±0.12%)以内で録音面高さの変化(変形)は0.3mm以内で製作しなければならない"とありますので、外周にある無限ループの溝を使ってセンターだしをした上で測定しても、レコードを使った揺れ測定の精度は知れています(限界があります)。DINは聴感補正ピーク値を採用しているのでWRMSより1.4倍多く表示される。IECではDIN同様のレコードを使って3回以上測り聴感補正ピーク値の平均を採用するとしています。いずれにしても公称回転数からの回転数偏差(主にモータドライブの電気的安定度)と周期的揺れ(主に機械的安定度)は別種のものです。尚、最近のIECは0.1から10HzまでをWow、10Hz以上をFlutterとしているのですが過去の多くのワウフラメータは6Hzを分岐点にしていました。
| Quartz DD DP-2000のランプへの供給周波数を調べた結果 | ||||
| supply to lamp (f) | Nominal RPM | Hz/rpm | Number of Stripes (ns) | RPM=60f/ns |
| 69.445Hz | 33.33333333 | 2.08335 | 125 | 33.3336 |
| 93.751Hz | 45 | 2.083356 | 125 | 45.0005 |
DP-2000の水晶振動子は7.11MHzでそれを3792x27、3792x20で割ると69.44444Hz & 93.75Hzが得られます。33.3回転と45回転の速度比は1/27対1/20即ち20対27で45回転は33 1/3回転の1.35倍になります。回路上の発信基準周波数は33.75kHzですがクリスタル部品には7.11のマークがありました。
ストロボパターン:左が停止状態で右が回転時のもの。この程度のボケなら問題ないのか?パターン自体の精度も関係するので大きくボケず、縞が流れない限り”良し”としています。


実験としてターンテーブルの縁に小突起を作り1回転ごとに本体とかすかに擦れるようにすると1.8秒ごとにカクンと縞が1個ズレますが、ソノ瞬間以外はストロボ縞は安定しています。結論を言えばストロボ測定方式は回転数とその時間ドリフトを見るためのものでワウフラッターを見るものではない。許容値の例(DIN45500-1975等):ドリフト及び指定回転数からの偏差は+1.5-1%まで/ワウフラッターは聴感補正後ピーク値㊟±0.2%以内。実際、比較的長い時間内ドリフトは聞き取れにくく瞬間的ワウの方が気になります。
㊟:ワウフラッター値がマイナスと言うのは変に思えますが、ワウフラメータはワウフラ成分のpeak-to-peakを測るがそのアナログ指針は信号を整流して示すので、本来±で表示すべきですが煩雑さを避けるために一般には±は省略されることが多いようです。ワウフラ波形は綺麗な交流正弦波ではないので測定数値はあくまでも測定上有効と考えられる相対的・便宜的なものです。アナログ指針は通常RMS実効値を表示しpeakはその√2倍に調整されているだけなので真のピーク値を示すものではありません。
エクセルで作製した50Hz 100/3回転専用のストロボ盤はここをクリック(jpg)してください。この画像をプリントして目印のある真ん中に穴を開けると10cm径位のストロボ盤が出来ます(画像ソフトで縦横比を変えなければ拡大も可能)。ドットのプロットの精度に制限があるエクセルのグラフィックではこの程度の物しか出来ませんでしたが実用にはなります。50Hz/60Hzのストロボとパターンを解析したエクセルファイルも作りましたのでダウンロードしてお使いください。
リニアトラックの非力なモータを見て思いました。80年頃<針圧は250gまで定速>とかが一部の高級ターンテーブルの謳い文句になっていました。これはトルクの大きいモータに強烈なサーボが懸っているということです。原始的なドライブは同期モータをギア/アイドラー/ベルトで回転数を合わせただけのものです。突発的な衝撃にはまず慣性が対応し、次に駆動系の反発力(モータ+ギア/アイドラーゴム車輪/ベルト)でもとの回転数にするわけです。DDのモータはセンサで遅れや進みを制御していますが、いつも対応はズレているのではないか、結果として平均的速度=定速になるのではないか、疑問がわきます。ベルトやリムドライブでもサーボをかければDDと同じもしくはさらに対応が遅れるのでは?昔の極数の多いシンクロナス・モータで重いターンテーブルを糸ドライブが良いという人がいます。
Audio Asylum で<JAES on speed variations due to stylus
drag>と題した面白い投稿を読みました(Klaus on October 24,
2002)。JAES とはJournal of Audio Engineering
Societyのことです。それ(1967, p. 446 : Cole : Sensitivity of
phonograph turntables to normal loads)によると通常の針圧でのターンテーブルの速度変化は無音の場合と音を刻んだ部分を再生比較しても速度変化はほぼ同じだったそうです。
さらに(1970年代末?)Audio
Magazineによるターンテーブルの速度変化のテスト結果は:
ベルトドライブ機:Linn LP12
±0,385%, Maplenoll Ariadne ± 0,20%, Michell Gyrodec ±0,12%, Oracle ± 0,213%, SOTA Sapphire
±0,18%, Thorens
TD115(1978年発売の普及機)±0,27%
ダイレクトドライブ機:Nakamichi Dragon
±0,13%, Goldmund ST4 ±0,317%, Technics SP-10 ±0,19%
<両陣営ともほぼ同点で凝り過ぎの高価なターンテーブル・ドライブに拘る必要はないようだ>とコメントしています。当時の販売価格は関税等により海外でDDが高価で日本では海外のBDが高価でした。70年代末の英国HiFi
ChoiceによるとトリオKD-750(1978年頃の海外モデルで日本ではアームが異なるがモータ本体としてはKP-7070相当)が500ポンドでDenon
DP-2500は320ポンド、Linn Sondek LP12(アームなし)は250ポンド、トーレンスのTD-160BC(アームなし)は90ポンド!
[1978年当時の為替レートは1 British Pound≒400円でした] DP-2500はモータDP-2000を採用したシステムですが私が70年代末に買ったとき7万円しませんでした。
上記の%数値はワウフラッターではなく重針圧下でのDriftを試験したようです。またどんなテストレコードを使ったのか等、測定環境が不明です。私のターンテーブルDP−2000でワウフラッターをMJのテストレコードにある3.15kHzを使ってワウフラッターメータで実測したらDIN WTD(W+F)で約0.04% UNWTD(W+F)で0.1%以下、Flutter分0.06%以下になりました。ワウはレコードのセンターリングの精度により変化します。
STYLUS DRAGについて英国WIRELESS WORLD 1981年10月号(P.60)にてGILSONはSTYLUS DRAGの形成要素として以下を挙げています。
A Friction drag/deformed drag:無音溝において針が溝壁を押すことで壁面が一時的に変形することによる摩擦力
B Modulation drag: これの要素を更に3種類述べている
B1 Inertia drag: 溝の加速度に従って針を動かす力(振動部質量には高域では1000Gの力が加わることがある)
B2 Compliance drag: 針を支えている部分の抵抗及び反発力
B3 Transducer drag: 機械振動を電気に変換するときの抵抗力(Inertia及びCompliance dragよりは小さい力)
概してこれらModulation dragが最低針圧(minimum tracking weight)に関係している
AとBの合計としてSTYLUS DRAGは針圧の最低でも15%、最大では60%以上に達する
軸受けの摩擦と針の摩擦のどちらが多く回転に影響を与えるかDP-2000で実験してみました。Stop(電子ブレーキ)を使わずにパワーオフしてから何秒で停止するかを調べました。stylus dragはレコードの外周半径14cmとしました。33回転と45回転の比はほぼ一定でした。レコードスタビライザーを置いて軸受に負担をかけた時の方が針圧付加より影響が大きい結果になりました(スタビライザーは直径が小さいので慣性付加より軸受け摩擦の力の方が大きい)。スタビライザーを少し偏心させて置いてもワウは生じますが停止までの時間は変わらないので側圧への影響は少ないようです。軸受け構造によりこの摩擦係数が違います。プラッターが軽くてもサーボが十分なら重くしても余り意味がないのか? あるいは摩擦抵抗が多くなってもモータの最大駆動力とバランスする限り重い(針の抵抗など無視できるほど摩擦抵抗も慣性力も大きい)ほど良いのか?ーこの辺はよく分かりません。
| Test with DP-2000: Stylus drag, Bearing friction and Inertia | without stylus drag | VTF 1g | VTF 3g | with stabilizer(0.6kg) w/o VTF |
| Steady-state 33rpm to 0 after power off | 13seconds | 12s | 11.5s | 11s |
| Steady-state 45rpm to 0 after power off | 18seconds | 17s | 16s | 15s |
新品の(状態の良い)レコードの摩擦係数の平均は0.3とされており、例えば3gの針圧下で約1gの回転抵抗が生じるわけです。しかし実際には古いレコードで静電防止剤等が析出していたりタバコなどで汚れていると摩擦が増えます。その際の摩擦力は針圧とあまり関係ない値になりそうです。理由はいい加減ですが<動摩擦係数から静摩擦係数への変換><すべりから引き剥がしへ>というのが私の独断的仮説です。アームのインナーフォースでも考えましたが、摩擦の原理は私の理解を超えたものです。摩擦力は<(物質に特有な)動摩擦係数 x 加圧重量>で接触面積に関係しないとされています。理論上は分かります(1つの斜面で2gのものを引き上げるのと、2つの斜面を1gずつ上げるのは同じ仕事量)。では摩擦はどのようにして生じるのか?2つの物質は粗い接触面をもっている。その粗さは一律でなく接触面の多い方が異形(例えば鉤型)同士がぶつかる確率が多くなり、実際の摩擦抵抗は接触面の形状で変わるのでは?アンチ・スケーティング装置に丸針用楕円針用などの調整が出来るアームもあります。私の経験では楕円針のほうが丸針より摩擦が多いとは必ずしもいえないようです。これは針自体の品質で違いがでるのかもしれません。エンパイアの598トルバドールに搭載のアーム(990)のバイアス設定表では、円針に対しては楕円針より大目にするようになっていました - マイクロ等のアームの丸針設定と逆。
1975年頃には一定負荷だけでなくインパルス負荷でのターンテーブルの回転変化(インパルスレスポンス)なども真面目に研究されていたようです。以下はビクターのターンテーブル関連のカタログ(1977年)からピックアップしました。<FG検出部は180スロットのFG磁気円盤と180極に相当するFG基盤プリントコイルから成る精密構造で、きわめて高い回転精度が得られます>とあります。図は実測ではなく慣性質量とトルクタイミングによるシミュレーションのようで、ターンテーブル慣性質量が少なすぎるとオーバーシュートが発生することを示しています。縦軸の0.001 radian/secは約0.057degree/secで100/3回転(200degrees/sec)に対しては平均すれば0.029%の変化に過ぎませんが、瞬間的変動は平均変化以上に酷く感じられると思います。しかし翻ってインパルス負荷の原因を考えてみると、それは通常の音溝ではなく異常に摩擦が増えた状態の盤を汚れた針先でトレースした場合に生じる事であって、いくらインパルス負荷が優れていても実際の再生音にはあまり寄与しないのではないかと思っています(もちろん程度の問題)。

”ワウと感じられるもの”の原因は回転数の変化よりも針が溝上をスムーズに滑らないことにより針の縦方向の動きに変化が起きる場合の方が多いと思っています。針は転がり摩擦ではなく、すべり摩擦をしながら溝上を”無理やり”トレースします。下図は溝の換わりに針が動いているように見えますが、実際には同じことです。これに危うさを感じない神経の持ち主を私は尊敬します。もしも針が一点でロック(stick)したら、カンチレバーの角度が変化するかダンパーが伸張します。マスターテープ*でも起こるこの弾性現象を"stick-slip
behavior/motion"と呼ぶそうです(Klaus氏の報告によれば1950年代半ばHuntやBarlow等によりレコード盤のsurface
noiseの一因として既に指摘されていたそうです)。
*テープの長さ方向の伸縮による所謂scrape
flutterについてはBehrenとYoungquistによるAESレポート(1955年)の要約に"Certain
noise effects associated with high-frequency recorded signals are attributable
to rapid fluctuations in the speed of the magnetic tape as it passes over the
recording heads. The high-frequency tape flutter may be caused by resonant
longitudinal vibrations which are excited by random frictional forces. The
flutter rate can be determined theoretically from a consideration of the
mechanical properties of magnetic tape, and the calculations verified by actual
measurement with a frequency discriminator and spectrum analyzer."とあり1952年スイス逓信省の技師はガイドとヘッドを固定した場合「全オープンテープの共振周波数は675〜860Hzの間にあった」と報告し回転ガイドの使用を推奨しました。当時Large
Hubがリール内外周のヘッド接触圧変化が少なく伸率の変化も少ないので有利なことも知られていました。レコード盤と針の摩擦による無音溝のノイズについては決定的な報告を知りませんーさらに音溝との針の摩擦量は定性的に決定することが出来ないので実測値や経験値としてしか示されていません(Rangabe/JVC)。

妹のTechnics SL-1600は未だ現役ですが、オルガンのレコードをかけたら音が変です。細かくリズムを刻むポピュラー音楽では気が付かなかったようです。そのレコードを我が家へ持ってきて軽くクリーニングしてからかけましたがやはりワウが聞こえます。針先を見ると黒いゴミがくっ付いています。もう一度綺麗な針でラッセルするとその溝は以後ワウを発生することが少なくなりクリアな音になりました。カビが生えているものはクリーニングしても改善出来ないこともありますが(カビの根はカメラのレンズまで侵すことがある)、表面のゴミ汚れの場合はクリーニングや繰り返し再生による効果が顕著にあらわれます。私の場合、回転する盤の表面を指で軽く触れることにより盤の汚れ具合をチェックしていますが他の人には薦められません(指の皮脂により後々雑音の原因になる)。目視で綺麗に見えても粘りやザラつきを感じる盤は汚れており、クリーニングし甲斐があります。上記のstick-slip behavior/motionの影響はクリーニングによって改善されることがあるようです。
DDターンテーブルには80g負荷がかかっていても回転数を維持するものがありますが、変動する負荷についての性能ではありません。変動する負荷に対し、たとえ回転数が変わらなくとも変動するstylus dragは針先を通じて再生音に影響します。従って一定負荷80gの性能は重要ではありません(DDモータの最大駆動力を示しているだけです)。この手の能書きに騙される人やブランドや方式など見掛けしか見ない人が多いと感じます。
実際にランブルがどんなものかBSRのリムドライブでしか体験できませんが、カタログを読むたびに不思議に思っていたことがあります。
JISのSN比とDINのランブル比は似ているようで違う。 JISよりDIN Bの方が数値が良くなるので最近は皆DIN Bで表示しているようです。使用するフィルターの違いだけでなく1kHz基準レベルに換算した速度振幅も異なります(1kHzにおけるレコードの基準信号レベル0dBは測定目的によって様々)。JISとNABはバンドパスだけで聴感補正測定カーブを採用しなかったが、1971年3月制定のDIN45539(ランブル測定法)/45544(ランブルテストレコード)が後に国際標準になったようだ。
JIS C5521-1975〔ホノモータ試験方法](1965年制定、1975年最終改正、1994年廃止)によるSN比測定方法は以下の通り:一部編集してあります
測定上必要がある場合にはホノモータをこれより軽い板(ホノモータの質量1kg以下のものは1kgとする)に取り付け、全体の自由振動が10Hz以下になるようにスプリングなどで適当な台上に支持し、標準使用状態において,
ステレオ基準レコードJIS
C5514のSS-2の1kHz速度振幅5cm/s音溝の出力電圧、及び無音溝の出力電圧を次の条件に従って測定する。
(1) 1000Hz音溝の出力電圧は、ピックアップと増幅器の電気的総合再生特性を1000Hzと30Hzとの間がJIS
S8502に規定された標準再生特性に対し、1000Hzで合わせて±3dB以内の偏差となるよう調整する。
(2) 無音溝の出力電圧は、ピックアップと増幅器の電気的総合再生特性を(1)の特性に対し300Hz以上をオクターブ当り6dBでカットオフして測定する(バンドパスフィルター:LPF
300Hz-6dB/OctとSUBSONIC FILTER 30Hzを通して測る)。
(3) ステレオピックアップで試験する場合は、左チャンネルで測定する(測定に疑義のある場合は右チャンネルも測定)。
(4) 公称回転数が二つあるものは、遅い回転数で測定する。
(5) ピックアップ組込形にあっては、(1)の代わりにその組み込まれたピックアップを使用して測定してもよいが、(1)を満足しないピックアップ組込形の測定結果は参考値にとどめ表示項目からをSN比を除外する。
標準使用状態とは:針先曲率半径13−20ミクロン(内包角40−60度)の針を針圧範囲内の最大針圧でレコードの中心からLPで120mm(EPで80mm)付近に載せること。バンドパスフィルターについて1975年最終版の解説では「無音溝の出力電圧の測定において、300Hz以上を6dB/Octでカットオフして測定するのは、ホノモータとしての振動の主成分が100Hz前後の低域にあり、ホノモータに起因しない振動雑音が混入するのを防ぐためである。また、30Hz以下は基準レコードのSN比が保証されていないため、-40dB/Oct程度でカットオフして測定してもよい」としています。1kHz速度振幅5cm/sとあるのでステレオ溝ではなくモノラル溝で測定したらしい。
「30Hz以下は基準レコードのSN比が保証されていない」のと無音溝0Hzとの関連は不明ですがステレオ盤のSNはモノラル盤に劣ることが知られています。
S/N=20log10(1kHz 5cm/secでの出力電圧÷無音溝の出力電圧)
レコード自体にランブルが含まれる恐れ(主に高さの変動)があるので厳密を期して(特性を上げるため)無音溝は別途、未録音ラッカー盤やガラス板など用いることがあるそうです。さらにレコードに録音できる最大速度振幅は約20cm/secから5cm/secに対して12dBのゲインを上記で測ったS/Nに足している疑いもあります。するとS/N50dB程度の物でも62dBのダイナミックレンジになります(めでたしめでたし)。上記のS出力には雑音が含まれているので(S-N)/Nが真のSN比ではないかとの素朴な疑問がありますが、SN比が十分に大きい時(20dB以上あるとき)には通常のSN比と真のSN比との差は1dB以下なので問題視されない。通常のSN比が40dBの時、真のSN比は39.91dBで0.09dBの違いしかありません。
DIN45544 Rumble Test Record: Side A(315Hzを15秒ずつ左・右・縦・横記録した後に直径120mmまで通常の音溝と同じ高密度ピッチで切ってある長時間の無音溝)でランブル電圧比=20log10(315Hz
尖塔値5.42cm/secの音溝での出力電圧÷無音溝の出力電圧)を測る。何故315Hzで5.42cm/sなのかはRIAA EQを通した出力電圧が1kHz
10cm/sに相当するので比較しやすいから(1971年のDINでEQ差を5.32dBとしたがIEC98(1987)では5.18dBに基づき315Hz
5.51cm/sに訂正している)。315Hzにした別の理由は:その周波数がランブル電圧の評価カーブの上限周波数でS/Nの評価直線部に当たるから。合計3個(LPF/SUBSONIC/HPF)のフィルターを使い分けて測定し
1)10〜315Hzフラットのバンドパスフィルターを通したS/Nの評価直線部(=Unweighted):これをランブル干渉電圧比(Rumpel-Fremdspannungabstand=Rumble
interference voltage distance)と呼びDIN45500(Hi-Fi
technics; requirements for disk record reproducing equipments)&IEC60581-3(Minimum
performance requirements)では35dB以上必要としている。<1964年3月のNAB推奨テスト信号はモノラル100Hz
1.4cm/s peak(1kHzに換算すると6.3cm/s)だったので同じフィルターを使ってもモノラルでは4dB、ステレオでは7dB低く表示される。尚NABではランブル雑音電圧比は測定しない>と説明されています。JISのモノラル1kHz速度振幅5cm/sではさらに低い数値になるはずです。
2)315Hzを頂点に左右-12dB/Octとして聴感補正した評価カーブ(=Weighted):これをランブル雑音電圧比(Rumpel-Geraeuschspannungabstand=Rumble
noise voltage distance)としDIN45500&IEC60581-3では55dBを最低限と提示している。
B&Kの資料を見るとDIN BといっているのはFILTER B(315Hzを頂点にして左右-12dB/Oct)での特性値らしい。B&KのLadegaard(1977)によると<FILTER BはFILTER Aよりも良い数値が出るが、65dBの領域ではカートリッジやプリアンプからの暗雑音に近くターンテーブルの質を語るものではない。FILTER Aだと20dBくらい悪化するがそれもカートリッジやアームの共振周波数に影響されているだけだ。ランブルのスペクトラムを分析しないとモータの振動によるランブルは分からない>。ちなみに1977年当時の彼のいうFILTER
AのSUBSONICフィルター特性(DINと同じ?)は約10Hz以下-6dB/Octで現在のIECの20Hz以下-18dB/Octのフィルター特性と異なります。スペクトラム測定は10〜50Hz間のランブル障害の質と量を見る新しい方法でターンテーブルを開発改善する際のチューニングに不可欠とのことです(なにかB&Kの測定機器の宣伝みたいに聞こえます)。因みにDIN
45500 T3 (1975)及びIEC
60581-3(1978)で推奨されるS/N最低値はmore
than 35dB unweighted and 55dB weightedでした。LPレコード盤自体のSN比が55dB前後なのでそれ以上あっても気持ち程度。
DIN45544 Rumble Test Record: Side Bは速度振幅0.54cm/secの315Hzを15秒間横記録した後は無音溝。何故0.54cm/secなのかは1kHz 10cm/sec peakの-20dBに相当するので比較しやすいから(これも正確なイコライザー比では0.551cm/sなのだが、例によって当時の計算ミスを不用意に採用したものと思われるー同じ時定数を採用しているのでそのような特殊なイコライザーカーブがあったわけではない)。A面との違いは測定の目的が異なる。溝径に依存する自動化(Auto Stop)の影響やランブル電圧の変化や箱との音響的カップリング状態などを見る。B面の大部分を占める無音溝(直径120mmまで切ってある)は1回転の送りピッチ幅が0.54mm(即ち0.3mm/sec)になっているので記録紙の送りを0.3mm/secに合わせて同期すれば何処で障害が起こるか分かる。
IEC98-1987はDINと同じですが:Unweighted(バンドパス)もしくはWeighted(聴感補正カーブ)で左右チャンネルを測定しその最小値(=最悪値)を表す。モノラル再生機器の場合はモノラル溝(水平記録)を使い測定する。測定周波数のレベルが1kHz換算でステレオ(45度方向L/R)速度振幅10cm/sに相当する限り、測定周波数は315Hzでなくても良いとされています。従って1kHz 10cm/sのステレオ溝で測定しても同等になります。IECがHPFを20Hz以下18dB/Octに変更した理由は:アームとカートリッジの低域共振が10Hz前後にあるので、その影響を抑えるためだと思います(DINとJISの折衷案)。IECはDINと似ていますが最悪値を表示するように推奨しているのでメーカーのカタログでは採用されていないのが現実です。DIN B(weighted)と明記されているものでもDIN本来の主旨(ステレオ・ピックアップはステレオ溝で測定し、モノラル・ピックアップはモノラル溝で測定)は守られず、一番数字が稼げる水平モノラル溝での測定値を示しているようです。測定の何処がDINだと問えば評価カーブがDINだと言い抜けるでしょう。消費者(皮相なマニア)は数字は大きければよいと考える傾向があります。
ランブル測定評価用のフィルターの例:DIN 45539-1971/JIS
C5521-1975/IEC98-1987ーそれぞれ微妙に違っていることに注目ください。感想:ランブルの評価はカートリッジでピックアップした電圧を基にしていますが、盤のカッテングやカートリッジのトレース自身にそれぞれ1%程度の歪が含まれているので、これらの測定は相対評価にしかならず、最低限の値(ランブルweighted 55dB)をクリヤさえしていれば、もはや音質上の差異を語るものではない。
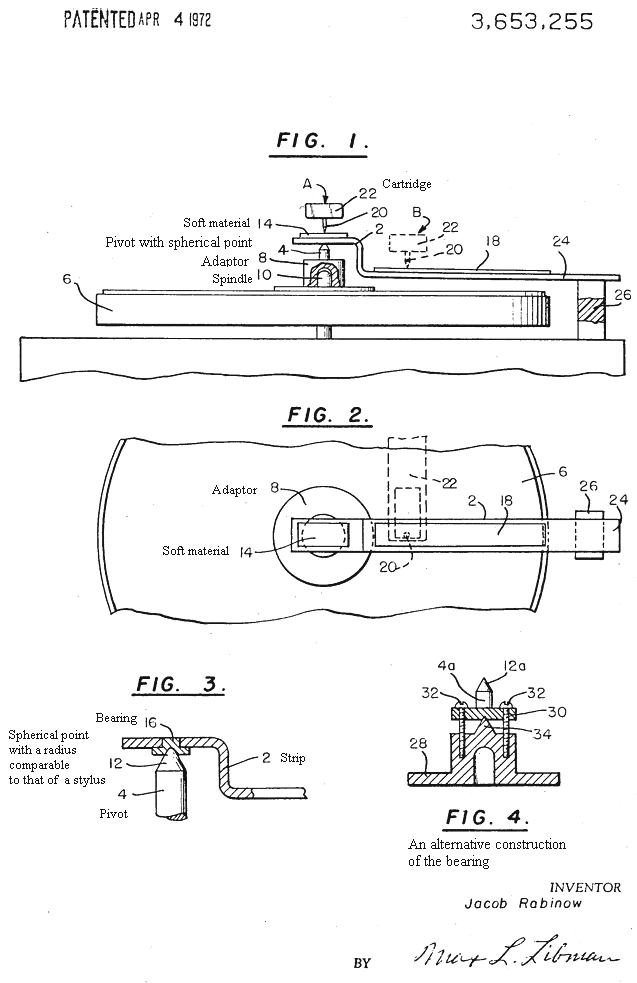
余談:そこで1978年Thorensはテストレコードを使わずにランブルを測定するために新しい治具(Rumpelmesskoppler=rumble
test coupler)を開発しスピンドルの振動を測ることによりローレベルまでのランブル測定を目指しました[Rabinowの米国特許3653255-1972のRumble
Testerにヒントを得たようです]。その治具を使って社外でテストした80年代初めの報告では最大6〜10dB程良いランブル数値が出る場合があるくらいで従来の測定結果の傾向(つまり機種間の相対数値)に余り変化は見られなかったようです。ターンテーブルのスピンドルに被せるこの特殊治具は、ターンテーブルが回転しても治具の先にあるカートリッジの針を載せるところが回転しないように治具の中に”摩擦のない=回転しない軸”を設ける構造でしたが世界標準にはなりえませんでした。あの特殊治具はセンタースピンドルの振動や機械強度を知るための一つの道具・方法としては有効だったようです。ランブル数値は針を置くレコードの溝径によっても変化し、一般に内周側より外周側の方がランブルの影響が大きいー高さ変化も大きいせいでしょうか?1975年以降のハイファイ製品でははっきり分かるランブル(ゴトゴト・ゴロゴロ・ガタガタ)が事実上発生せず機械的ランブルの意味は形骸化し、電気系ハムを含んだSNの意味に置き換えられてしまったのではないか?トーレンスの試みは言葉の意味からも純正ランブル測定であり、DINなどのランブル測定は事実上(電気系統のハム+ランブル=)SNを測っていることになるのか?使用フィルターの適正も含め測定方法が問われるほどのレベルでは、もはや数値競争は意味を成さないと思います。トーレンスはスイスのサンクロアに興した歴史のある会社でオルゴールやレコードプレーヤだけでなくHermann
THORENS SA時代にはタバコケースやオイルライターやスキーのバインダー等も製造していました。1966年にEMT
Wilhelm Franzと連携しTHORENS-FRANZ AGになったそうです。サンクロアはシンギングバードやオルゴールや時計の産地でパイヤール社やリュージュ社などもある土地柄でした。



主にワウ・フラッターは横方向の変化でランブルは縦方向の変化で、どちらも回転軸・軸受け・Platter等の工作精度と性能維持のメンテナンスに依存するようです。カートリッジとレコードを使わないモータ単独の測定方法も各社社内で行われていたようですが、表示数値に互換性がないので最近は見なくなりました。
JIS C5521-1975によるテスト項目には「回転盤の振れ」がありました。測定法は次の通りです〔編集してあります]:
各測定はレコード保護板(ゴム、プラスチックなど)をのぞいた状態で行う。
(1)
静止上下振れ:回転盤を静止させた状態で、回転盤の直径250mmの一端に50gの質量のおもりをのせ、次にその直径の他端に重量を移した時、その点での上下の振れを測定する。備考:直径250mm以外の直径D(mm)の位置におもりをのせる場合には、質量Wは次の式により換算する。ただし、150gを超えないこと。
W(g)=50 x 250/D
(2) 回転上下振れ:回転盤を回転させ、外形から10mm内側の上面で回転盤の上下の振れを測定する。
(1)及び(2)で得られた上下振れに基づき、次の式によってそれぞれの振れを算出する。
振れ=測定点での上下振れ(mm)÷回転盤上の測定位置(半径mm)
(3) 回転横振れ:回転盤を回転させ、回転盤の周辺の駆動面において測定する。ただし、駆動面が内周面のもので、これが外周面と同心とみなされるものは外周面で測定してもよい。
「静止上下振れは、最近のピックアップの最大針圧が特性の向上によって、ほどんどのものが10g以下であることから安全率を5とし、回転盤の静止上下振れの試験のおもりを50gとした。試験に当ってダイヤルゲージなどを使用する場合は、その測定圧についての考慮が必要であり、できるだけ軽測定圧(30g以下)のものを使用する必要がある。測定圧が測定に影響を及ぼすと考えられた場合は、これを補償しなければならない。回転上下振れと回転横振れは、回転盤を駆動用モータで回転して試験する。試験にダイヤルゲージを使用する場合は、できるだけ軽測定圧のものでなければならない。」と解説されています。
内外の一流品についてプラッターの振れなどを調べた1980年頃のテストレポートでは、上下たわみは50g付加で最大0.04mm程度、上下ブレは最悪0.23mm、偏芯幅(横振れ)は最悪0.21mm程度でしたーこれらの数値はマットやレコード自体の不整形と比べると無視できるレベルです。フローティングサブシャーシ構造の静止上下振れが比較的大き目になるのは当然で、そのコンプライアンスゆえに共振周波数も低くなりインシュレーターとしての効果(遮断特性)があることを意味しています。つまり「振れ」をテストしても音響性能面との関係は希薄で単に工作精度と機械強度の一面を示したに過ぎません。
IEC60581-3(1978)では50dB以上必要としていますが、これについては現在の機種のカタログでは言及されていません。その必要がなくなったか上記のランブルS/Nにその要素が既に含まれているからなのかは不明です。漏れ磁束について山本氏は次のように述べています:<SP時代のホノモータとピックアップの組み合わせではこれが重大な問題点で、モータの取り付け位置とピックアップの動作範囲とを適当な位置関係にして、この誘導磁界の影響を逃げたものです。しかし最近のホノモータとピックアップの組み合わせではそれほど問題になることはありません。それは、最近のホノモータは極数が多くなり、磁気的にバランスが良く取れているものが多いので、漏れ磁束が比較的少なくなっていることと、カートリッジのシールドが効果的に行われているためと考えられます。>
IEC98(1987)の記述ではランブルテストと同じレコードを使い誘導ハム電圧比=20log10(315Hz 尖塔値5.51cm/secの音溝でのカートリッジ出力÷誘導ハム出力電圧)を測るとしています。誘導ハム出力電圧とはスピンドル中心から半径5-15cmの範囲で針先を回転しているプラッター上2.5mmの位置に置いたときカートリッジから出る雑音電圧です。ステレオ装置では左右チャンネルを測定しその最小値(=最悪値)を表すとしています。カートリッジ(のシールド状態*)でこの値が変化することやアームを含めた測定系の誘導ハムの影響が出るなど定性的な実効値が出ないので発表されなくなったのではないかと思います。*注:1970年代後半一部のメーカー(Empire/Thorensなど)でピックアップのハム感度(Hum Sensibility/Brummempfindlichkeit)が0.34μV/A/m(60 Hz)やless than 0.2uV/A/m(50Hz)などと記述されたこともありましたが、その測定方法と単位の意味(Aとmは何か)については不明瞭です(ダイナミックマイクのElectromagnetic Hum Sensibilityは-94dBV in a 1 oersted, 60Hz fieldなどとして記述されます)。後記:磁場の強度はCGS単位系ではエルステッドOeですがMKSA単位系ではA/mで、1 Oeは80 A/mに相当するらしい。
JIS C5521-1975によるテスト項目にも「電磁誘導」がありました:回転盤上高さ8mmの測定基準面に図2に示すサーチコイルの中心を置き、ピックアップカートリッジの使用される範囲において、ホノモータを定格電圧、定格周波数の電源に接続し、任意の軸方向におけるコイルの最大誘起電圧を測定し、最大漏れ磁束密度を算出する。備考:サーチコイルのボビンは石炭酸樹脂又はこれと同等の材料とする。

「サーチコイルを円筒形から球状にしたので、従来ターンテーブルの面に対して垂直方向だけの漏れ磁束しか測定できなかったが、これによっていかなる方向の漏れ磁束も測定誤差を少なく測定可能となった。球状サーチコイルの直径を決定するに当っては、国内で現在製造中のピックアップカートリッジについて、カートリッジの針先から感磁体の中心部までの寸法を調査して決めた。」と解説されていますが、実際に適用された測定例を知りません。最大漏れ磁束密度[B=E*10^12/(2pfnS)]の絶対値を測定しても、実際に使用されるカートリッジとの関係は希薄なので実効のないものに終わったようです。B:最大漏れ磁束密度(0.1μT) E:コイルの最大誘起電圧(V) f:電源周波数(Hz) n:コイルの巻回数 S:コイルの断面積(mm2) D:コイルの外径(mm)とした時S=(p/4)*((D+8)/2)^2 「エナメル線の直径0.1mm、巻回数を1000とした場合、図2のコイル外形は約15mm、コイル断面積S=(529/16)*pmm2となり、電源周波数を50Hz、磁束密度を規格値の0.5μTとして計算式を適用すれば誘起電圧E(V)=1.6x10^(-5)となる」とサーチコイルの一例を挙げています。規格値の0.5μT(マイクロテスラ)がターンテーブルとしてどんなレベルなのか不明です。どうもテレビ画像の揺れ評価などを参考にした閾値のようで音質評価とは無縁のものと思われます。
なんと21世紀になっても米国のCEA(Consumer Electronics Association)ではターンテーブルの測定についての規格(CEA-11)を発表しています。目次だけはネットで読むことができました。測定項目だけ列記すると:
Primary Specification
Speed
Speed Drift
Wow and Flutter
Signal to Rumble Ratio
Signal-to-Noise Ratio
Lateral Tracking Angle Error
Cartridge Weight Range
Static Vertical Tracking Range
Cable Capacitance
Effective Vertical Mass of Tone Arm
Secondary Specification
Time for Turntable to Reach Desired Speed
Load Effect (Drag)
Pitch Adjustment Range
Cycle Time of Multiplay (Record Changer)
Mechanical Sensibility of Tone Arm
Speed Accuracy as a Function of Line Voltage
Signal-to-Rumble (Unweighted)
CEAの文書のNoticeが振るっています。1987年以降IECはアナログレコードの規格を更新していないことを揶揄しているように感じました:
"This CEA Standard is considered to have International Standards
implication, but the International Electrotechnical Commission activity has not
progressed to the point where a valid comparison between the CEA Standard and
IEC document can be made."
CEA-11の前書きには次の文章がありました:
"We are deeply indebted to the National Association of Broadcasters
(NAB), Deutsche Industrie Normen (DIN) and the Electronic Industries Association
of Japan (EIAJ) for allowing us to excerpt from their Standards and many of their methods of measurement."
最近はアームを含めたターンテーブルシステムの意味で”ターンテーブル”を使うことが多い。フォノモータが単売されていた時代を知る人には馴染めない用語だが世界的にはレコードプレーヤーシステムをターンテーブルと呼ぶのが現在では一般化している。フォノモータという古い呼び方も日本以外ではほどんど使われていない。用語は各時代、各国の事情によリ変化するので、懐古的擬古的用語が共存してもおかしくない。今でもエジソン式のシリンダーについてではなくレコード盤についてもPhonographという言葉が使われることもあるので、単に発言者・表現者の趣味としか言いようがない。同時代的にその時代を知らない者の方がむしろ擬古的用語を使うことが多いようだ(米国特許を見るとphonomotorと呼んでいるのは主に日本の技術者ーフォノモータといえばSP時代には主にゼンマイのネジ巻き式のものを指していた)。