ジャンク・アーム計画:

上図のナットを締め付けすぎると回転が鈍り、緩いとガタが生じます。トリオは以下の発明をしましたが実際に応用されたものは見たことがありません。バネなどで接触圧を一定にしガタが生じないようにするユニークな発明(Fig.3)で、ハウリング時のダンプ効果も示されています(Fig.7は通常のベアリング支持方法における回転軸振動、Fig.8は張力が十分でない場合、Fig.9は300gほどの十分な張力で固定した場合の回転軸振動)。下側のベアリングを押さえるプレートとナットの間に緩衝材やコイルスプリングなどを挟む構造にすれば実用になるのではないでしょうか?私は既存の製品(Fig.2Bのタイプ)にダンプ材料を挟んで締め付けたりいろいろ実験していますが、ミクロン単位の世界では温度膨張によるギャップの微妙な変化などもあり、ギャップ調整や締め付け力調整を<どこまでやるか>の判断ができないでいます。<はじけた音>が出て喜んだりしても良く調べてみると締め付けが緩く共振が出ているだけだったり、締め付けすぎて面白みが無いdullな音になったり一喜一憂したことがあります。寺垣さんも上下回転軸の方を支柱にしバネで針圧を調整する発明をしていました(オーディオテクニカ名義で公開特許S61-296502までで特許に至らず)。トリオの方は回転感度に影響を与えることに当初は考慮していなかった(日本の実用新案申請S53-111883/実用登録1642052)が後にFig.10のように磁石でテンションを与え回転に影響を及ぼさない工夫をしました(実用新案申請S53-111884/実用登録1635970)。もっと古くデンマークのH.C.HansenもGB1192041−1970にてスプリングを利用した支持方法を示していました(但しその主眼は上部ベアリングの窪みを傾斜させることにより、演奏時アームに働くインサイドフォース(tracking effect)による回転力を補正することにあり、スプリングの圧縮調整によりインサイドフォースをキャンセルするものでした)。



一般的にアームの感度は水平側(ボールベアリング)より上下側(細軸ピボット)のほうが高いものが多い。水平側のボールベアリング回転感度は1g/cm程度らしい。実効長が23cmなら針先から見た水平感度は23分の1で43mg程度になる。ワンポイント軸受けでもボールベアリングを使ったKeith Monksのようなアームはあまり感度はよくない。シリコンオイルでダンプするとさらに感度は悪くなる。
ワンポイントを試作。
Keith Monksのワンポイント軸受けを参考にする。3個のボールがセパレータを介して配列されている。それを直径2.3mmのピンで受ける仕組み。下の写真のようなセパレータつきベアリングが手に入らないので、偶数個のボールでセパレータなしにしたら如何か?その場合ボールは接触し互いに反回転するので転がり摩擦ではなく滑り摩擦しか期待できない。



市販のワンポイントは多くがオイルダンプされている。その理由は「1.高感度なため内部配線の影響でトレース位置により水平が保たれない
2.左右のシーソー運動を止めるものがない」からではないかと思う。アンチスケーティングも掛けにくい。TNTのページAn
Interview with Pierre Lurne on Analogue Thoughtsも参考になる。つまり、前後上下方向のInertiaに比べてアーム軸を中心にした捻りのInertiaは少ないのでオイルダンプで抵抗を増やしたり、アーム軸上に水平に十字型の張り出しを設けて捻りに対するInertiaを増やしている。これを考えるとカートリッジの高さ(厚み)もある程度あったほうがよさそうだ。細い棒の先に針をつけて針先・支点・錘の中心を水平面上に置くのは一見よさそうで、発電システムから見るとそうではないー針と支点を結ぶ軸でシェルの頭だけが左右に振れ発電のロスが生じる恐れがある。ヤジロベイ・振子としての周期も上下が遅く左右が早い。
後記:...と分かったようなことを書きましたが、カウンター錘の軸は以下のようなデザインではだめでした。ターンテーブルを回さずにレコード盤に下ろした状態で左右バランスが取れて水平でも、回転した音溝に針を下ろすとシェルが傾いてしまいます。stylus
dragの分力side forceに対応するためにも軸をクランク状にするか
Keith Monksのように錘穴自体を偏芯させるなど<捻りのInertiaを増やす工夫>が必要でした。<補助輪を使わない完全なワンポイント軸受け>にアンチスケート機構を設けるのは困難ですがKeith
Monksでは磁石を使って解決しています。Keith
Monksの磁気式アンチスケーティング機構をご覧ください。
素材集めと加工過程ー失敗とやり繰りの連続:
硬球とピアノ線を用意しピアノ線から円錐ピンを作ることを計画したが、NP管継手キャップの中心を円錐溝加工した状態で試しにボールペンの頭で回転させてみると、なんと3分以上回る! これは良い。ワンボール・ワンポイント軸受け! それにKMばりのオイル層を組み込む。管継手キャップ(3/4inch)に1mm厚アルミパイプ(20cmxφ10)をはめ込んでネジ止め。左下の画像はギャップを確認しているところ。中の透明な管は右の画像のように円錐溝の周りに取り付ける。ボールペンの先は普通の0.5mmから極太の1.2mmまである。各種ドリル刃先を使った私の雑な円錐加工と調子の合うのは1.2mmの方だった。ボールの直径も1.2mm位ある(軸の直径は2.3mm)。


シェルはマグネシウム合金ブロックから切り出す。マグネシウム合金は白錆が出るので黒漆を塗ってみたが数日過ぎると剥離してしまう。アルミや鉄には塗装できたのに不思議。特殊なプライマーが必要らしい。マグネシウム合金はMgスタジアムから入手しました(そこではマグネシウム合金端材がグラム当たり約2.4円程度で売られていました)。海水に浸したとき「イオンになり易い順序=腐食し易い順序は、マグネシウム→亜鉛→アルミニウム→低炭素鋼→高炭素鋼→鋳鉄→しんちゅう→銅→ニッケル→銀→ステンレス→チタン」とのことです。マグネシウム粉末は発火しやすいので加工の時には特に注意が必要です。そういえば昔の一回きりのフラッシュ撮影にはマグネシウムの閃光粉が使われ<マグネシウムを焚く>と表現していた。
シェルとパイプは嵌合にした。締め付けボルト位置を上にしたことと(下だと加工する自信がないのとレコード面に接触する恐れがある)マグネシウム合金は他の素材よりも伸び率が少ない(6%)ことから締め付け力が必要になる。そこで割り込みをシェルの頭の方まで入れる羽目になったーこんな形状のシェルは知らない! カートリッジ取り付け穴位置はPSA(オフセットなし)と19.5-24度の2箇所(穴の角度は約21.5-26度)。アームの加工角度誤差は約0.5度以内。針先から見たアームの実効質量(カートリッジなし)は11-13g程度。針位置をカートリッジ取り付け穴から9.5mmとした実効長は微調整可能だが、PSAは245mm、オフセット位置では243mm位になった。
Weight System: 錘軸は6mmの全ネジ真鍮ロッドを加工(取り付け側を4mmにしネジを立てた)。それに合う高ナットの周りに鉛を巻いて作った錘を嵌める。鉛が手に触れるのは気持ち悪いので抵当な容器に入れた。カートリッジの自重が13gまでを目標にすればバランス錘は100gでよいようだ。錘軸はゴムブッシュを嵌めてネジ止めしたが、最適な結合係数の計算方法と数値を知らないので締め付け力はいい加減。多くのアームが弾性体で錘軸をアーム軸と分離している。山水電気の技術陣が<THE OPTIMUM PIVOT POSITION ON TONEARM>と題してAESに1978年Presentationした文献(AES preprint no.1390) があり、そこで図(Fig.6-9)とDynamic Damping(=Spring-loaded Weight System)の計算式が示されているのですが私にはチンプンカンプン。式の意味を理解できたとしてもダンパーオイル+スプリングの係数と形状まで考慮して設計製作できるのは一部のメーカーだけではないでしょうか? どうも市販のアームは私同様、見かけだけ錘軸を切り離したり、カートリッジの重さにバランスする錘を恣意に選んでいるように思えてなりませんーこれは負け惜しみですね。AESの資料は以下のように述べています。
(P.2) Of late, the attention of tonearm designers has been focused
especially on the Low-frequency resonance which is caused by the inertia moment
of a tonearm and its stylus tip compliance. They have found that such resonance
often results in a kind of frequency modulation of the audio signal [Moeller].
In another development, the so-called dynamic damping theory [Bauer] has emerged
as a way of attenuating the low-frequency resonance of a tonearm, and several
products incorporating the benefits of this theory have already appeared on the
marketplace.
Such dynamically damped tonearms seem to be either of a design which divides the
cartridge-fitted front portion of a tonearm and inserts a rubber damper at the
junction, or of a design which divides the counterweight-equipped rear portion
of a tonearm and damps it with a spring and silicon oil. (P.10) It is
conceivably possible, by successfully tuning the spring-loaded weight system to
the resonant part of the tubing system, to damp low-frequency resonance of the
entire tonearm system.

興味のある方の為にHP内リンクを張ります:英語全文(pdf) とその私訳(doc)。
とにかく、ゴム素材で分離している理由はアームチューブの共振をトーンアームシステム全体の共振と分離することに在るようですが、下手をすると共振点を増すだけかも知れません-その場合、分割共振は比較的高い周波数150-500Hzに出るらしい。 錘軸をゴム素材で分離しただけでは完全なDynamic Damping(一種のTrap回路)にはならないので、低域共振のダンピング効果はそれほど期待できないようです。但し、山水の論旨を読むと針先において支点からの有害上下振動の影響を受けにくくすると同時に針先の運動が支点に漏れてロスを生じないようにするにはアームの静的な重心位置は支点に近く、錘部をのぞいた剛体の動的な重心は支点から大分離れた所にある方がよいようです。<振動中心><慣性中心><衝撃中心>いわゆる打撃の中心理論を思い起こします。サンスイの論文末尾に示されているアームの外観はSR-535やSR-636に搭載されたドラム形の質量集中型軸受け(US Design Patent D251003&D252393−1979)ですが、<最適支持点>の理論が実際のアームに応用されたのは80年前後の数モデル(XR-Q9,XR-Q7 &SR-222MKVなど)に限られるようでDynaoptimum Balanced Arm (D.O.B. Tonearm)と称していましたー日本では特許1199833/特開S52-54604も取得しています。80年前後、メカニカルダンプからエレクトロニックサーボアームへと技術の主流が移り、そしていつのまにかその電子アームも姿を消しました。現在、再発もしくは製造されているものは旧来のアームの形です。



アームの全容:左右のラテラルバランスはシェルの取り付けネジを調整してシェルごと水平にする構造です。アームレストは暫定です-長く伸びたアームレストが共振源になることも多いので本当はアーム台と分離した構造のものが良いようです。シールドしない線をRCA接続して音出しをしましたがハムを拾います。回りの金属アームレスト・3本の足をアースすることによりハムは激減しました。尚、アームのアースはシェル・パイプに導通するキャップのネジから取りました。アームのアース線を信号線と一緒に束ねないことがハムを防ぐ秘訣のようです

カートリッジとアームの共振を後で実験するためにInertiaを概算しましたが、果たして整合するかは後のお楽しみ。ADC XLM+Fitting=6gを対象にした場合、Counter Weightの位置は下の表にあるとおり針圧1g(正確には23.55/24.5=0.96g)の時2.75cm。Pich-up Head(Cartridge+Shell)が全Inertiaの6割がたになっています。計算は錘とアームを剛体と見なした場合で、しかも重心位置が支点から余り離れない場合です。
| Length: (cm) | Distance from pivot: (cm) | Weight: (g) | Moment of Inertia (gcm2) | Portion of inertia | Effective mass as seen from stylus point | |
| Inertia for small diameter rod is expressed as m*a^2/3 (m=mass, a=length) | ||||||
| Rod for Counterweight | 5 | 0.8 | 11 | 143 | 1.3% | 0.24g |
| Wand | 20 | 1 | 15 | 2315 | 21.8% | 3.86g |
| Wires | 22 | 0.4 | 65 | 0.6% | 0.11g | |
| Counter Weight | 2 | 2.75 | 98.8 | 1437 | 13.5% | 2.39g |
| Rotating inertia is expressed as m*r^2 (assuming particle of mass to be concentrated at radius) | ||||||
| Tips for wires | 22 | 0.2 | 97 | 0.9% | 0.16g | |
| Shell | 22 | 6.3 | 3049 | 28.8% | 5.08g | |
| Cartridge | 23.55 | 6 | 3328 | 31.4% | 5.54g | |
| Centre Cap | 1.5 | 76.9 | 173 | 1.6% | 0.29g | |
| TOTAL Approximated as | 214.6 | 10605 | 100% | 17.7g | ||
| Effective mass at stylus position (24.5cm from pivot) | 17.7g calculated from 10605/24.5^2 | |||||
| Relation between balance position & cartridge weight when the centre of gravity of cartridge is located at mounting holes-23.55cm distance from pivot. | ||||
| Total Weight of Cartridge, bolts and nuts (g) | Counter Weight Distance (cm) when balancing | Effective mass (g) when balancing | Counter Weight Distance (cm) at VTF 1g(approx.) | Effective mass (g) at VTF 1g(approx.) |
| 5 | 2.75 | 16.6 | 2.50 | 16.4 |
| 6 | 3.00 | 17.9 | 2.75 | 17.7 |
| 7 | 3.25 | 19.1 | 3.00 | 18.9 |
| 8 | 3.50 | 20.4 | 3.25 | 20.2 |
| 9 | 3.75 | 21.7 | 3.50 | 21.5 |
| 10 | 4.00 | 23.1 | 3.75 | 22.8 |
| 11 | 4.25 | 24.4 | 4.00 | 24.1 |
| 12 | 4.50 | 25.8 | 4.25 | 25.5 |
| 13 | 4.75 | 27.2 | 4.50 | 26.8 |
このアームでカートリッジを変えた場合の実効質量の変化をグラフにして見ました(カートリッジ5〜13g、実効質量は16〜27gの範囲)。この表を見るとおり、アームの実効質量はカートリッジの重さとそれにバランスするカウンターウエイトの位置で変わるわけです。

重心が支点にある0バランス時の慣性モーメントと重心が前に出た針圧印加時の慣性モーメントの計算は実は僅かに異なります。平行軸の定理といって支点周りの回転モーメント(公転)に重心周りのモーメント(自転)が追加されます。上の例で支点から重心が例えば1cmずれると、アームの総重量214.6gx1cm^2=214.6gcm2のモーメントが追加されますが、カウンターウエイトを近づけた分支点周りの回転モーメントは減少するのでスタチックバランスアームの慣性モーメントは0バランスの時に近似出来ます(I≒ma*L^2)。重心がずれない現代のダイナミックバランスでは自転モーメントは発生しませんが支点周りの回転モーメントは実在します(I=ma*L^2)。このように総合慣性モーメントとそれをアーム長^2で割った等価質量の実数を知ることは簡単ではありません:メーカーが示すeffective massは使用上の平均値や概数です(Keith Monks M9BA MK3では5g程度のカートリッジを搭載した時Moment of Inertiaを7000gcm2としています)。


とりあえずシリコンオイルをいれずに音だししましたが、安定感がありません。シリコンオイルを約0.1cc入れるとアームの動きも音もスムーズになったような気がします。至って普通の音です。市販のアーム(マイクロMA-505等)と比べて音は良くも悪くもありません。ただ見栄えと使い勝手が悪いーということは、骨折り損のくたびれもうけですか(笑。低域共振は9-11HzでADCのコンプライアンスを13とした時の計算値10.5Hzと符合しますがオイルダンプするとハッキリしません(8-12Hzの間)-少しはダンプ効果があるようです。Pick-up Headの重いシェル交換型のアームと比べて実効質量が軽くInertiaが少ないので極端に反ったレコードでも楽々トレースできます。そのようなレコードには従来はダイナミック型を使っていたのですが、このアームはADCを組み合わせる限りより安定してトレースします。ガタのないボールポイント侮るベからず。

今回の工作にはボール盤がないので電気ドリルとNicholsonと壺三の鑢・Glardonの精密鑢、分度器、ノギス、タップ2.5mm(シェル・アームパイプの取り付け)と細細目10mm(正確な穴を空ける補助)と各種ドリルビットを使いました。ボール盤なしで手=時に万力と目=便利な測定器だけで作業するのは無茶だと思いますが、そのような心細い条件でも何とか完成にこぎつけました。
このアームのダンピングオイルとしては10-20万cSt程度のものが良いようです。50万cStのものでは硬すぎて感度が鈍り極端な場合には針飛びしました。山本氏の次の記述を思い出しました。<アームレゾナンスはrp(アーム支点の等価抵抗)によって制動するのがよいといえます。しかし,rpをあまりに大きくすると、ごく低音域の機械インピーダンスが増加するために、レコードのそりや偏心による、ごく低音域の雑音振動に追随する必要のために、レコードのそりや偏心がない場合に必要な針圧のほかに,余分の針圧を必要とします。>
ゴムなどでバランス錘をアームに弾性接続した場合、錘の慣性モーメントは周波数に依存するようです。主に共振周波数付近に働き20Hz以上では0と見なせるのでダイナミック(=動力学的)ダンピングの理論では後部錘の慣性モーメントを切り離して前部アームのシステムの慣性モーメントを考えます。普通アームの実効質量は錘の位置に関係すると思っていましたが以下のサンスイの定義では錘はアームの実効質量に含まれていません。つまり前部(針、カートリッジ、シェル,アーム管)がアームシステムで後部の錘はダンパー機構として区別しています。変な表現かも知れませんが、共振点周辺の周波数で後部質量が本体に移動する(加わる)ので、実際に共振点を計算する上では剛体化した時の実効質量となんら変わらないように思えます(下の例では25+4=29gでコンプライアンス10では共振周波数は9.3Hz)。サンスイの技術者は次のように問うています:P.2 "what percentage of the mass of the rear portion of a tonearm should be used as a damping force and what percentage to leave on the entire tonearm itself".
これのシミュレーションの等価回路は従来の直列法のほかにサンスイが提唱する並列法*㊟があるようです。サンスイの回路(要は制振器付きバネが2組)ではL1=Compliance
of stylus tip(cm/dyne), R1=1/mechanical resistance of stylus tip(cm/dyne sec),
C1=Effective Mass of arm+cartridge(g), R2=1/mechanical resistance of spring(cm/dyne
sec), L2=Compliance of spring(cm/dyne)、C2=Equivalent Mass of counterweight at
stylus tip=M*Lb^2/La^2(g)としています。以下の回路をPSpiceなどでシミュレーションすることが出来ますが、VacのソースとDifferentialのマーカーではdb表示ではなく1Vに対するリニア出力になって上手くdb表示の方法が分からないなど私は上手く使いこなせていません。パラメーター数値は山水のシミュレーションに近い数値を取りました(カートリッジのコンプライアンス10x10^-6、アーマチュアの等価抵抗300、カートリッジを含めたアームの等価質量25g、スプリングの抵抗200、スプリングのコンプライアンス80x10^-6,針先から見たカウンターウエイトの等価質量4g)。
㊟:L(inductance)=Mass, C(capacitance)=Compliance, V=force, I=velocityとするのが普通だがこの等価回路ではInductance=compliance,
Capacitance=mass, Current=force, Voltage=velocityとしています。
等価回路についての余談:等価回路には2種類あります。
@電気回路図を簡略化し主要素(純粋なElements)で構成したもの A機械や音響の伝達を電気的な回路に置き換えて分析する等価回路
後者の方法は20世紀の初め頃から用いられたようです。Soundboxの等価回路をベル研究所のMaxfieldとHarrisonが1926年2月AIEE(現在のIEEE)に発表していて、針の動きを振動板に伝えるstylus-barのupper
arm部の設計について成果を挙げました。upper armは軽くて硬いほどよいのではなく、或る程度のコンプライアンスを持っている方が良いことは経験上知られていましたが、何故そうなのかは分からなかった。その理由は等価回路によって初めて解明され、upper
armの質量とコンプライアンスの最適化の設計の基礎を作りました。等価回路やシミュレーションは一般的傾向を分析するには有効だと感じます。山本氏の本のP199には圧電形カートリッジの振動系の等価回路も載っていますが大変複雑な機械的要素からなっていることに驚かされます。



ダンパー機構(R2・L2)を外した時は以下のようなカーブになります。

他のパラメータを変えず制振器のダンパーオイルを抜いた場合(R2=∞又は十分大きい時)以下のようなカーブになります。ダンパー機構(Spring+Damper)がないもの(上図)より酷いことになってしまいました。

ダンパー機構(R2・L2)がないモデルでアームの実効質量C1を55/40/25/10gと変化させた場合。アームが重いほど共振周波数は低く、ピークは大きくなりましたが、1Vからの面積はどれも同じ位。注目すべきは各共振周波数xPeak Vは一定値[=R1*(1/2pi)/L1]になることです。シミュレーションでは超低域速度振幅を一定としていますが、実際の共振の程度はレコードの状態(反りや偏心による超低域速度振幅)や針と音溝の摩擦力に依存します。

未だにヘッドマスを増やして共振周波数を下げて「低音が出る」と悦に入っている・シラっとしている評論家やユーザーが多いのも事実です(主に日本において)。1970年代以降世界の主流はヘッドマスを軽量化し共振周波数を10Hz以上にして共振周波数の影響を軽減することにありましたが、混変調を生む<重い低音が好きな>低音病に罹った日本のアナログファン(過去の私もその一人)には受け入れられなかった思想です。
| The effect of additional weight on shell/cartridge | mt (g) | ft (Hz) | Q | |||
| The Relation among mt, ft & Q | when | 10 | 10.06584 | 2.108185 | ||
| Compliance= | between 5-50 | 25 | *10^(-6)cm/dyne | 15 | 8.218726 | 2.581989 |
| rb+rp= | between 100-1000 | 300 | 25 | 6.366198 | 3.333333 | |
| IMO: Any imaginable improvement of sound by additional weight on shell might be applicable for high resistance for rb+rp such as heavy damped arm + low compliance cartridge only. | 35 | 5.380419 | 3.944053 | |||
| 45 | 4.745084 | 4.472136 | ||||
| Q (resonance amplitude) rate increases as resonance frequency shifts lower. | ||||||
低域共振を抑えるためのメカニカルダンプ:上記のサンスイのシミュレーションにあるようにゴムのコンプライアンスはカートリッジのダンパーより大きな値、つまり柔らかくなければなりませんーそうでないと弾性結合にする意味がない!!! 一般のアームの弾性結合でも同じようになっているのでしょうか?
必ずしもそうとは考えられないのです。マイクロMA-505の場合は径も大きく硬いゴム外観をしています。硬い場合は剛性結合に近くなっているのでダンピングの効果は期待できないが、悪く設定された場合のダイナミックダンピングアームのようには2つのピークが出ないだけではないでしょうか?
SME3009impが特殊な3点ゴムダンパーでカウンターウエイト及びwayrod部を支えているのは可動領域を増やし相対的コンプライアンスを大きくする工夫のようです。古いアームは経年変化で尻下がりが目立つ場合もありますので、弾性材は柔らかいほうが良いかは良し悪しです。ダイナミックダンピングアームの実際面での適用は理論倒れ(理論は立派だが効果は?)だったように思われてなりません。テクニクスやNADはバネとそのダンプ剤としてシリコンが使われていて理論により近い可変ダンプを目指したようです(私は使ったことがありません)。
1.弾性材にはリニアな素材が少なく純粋なバネと抵抗の2つのパラメータでは十分に表わされない
2.後部錘の振動反動が予測できない
3.アーム支点からの不要振動には対応できない
これらメカニカルダンプの諸問題から逃れるために電子サーボアームへ目先が変わったようですー1978年以降のSonyのBIOTRACER
(PS-B80など)、1981年以降のDenonのDynamic
Servo Tracer(アナログスイッチと並列した抵抗とコンデンサーでQダンプ)やモデル名にYの付いたJVCのE-D (electrodynamic) Servoシリーズ。但し電子サーボアームの流行も何故か80年代に終わり、アームの自動ドライブ演奏(及び横方向のbias補正)に限定され低域共振ダンプやwarpしたレコードのトレース対策などは日の目を見なくなりました。
山本氏が記述している<低音域におけるピックアップ振動系の等価回路>=従来の直列法?は入力を定電流源としています。sbはコンプライアンス、rbは振動系の抵抗、rpはアーム支点の抵抗。パラメータの数値rbとrpはそれぞれ並列法のR1,R2の逆数になっています。電圧比Vが電流比Aに変わっているだけで出力カーブは相似です。1971年の山本氏の本には逆共振回路としてのダンパースプリング(L2)についての記述がありませんが主にrpにダンプ効果を持たしています。此処では剛性接続のシミュレーションなので針先から見たカウンターウエイト部の等価質量(M*Lb^2/La^2)を含めたアーム全体の実効質量をMtとしています(針先から見た各部分の等価質量を足す、即ちインダクタンスの直列は足し算)。



パラメーターrpを50・200・350・500・650Ωと変化させた時:

Trio・KenwoodのKD-750(1978年頃の海外モデルで日本ではアームが異なるがモータ本体としてはKP-7070相当)のサービスマニュアル(P.28)にはアーム支点の抵抗要素を入れたMechanical Dampingの等価回路図がありました。補修用のサービスマニュアルというより当時のトリオのアナログ技術総覧という性格が強く、ウエイト軸の弾性接続/軸受け鋼球の精度/アーム内リード線/シェルの強度/Helmholzのレゾネーターを利用したターンテーブルシートの吸音性能などについて理論的解説を展開し、その幾つかの工夫は特許申請もしていました。従来のカウンター・ウェイト接続法では十分な弾性が得られないので、新開発のアームモデルTA-71ではピアノ線により十分なflexibilityを得ています。ところがFig.3-9を見ると2山になっており弾性は得られたもののその制動が十分でないようですーこのことはこのマニュアルでは不問に付されています。そこでシリコンオイル等の制動機構を設けたアーム(テクニクスやNAD)が開発されたようです。



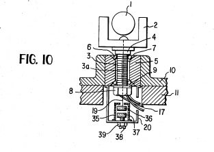
B.B. Bauer氏のDynamic Dampingの理論を実体化した製品が判明しました。放送局用に製品化されていたようです(Shure Studio Dynetic Phono Reproducer)。ヘッド部分に特殊な形の専用カートリッジがついていました。理論と図面はUS Patent 2,983,516(1961)で開示されています。針圧のかけ方も特異なアームです。3は上下ベアリングのハウジング。9はカートリッジを一時的に引き上げる押しボタンです(普段は10のマグネットと44の板バネの力でボタンがポップアップしカートリッジがフリーになる)。その使い方が一風変わっています。「人間の手は1、2グラムの力を確実に加減するのが難しいので、9のボタンはバネで10−15グラムの上向きの力に調整し、11−17グラムの力で作動するようにしたので指一本でカートリッジを上下できる」とのことです。アーム根元のスイング水平回転軸とカートリッジの近くにある昇降軸が別になっているのでこれが可能なのでした。


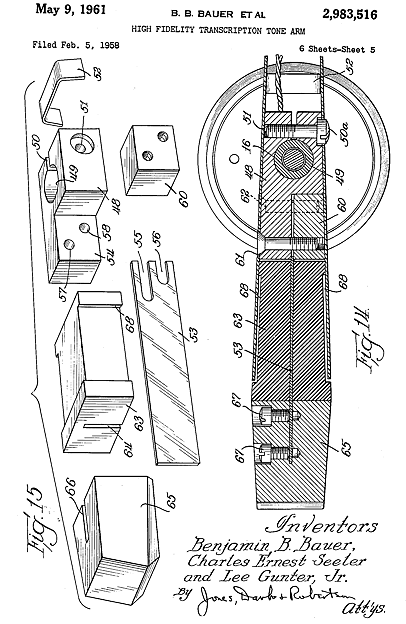
カウンターウエイト(65)をバネ(53)とニトロセルローズのダンプ材(63)を通してアームの中心に弾性接続する構造です。Lateral(横方向)にしかダンピングが利かない構造なのは、モノラル用途で開発されたからでしょうか。1957年のアームの名前はM12/M16(それぞれ12inch/16inchレコード用)でそれにM1/M2というモノラルLP/SP用のカートリッジ(交換針はL字型でカンチレバーは板バネですが針圧は1−2gと当時としては軽針圧)が付いたものでした。1961年頃にM21(針先は0.7ミル)というステレオ・モノ兼用カートリッジが付いたM212(ロングアームM16にM21が付いたM216)、さらに1965年頃ステレオ専用M22(針先は0.5ミル)が付いたM222/M226というモデルの変遷を経たようです。カートリッジM21・M22のカンチレバーは管状のものでした。独逸BraunのプレーヤPCS 51(1962年)にもM212が標準装備されていました。M12/M16のアームのシリーズは60年代末には生産中止になったようです。


カートリッジM1(針先0.7ミル≒18μ)/M2(針先2.7ミル≒70μ)は以下のような特殊プラグインコネクターを持ったカートリッジでした。カンチレバーのところで磁石に対し約18度オフセットされて針かついている(従って実効オフセット角は18度以下になる)独特なものでした。


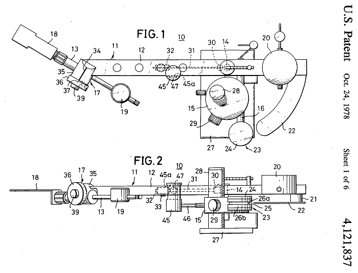
同時期Bauer氏以外にもPhilco Corporation(SPプレーヤーでLPを再生可能にするアダプタの開発などコロンビアLP再生機の草分け)の技術者達による発明があります。図の17がアームに追加するダンピングアダプターで18と19の鉛ブロックの間に22のビスコロイド弾性体を挟み(ビスコロイドの温度変化によるあばれを押さえるため)27と28のサスペンションで囲んでから26の金具に接続する構造でした。120gの亜鉛鋳物のアームは実効長216mm。それにアダプターを取り付けなかったときのレスポンスがFig.4の32。31gのダンピングアダプターを針先から約52mmの所に取り付けた時のレスポンスがFig.4の33で見事に20Hzの共振ピークが抑えられている。Fig.5の34から37までのカーブはアダプターを別のアームに取り付けそれぞれ華氏55度75度90度110度(13−43℃)の温度条件下でのレスポンス。38と39はアンプ側の境界地(標準レスポンスからの偏差範囲)でこのダンピング方法が十分有効なことを示している。当時のモノラルでラジオの特性に近い一般的な真空管アンプの低域レスポンスが垣間見れて興味深いものがある。50Hzで約−3dB以上ではイコライザーカーブの低域bass limitを問題にしても始まらないーステレオ時代以降のハイファイとはアームもアンプも全く違っていた(半導体アンプの普及はステレオ時代に入ってから)。真空管アンプの場合出力トランスの関係で20Hz以下がカットオフされるが、半導体パワーアンプのカットオフはDCに近いものがある(カットオフしないDCアンプもある)。真空管時代にアームの共振周波数は低い周波数が良いとされ、ステレオ時代以降半導体アンプが使われるようになって共振周波数は低過ぎない方が良いとされた理由は、低域共振がアンプでカットオフされないと音楽帯域と無関係の・低い共振周波数のピークがスピーカーの振動板を無駄に揺らしIM歪を増やすからではないか?1987年のIEC98で再生時20Hz以下をカットオフする時定数が新たに導入された背景が理解できます。サブソニックフィルター(例えば15Hz以下-12dB/Oct)も同様な目的で使われます。アーム側機械的ダンプとアンプ側カットオフフィルターの違いはあると思います:カートリッジ出力のピークだけでなくアーム自体が揺れる場合があるからですーそれが更に歪みを増幅します。総合的再生歪を減らすにはアーム側機械的ダンプとアンプ側フィルターの併用が望ましい。

リニアトラックアームの発明などで有名なRabinow(ユダヤ系のロシア/ウクライナからの移民なので英語読みのラビノウではなくラビノフが正しいのか?)も同様のアイデア(可変ダンプ)を発表していました。ダンパー機構26は:オイルなど粘弾性液の中に錘32を入れスプリング33で支えた容器28から成っています。注目すべきは:レコード12は<縦・横記録のモノーラルでもステレオでもよい>とし全方向の共振ダンプを目指しているところです。

テクニクスのEPA-100も可変ダンプを目指したアームでした(森田と安田による米国特許4079943-1978)。control magnetによりカップリング(特にウエイトのスプリング)のコンプライアンスを変えることでダンプ量を可変するものでした。「カートリッジのコンプライアンスC1が低い時、磁石を近づけてダンパーのコンプライアンスC2を減らし、逆にカートリッジのコンプライアンスC1が高い時には磁石を遠ざけてダンパーのコンプライアンスC2を増やす」と述べられています。 米国特許4079943に該当する日本側のパテントは日本特許0922117及び実用新案登録1499283です(実用新案の8図では磁石ではなく補助ウエイトによる可変ダンプが示されています)。因みに同時期に別の松下の技師(利田哲=カガタアキラと読むべきなのですがEspacenet等ではトシダサトルと誤読)も簡略化された構造で日本特許1133847(特開S51-109804)を得ていますが上のRabinowの発明に似たものだったので海外特許は申請しなかった模様。



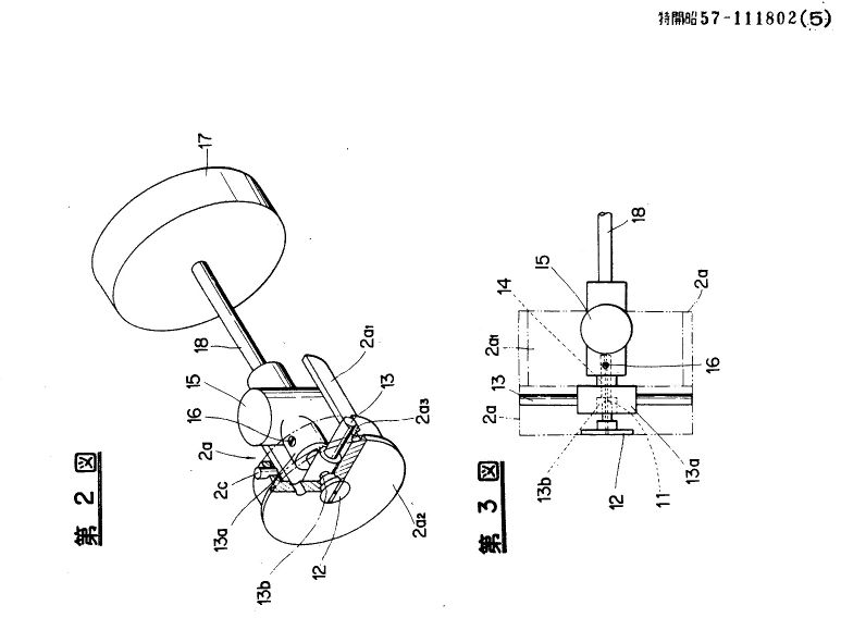
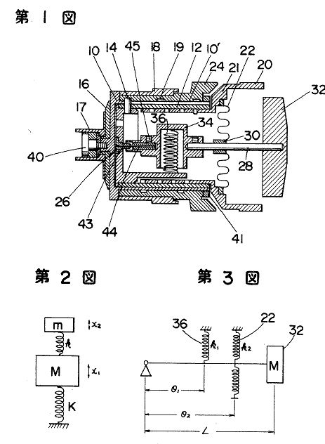
パイオニアはオイル漏れの恐れがあるシリコンオイルを使わず、蛇腹とコイルバネ構造を持つ「ピックアップ用動吸収装置」で日本特開S54-19703=特許1135281を取得しました。発明者の大西潤一さんは別の特開S57-111802「トーンアーム用動吸収器の支持装置」で「サブウエイトの重量がかなり大であるため、それを保持するスプリングはバネ力が強いものでなくてはならず、反面動吸収器の共振周波数に対してのスプリングは周波数を下げる意味から弱いものが要求される。そこで応力の余裕のないスプリングを使用することになり、結果として針先から振動を受けて動作する動吸収器に回転という余分な動作が発生し、ダンパーの働きをすると共に新しい振動を発生してしまう等の欠点が存した」と指摘し回転を防ぐ回転防止軸(図の13)を組み込んだ構造に改良し1979年頃Dynamic Absorber Model PA-5000と銘打たれたアームに搭載しました。その他のアームでは別のシステム(軸受周辺のダンプ量可変オイルダンプ)を採用してこの複雑な構造は採用しなかったようです。1983年のPL-707などにはPG(polymer graphite)製[特開S55-89902=特許1350203/特開S55-125502=特許1325868/特開S55-163602=特許1306691等]のアームパイプ中間部にDRA(Dynamic Resonance Absorber)[特開S60-22702]と称するダンパーを仕込んでありました。発明を応用した製品がそのつど現れますが、後の製品に継続されないで一回きりで終わることがどのメーカーでも多いのは何故でしょう? 池田勇氏も特許公開昭51-051904(特許0862591)「トーンアームの制動機構」にて磁石による制動を提案していましたが、Fidelity Researchでそのようなアームが製品化された記憶はありません。
1980年頃のDual CS606(DDドライブ)も似た機構を採用しています。”ANTI-RESONATOR”と銘打たれていました。Dualが行ったテストレポート(Fono Forum 6/Jun 1980)では以下のようになっています。自重2.5gのOrtofon ULM55Eとの組み合わせでは低域共振周波数は13Hz。Shure V15VIの場合水平6Hz垂直9HzでOrtofon MC20の場合は垂直水平とも10Hz(図は水平共振を示すものだが9Hzに見える)。14機種テストした中でDual CS606とGrundig PS3000とSony PS-X60とTechnics SL-10が総合評価が高く、中でもカートリッジ込みでDM418(4万5千円程度)のCS606が価格面でも一番に推挙されていました。1978年のDual CS721(DDドライブ)では少し違った構造の”2xANTI-RESONATOR”がカウンターウエイト内に組み込まれていました。


デンオンは低域だけでなく中低域までのダンピング効果を持たせるため、カウンターウエイト側ではなく前方にダンピング・システムを置くアームを開発しました。Denon DA-307などに応用されています。支持点を中心からずらすことにより、弾性接続でおじぎしやすい傾向も改善しています。テストレコードを使った従来の測定では50〜200Hzに分布するアームパイプなどの共振がはっきりしないが、図4のようにアームベースから振動を加えハウリングなどの影響をシミュレーションした場合は図5のようになる。図5の26が(detectorで検知された)振動特性で27がアームの支点後部にダンピング機構を持つ従来のアームにおける(カートリッジ)出力周波数特性、同様に11(?)が振動特性で35がアーム支点前部にダンピング機構を持つアームの出力周波数特性。アームとカーリッジの低域共振(10Hz前後)だけでなく、200Hz以下の広い範囲にわたってハウリングの影響が現れることが分かります。アームや設置環境や再生音量によってそれぞれ振動モードが違うのでハウリングと音質の関係については実際に測定してみないと一概に言えないのではないか、と思っています。「再生する部屋とは別の部屋にプレーヤを置くと本質的な音質改善になる」という贅沢な設置環境を勧めるマニアもいます。


Dynavector DV-505はアームの主軸にエディ・カレントによる電磁制動と錘+バネ線による機械制動を組み合わせています。特許ではさらにサブアームの回転軸にも電磁制動を加える機構も提示されています。縦スウィング長が短く実効慣性質量が少ないので縦側の共振周波数が横側より高い周波数になりしかもそのピークは低いので、さすがにそこまではやらなかったようです。

NAD Electronicsは特殊な会社で1983年頃の資料では本部はLondon/Bostonとなっていました(NADはNew Acoustic Dimensionの略号)。最近では普通になっている事業形態ですが、デザインや商品企画(product planning)を主体として生産設備を持たず製造は外注するシステムを採用していました。記憶に残るターンテーブルシステムにモデル 5120(1983-1995頃)があります。可変ダンピング装置を持ったアームでした。チェコスロバキアで製造されたようで、Tesla社のJanda等による発明に基づいています。Tesla社は表向き自社ブランドでは発売せず、自社のレコードプレーヤシステムNC470などにはNADのシャーシを使いましたとしているが、NADの取扱説明書やサービスマニュアルの末尾にはprinted in CZ(即ちチェコ)として正体を現している。JandaはFlat Tone Arm (日本特開S58-105403)やカートリッジの取り付け方法(US4542494)などでも各国に特許を申請していました。サービスマニュアルを見るとNAD5120にもFlat Tone Armが搭載されているが、横方向には剛体で縦方向にはフレキシブルなFlat Armの特徴である縦方向ダンピング作用が重複するのを避けるため1985年以降(再び?)アーム本体はパイプ型が標準になったようです(Flat Arm単品はNAD510として別売された)。平板アームはアーム内配線の必要がないPCB (printed circuit board)タイプになっていました。低域共振について縦方向ダンプのみ考慮していることが不思議でなりませんー特許の本文には次の文章があります:"An advantage of the dynamic vibration absorber according to the present invention is that its functioning in connection with a flat tone arm is limited solely to oscillations in the vertical direction, since the flat tone arm has no yieldability in the horizontal direction, so that no suppression of a horizontal lower resonance is required... The transparent vessel 8 with the damping medium 81 is firmly connected with the oscillating arm 412 and thus with the counterweight 42 affixed to the oscillating arm 412 so that they oscillate together in a vertical plane". DVA Tuning Dataにあるカートリッジのコンプライアンスも縦方向のコンプライアンスを示しているようです。因みにチェコスロバキアの国営独占企業だったTesla社は1980年代末LencoのブランドでNC470やNC500ターンテーブルを海外に輸出しました。同時期スイスのLenco社は販売不振に陥り生産拠点をTeslaに移したがそれも成功せず1990年Royalという高級機を出して幕を閉じた。一方TESLA社も幾つかの会社に分社化され、その子会社だったTesla Litovel(1999年SEV Litovelに改称)は現在ターンテーブルのブランドPro-Jectを生産している。Litovelはチェコのモラビア渓谷上手にある人口一万程度の町。


