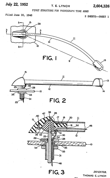
このアームの原点はDeccaのInternational Armにあるようで、以下のDeccaのUS特許図面(=英国特許1005810)といろいろな点で似ています。 8図の9がアームキャップ内に付いたリング磁石で9図の10が外側についた左右の磁石です。


Decca International Armのバイアス量はBias Compensatorを上下することで変えられる構造になっています。シェルの水平確認用に水準器が付いています。さらにユニークなのはアームの底に設置されたDamping Magnetsです。マニュアルには"The arm and uni-pivot rest on the top magnet and the lower magnet is attached to the base support. Both vertical rumble and shocks to the pick-up arm are reduced by this ingenious magnetic system."と書かれています。


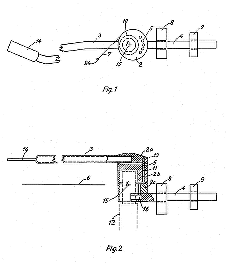
Keith Monksのアームの何処に磁石が内蔵されているかを調べルために磁石で探った所、下の画像の位置(及び反対側)に磁極があることが分かりました。アーム側の磁極は向かい合わせのコンタクトピン2本にありましたのでその働きはDeccaと同様になります。

このアームではアンチスケーティング力(ASF)を針圧に応じて調整できませんので、針圧範囲は1-1.5gが適用範囲です。実際に1.5g以下の針圧が推奨されています。

上記の仕様によると、このアームの実効質量は約9gとのことですが、それにカートリッジの重さ5gを加えて14gとするとコンプライアンス20との組み合わせで低域共振周波数は9.5Hzと計算されます。ところが5gのカートリッジは重心が針より少しだけ後ろにあるのでカートリッジの実効質量を4.4g程度として計算しているようです。Effective Mass=Moment of Inertia÷effective length^2=7000/22.86^2=13.4gーその場合共振周波数9.7Hz。ところでLOW FREQUENCY RESONANCEについては1970年頃までは共振周波数が低いことが優秀なアームの証拠(EMPIRE にも<LOWEST FUNDAMENTAL RESONANCE: One of the most significant improvements incorporated in the new Empire 980 is the lowering of its fundamental resonance frequency to an order of 8 cycles - the lowest ever achieved in any arm>の記述がある)とされていましたが、それ以降は共振程度の低さと共振周波数が低すぎないことがむしろ指標になっていますー共振強度Qは共振周波数が低いほどそのピークが高くなるからです。未だにヘッドマスを増やして共振周波数を下げて「低音が出る」と悦に入っている・シラっとしている評論家やユーザーが多いのも事実です(主に日本において)。1970年代後半以降世界の主流はヘッドマスを軽量化し共振周波数を10Hz以上にして共振周波数の影響を軽減することにありましたが、混変調を生む<重い低音が好きな>低音病に罹った日本のアナログファン(過去の私もその一人)には受け入れられなかった思想です。rpはアーム支点の等価抵抗でrbはアマチュア支持部の等価抵抗です。詳しくはアームの項の山本氏の解説をご覧ください。
| The effect of additional weight on shell/cartridge | mt (g) | ft (Hz) | Q | |||
| The Relation among mt, ft & Q | when | 10 | 10.1 | 2.1 | ||
| Compliance= | between 5-50 | 25 | *10^(-6)cm/dyne | 15 | 8.2 | 2.6 |
| rb+rp= | between 100-1000 | 300 | 25 | 6.4 | 3.3 | |
| IMO: Any imaginable improvement in sound by additional weight on shell might be applicable for high resistance for rb+rp such as heavy damped arm + low compliance cartridge only. | 35 | 5.4 | 3.9 | |||
| 45 | 4.7 | 4.5 | ||||
| Q (resonance amplitude) increases as resonance frequency shifts lower. | ||||||
自作のワンポイントアームで経験したこと:<ターンテーブルを回さずにレコード盤に下ろした状態で左右バランスが取れて水平でも、回転した音溝に針を下ろすとシェルが傾いてしまいます。stylus dragの分力side forceに対応するためにも軸をクランク状にするかDecca/Keith Monksのように錘穴自体を偏芯させるなどの工夫が必要でした。> 特に<補助輪を使わない完全なワンポイント軸受け>の場合にはこの動的なラテラルバランスの問題を無視できません。

この工夫はヤジロベイとしてのバランスの安定化のためにあると思っていましたが、実は<捻りに対しての抵抗力を増やす工夫>だったようです。実際にレコードを掛けた時シェルが傾く理由は:針先は溝にロックされるのでサイドフォースがアームに働いてシェルを傾けてしまうようです。


針先と支点の高さを同じにすれば傾かないとする人もいますが如何なのでしょう? 針のカンチレバーの角度(及びコンプライアンス)とアームのオフセット角とがあるので3次元でアームに働く力を想像するのは私には難しいです(へたれだなぁ)ー課題としておきます。

Eccentric Counterweightの場合インサイドフォースの捻りの力によるシェルの傾きが少なくなる。さらにアンチスケーテイング機構を設けてアームに掛かるサイドフォース自体を軽減しています。但し、ワンポイントのアームで針圧をダイアル表示しているものは見当たらないようです(理由はカウンターウエイトの重心が低いのでアームを水平に設定しないと傾きによってかなり針圧に差が出るためではないかと思われますー針先高め・支点低めのとき針圧は重くなり、針先低め・支点高めのとき針圧は軽くなりますー一般のアームでもその傾向がありますがウエイトの重心が同軸上にない場合上下回転によって針圧差が出ます)。
Siebelt(Stromberg-Carsonのアーム)は支点以下のスカート部分のウエイトを増やす(しかもオイルダンプもある)構造を提案しました。

Stantonはピンのギャップを上下運動に対しては広い開角にし左右方向には狭いギャップの軸受け(Fig. 7&8)にして左右揺れを防ぐ工夫をしました。実際にStanton Unipoise #200としてPickering & Co. Incで製品化されています。


Stantonは別の工夫も提示していました(Stanton/Pickering Unipoise #194)。一見するとワンポイント軸受けのように見えますが、実際は上下2点(図のベアリング21とスロット18)で支持するので横揺れを防げるというものでした。USD183546にて1958年意匠特許取得もしました。

Stanton氏の特許に引用されているアームが【補助輪としてスリットガイドを使ったone pivot arm/one pointed arm】の嚆矢のようで、似た支持構造が1954年頃のLEAKや後のSTAX等のアームに応用されています。簡単な構造のように見えますが使用上はDynamic Levelling(プレイ時の水平)に敏感でその調整により音が変化するそうです(私はどれも使ったことがありません)。片側に強く接触すると音に影響があると思います(わざと一方向に傾け接触を確かにする逆転の発想も可能)。


Grahamのアームのバランス錘はアームパイプとほぼ同軸でpivot平面に中心が置かれていますが、2個のLateral Counterweightsをunipivot位置の下に置くことで左右バランスを安定化しています。この構造に不満があったのか、磁石で安定化する方法も発明しました(2008年米国特許7382713)。

デンマークのMoerchのアームは特殊な2重支持(dual
bearing type)を採用しています。シェル14はアームチューブの先端を平らに潰せば余計な慣性モーメントをアームシステムに加えることがない。支持点15はレコード盤6と同じ高さにある。図では分かりにくいのですが、ワンポント軸受けのほかに2個のベアリング(19/20)と内子(リング23)と変則です。これならワンポントピンが無くとも動作しそうなのですが、その趣旨はアームの重さを主にワンポイントで受け他のベアリングへの加重を減少し摩擦を少なくする工夫でしょうか?他にも偏心したセンターキャップの重心が後ろにある事なども言及されていますが、その真意はよく分かりませんでした。モデルUP-4については1984年頃の「MJテクニカル・テストレポート: 機械インピーダンスからみたトーンアーム研究」及び同「トーンアーム40種類のデータとヒアリングとの相関を探る」の記事があるようですがどちらも私は読んでいません。カートリッジではなくアームの機械インピーダンス(各再生周波数での機械抵抗)を測定する視点は新しかった?そういえばデンオンのUSP4101133-1978でも外部から強制振動を加えてアームの(主にダンピング)特性を測定する方法が示されておりました。


Uni-pivot suspensionにアンチスケート機構を設けるのは難問なのですが、GraceのG-945もGrahamと同様にワンポイント軸受けと同じ水平面にバイアス力を働かせることにより解決しています(以下は品川無線の特開S53-110501で特許1192448を取得しました)。
