現在アームは単体では中古か高価な新品以外入手しにくい。 中古アームはハイファイ堂等から手に入れる。 フォノコードがないものは特に安く手に入る。
磁石を対向して浮上軸受けとする小山式アームは自作可能だが、近頃のハイインピーダンスのMMではハムを拾いやすい(但し小山宅のFR6SEからはハムが出ていないーアーム素材とカートリッジシールドに金属を使わない為)。 過去(1980年頃)にはFRのFR-6SEとかSONYのXL-50とかAudio-TechnicaのAT24などDC200Ω前後のMMがあった。 高出力のMCがより適当なのかもしれない。 小山式アームについては小山雅章著「レーコード・オーディオの革命」1984年鳳書房発行に詳しく書かれている。
と言いながら、小山式を現在使っていないのは単に個人的な理由からである。(すべて言い訳になるが)ターンテーブルが狭いところに押し込められていて長いアームが使えない/粗忽のため度々セラミックアームを折ってしまった/従来のアームでもなんとか我慢できる音になった等々。
今はアーム台の自作でお茶を濁している。鉛粒を石膏に固めた台に3-4本の金属棒足をたてた上にベースを作り、その上にアームを乗せる。Ortofon/SME等はスライドベース共通なので共用できるはず。 諸先生はアームとターンテーブルは振動が同相でないといけないと言ってキャビネット使用をすすめるが、かえって振動をコントロールできると思うのでターンテーブルは3個のソルボセイン半球に乗せ単独で使っている。
小山式以外の自作アームを試みた報告は別ページ。
ターンテーブルの3点支持とアーム台の独立の問題点: 1.ターンテーブルの周辺が回転の反力でブルブル振るえるとアームと振動が同相にならない恐れ。余りにも軽いモータユニットか柔らかすぎるゴムを使わない限り杞憂ーというのも4点支持の箱に載せたモータでも反力自体からは逃れられないのとこの反力が大いに悪さをするのは実証されていない。サンスイはこの反力振動を実証した(US特許4425638/4475185-1984)として補助ロータを反転するDDモータ(Silent Synchrotor System)を開発したが他で採用されなかった(テストレコードの125Hz信号のトレース出力波形が示されているがその差は微妙で大きな改善とはいえなかった)。 2.アーム台はそれ相当の重さが必要ー音溝から結構な力で引っ張られる。その変動する力のほうが上記の反力より実際には大きくなることがある、と考えるとSME等のスライドベースも強度のある支持方法ではない。独立したアーム台は工夫次第で幾らでも重心を低く重く出来ます。 3.一番の利点はアーム台の移動が簡単なのでオーバーハングの調整が楽。 Fluctuationのない支持方法というのは実在しない。空気バネでもQと共振点がある。空気ポンプでテーブルを浮かすのもエアー圧力の微動がある。流体膜のベアリングでも流体の微動がある。けちをつければきりがない。

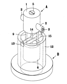
Keith Monks Laboratory Pickup Arm 上画面右端に見える
ワンポイント軸受けの最右翼として1970年代からある気にかかるアームだったが最終バージョン? M9BA MK3を入手した。振動の原理から言って理想的なワンポイント、しかも感度のネックとなるアーム基部のコードのねじれがない水銀接点(この水銀もダンプ効果がある)、さらにシリコンオイルによる支点制動、アンチ・スケート機構は磁石による無接触式と念が入った構造。 唯一の欠点は水銀接点だろう。 水銀が酸化するのか、数週間で黒い皮膜が付き極端に接触が悪くなりハムを拾いはじめる。定期的にピンをそうじしなければならないし、水銀溜が浅いのでぞんざいにアームを動かすと水銀がこぼれる危険がある。日本ではとても商品化されないし、今なら製造者賠償責任(悪名高いPL法)に引っかかる代物。 ほかの不便なところは軽量なカートリッジ(5-7g)しか載せられないことと、シェル一体型で取り付けネジがインチネジで切られていること、しかもシェルが1mm厚と薄い。 いずれにしても音に徹したアームだ。 このアームのマグネット式アンチ・スケート機構をシミュレーションしたページも作りました。Micro MA-505 上画面左端に見える
1976年(1975年末?)に発売されMark IIIまでシリーズ化されたダイナミック式アーム。 私の初代型はユニバーサルS字タイプでアームパイプは交換できない。 このアームのユニークなのは、再生中でも針圧やアンチスケーティングフォースが変えられること(秘密は調整用支柱が独立している爲)。さらに針圧とアンチスケーティングフォースが連動しており、丸針、楕円針それぞれのアンチスケーティングフォース目盛があること。 針圧0.5gからかけられるので感度も良い。 メカ好きの人にはたまらない。現在手持ちの他のアームはSME3009 Series II Improved Integrated Arm(シェル一体型軽量アーム)とInfinityのやはりナイフエッヂ・オイルダンプ式一体型アームとCECの仮想ワンポイント・オイルダンプ式アームHA-937(上画面奥)。 SMEとInfinityは軽量カートリッジ(主にMM)用にストックしてあるが、ナイフエッヂはワンポイントと比べるとガタがあるようで使っていない(ワンポイント式は左右のバランスさえ調整すれば極めてリギット)。 CECは重量級MCに使っている。 CECのアームはJELCOへの外注品らしく同様のアームが内外のプレーヤに搭載されています。"One Point Cross Suspension System"と称するその軸受け構造は市川宝石が米国特許4033591−1977を取得していますー内容的には従来の外からgimbalsで支える方式に対してアーム中心から外側に向かってgimbalsシステムを構成しています(そのミソ=工夫は特許図の横バー15にあります)。中心軸(1の上部)にダンピングオイル槽を設け10の上部からダンピングオイル膜のギャップを調整することにより(アームの上下動に有効な)可変ダンピング・システムも追加できます。パイオニアの可変ダンピングアーム(米国特許4305147−1981)は上部のダンピングキャップが中心軸に直結する構造をとることにより垂直方向だけでなく水平方向もダンプされます。JELCO SA-750DやSUMIKOのMMT(S字アーム)やストレートのFT3/4はコの字型に張り出した固定架橋の上部にダンピングキャップを設置することによって水平・垂直方向可変ダンプになっているようです。


Infinity Black Widowについて:スピーカーで有名な米国Infinity社はMayware社のFormula4に自社のマークを付けて再販していたが1977年頃自社製品のBlack Widowを発売した。当初のモデルはオイルバスが無いものだった。1980年前後GFとかMark IIとか言うモデル名があるが、そのどちらかで低域共振をダンプするオイルバスが付いた。オイルバスの位置はアームパイプ上に付いたものとカウンターウエイト軸に付いたタイプがある(私のは前者でナイフエッジ軸受けが浮きやすく不利な気がする)ー試行錯誤の製品を処分販売しているとしか思えない。GFはグラスファイバー製の意味か?Black Widowのパイプは本来カーボンファイバー製でシェルも最小にしハイコンプライアンスのMMカートリッジ(自重4〜8.5g)を対象にしていました。アーム単体の等価質量は3gで世界最軽量と主張していました。Black Widowの開発者の一人は日本人で1977年に米国意匠登録を申請しました(D251558-1979)。Infinity社は同時期カーボンファイバー製リニアトラッキングアーム搭載のターンテーブルも開発したが動作が不安定で量産に至らなかった由ー既に生産した試作品が不正規に流通しているらしい。オーディオは本当に怪しい商売ですね。珍しいものが好きな好事家が内外を問わず存在するんですね。他人が持っていない少量生産モデルや試作品の魅力。
マイクロのMA-505をテスト/シミュレーションした結果は別ページに移しました。CECなどのバネ式のキャンセラー装置を解析したページも作りました:バネ式キャンセラーのページ
同じカートリッジを使ってもアームによってサーフェース・ノイズやトレースは変わる。 標準ウェイトと重量級ウェイトどちらでもバランスが取れる場合、どちらが良いのだろう? 針位置から見たアームの慣性質量はカウンターウェイトの位置で変わる事を最近になって知りました(SMEは平均化した実効質量を発表しています)。 一番困るのは、アームが左右に激しく共振して止まらなくなり音飛びする組み合わせがある。カートリッジのダンパーがいかれているのかコンプライアンスが合わない爲アーム+カートリッジのfo点で共振のピークを抑えられないと考えられる。 共振点foと機械インピーダンス:共振点foはアームの実効質量とカートリッジのコンプライアンス/機械インピーダンスが関係する。 絶版になっている山本武夫「レコードプレーヤ」(日本放送出版協会1971)から参考になりそうな部分(P.252〜P253)を引用します(一部編集しました)。
QUOTE
アームレゾナンス周波数ftをどの程度に選べばよいかは問題です。音声周波信号は20Hz程度までの成分をもっています。一方、雑音信号を考えますと、1〜数Hzの低音域にはレコードのそりや偏心による雑音成分があり、25Hz付近にはモータからの雑音振動があります。そこで、音声帯域を完全にカバーし、しかも上記のような雑音振動の少ない10Hz付近にアームレゾナンス周波数を選ぶのが得策です。それは、雑音振動成分の多い周波数とアームレゾナンス周波数が一致しますと,その雑音成分を大きくピックアップしてしまうので、これを避けるためです。(中略)
Cb(コンプライアンスの意味で機械インピーダンスと反比例します)
ピックアップ全体の等価質量mt
Cbが平均的な25x(10のマイナス6乗)cm/dyneと仮定するとアームレゾナンス周波数ftを10Hzにするためにはmtが10gでなければなりません。ピックアップの等価質量はピックアップヘッドの質量の1.5〜2倍ですから、ヘッドの質量は5〜7gでなければなりません。(実際のカートリッジとシェルの合計ヘッド質量の平均16gとすると)mtは約30gになりますからアームレゾナンス周波数ftはft(Hz)=1/2p√mtxCbから6Hzになってしまいます。アームレゾナンス周波数を10Hz以上にするためには、もっと軽いカートリッジが必要になります。最近、このような点が考慮されて、暫時軽量なカートリッジや軽量なヘッドシェルが出始めています。(中略) rp(アーム支点の等価抵抗)rb(アマチュア支持部の等価抵抗)のみで制動した場合、rbで制動すると中音域の機械インピーダンスが増加し、rpで制動するとごく低音域の機械インピーダンスが増加することがわかります。 軽針圧でレコードを再生するためには、各周波数での機械インピーダンスが低くなければなりません。したがって、rbは高音域の周波数特性と機械インピーダンス特性が適当になるようにきめ、アームレゾナンスはrpによって制動するのがよいといえます。しかし,rpをあまりに大きくすると、ごく低音域の機械インピーダンスが増加するために、レコードのそりや偏心による、ごく低音域の雑音振動に追随する必要のために、レコードのそりや偏心がない場合に必要な針圧のほかに,余分の針圧を必要とします。
UNQUOTE
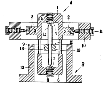
A model of arm explaining the effective mass measured at stylus point.
Important points: 1) The difference of concept between Simple WEIGHT (gravity
weight) and MASS (inertia mass). Weight at some point can be reduced by
balancing, but mass itself remains same 2) Inertial MASS DISTRIBUTION as viewed
from stylus point. This drawing shows an imaginary
model of tonearm as a
rotational system. The rotational inertia I=Effective Mass*L^2.
Effective Mass=I/L^2. Effective mass of pickup as rotational system is not simple weight,
but equivalent inertial mass of pickup system as viewed from stylus point. This drawing shows
situation at 0 balance (equilibrium). There are 3 types of tonearm.
A) In static
balanced arm VTF (vertical tracking force) is obtained by shifting counter
weight nearer to pivot, thus the unbalanced portion of head mass multiplied by
gravity acceleration (980cm/s^2) became VTF(vertical tracking force) such as 3*g
(3gf) at stylus point.
B) Modern dynamic balanced arm is a type of arm whose VTF is added by spring or
magnet after equilibrium.
C) Old type of dynamic balanced arm applies spring
force for supporting head mass without using counter weight where VTF = head
mass minus big spring force. Type C is almost obsolete because it
requires big spring force hindering the fine adjustment of VTF. However
type C is still used for some economy & compact record players (higher VTF
around 3.5g fixed & cartridge bonded to arm wand).

アームの感度も高い(摩擦抵抗が低い)ほど良いということではないようです。軽量重量ハイ・ローコンプライアンスのカートリッジすべてに対応するアームは存在しないようです。ここに<ダンピング可変>を謳ったテクニクスEPA-100や各社電子アームがアナログ最盛期に開発された理由があるようなのですが、自社の限られたカートリッジとの組み合わせだけではメーカーの主張に説得力がないように思いました(80年頃のVictorの英文カタログでは見事に制動されたデータを見た記憶があるのですが)。その証拠に機械式/電子式可変Damping Armは主流になりませんでした。それともカートリッジ着せ替えごっこを楽しむマニアの方が異常なのでしょうか? デンオンの局用アームDA-302は軽量化した短いシェル(3cm)と専用DL-103の組み合わせで共振周波数が11Hzになるように設計されていました(DL-103の10Hz前後のコンプライアンスは規格で示されている100Hzの場合より大きく10x10^(-6)cm/dyne前後あるようです)。ヘッドを重めにしがちなマニアさんの使い方とは随分違っています。
Arm Resonanceを類推すれば:
その共振周波数を挟んでアームとカンチレバーの動きやすさの変化点Turnoverとも見なせます。
つまりその周波数以下ではもっぱらアーム全体が支点回りに動きカートリッジは発電しにくい。
それ以上ではアームの慣性が大きく音溝の細かい変調には反応せずスパイラル溝の動きを追うだけ。
早い周期の握手と遅い周期の握手で2の腕(アーム)が同じような動きになるのではと想像します。
共振周波数・コンプライアンス・実効質量の計算シミュレーションはResonance(エクセルファイル)をご覧ください。但しこれらはあくまでも計算上のものです(カートリッジやねじの重さがそのまま追加実効質量になるわけではありませんー針先から見ると少し軽くなる)。
一般的な傾向として注目すべきは、共振周波数を高くするほど共振のピークは低くなることです。1977年B&Kの報告Audible Effects of Mechanical Resonances in TurntablesでLadegaardが16Hz前後の高めの共振周波数を推奨した背景はそこにある。以下の図はカートリッジを替えず、カートリッジを含めたアームの実効質量を55/40/25/10gと変化させた場合の共振シミュレーションの一例。一般的なdB表示でないことはお許しください。1Vを基準点としていますので8Vは18dB、4Vは12dBになってしまいますが、これはアーム側のダンピング機構やアーム支点の抵抗の影響を排除したためで、なんらかのアームダンピングの影響(アーム支点の抵抗)がある実例ではこれより-6dB程度ピークが抑えられていることが多いようです。つまりアーム感度も悪い方が良い場合があるー但し、その摩擦抵抗は滑らかで変化やガタが少ないことが要求され機械精度は高い方が良い。

針圧W、レコードの摩擦定数µとした時、インサイドフォースはWµsin (arm-offset angle) 。すると、アームのオフセット角をロングアームの平均の17度(ショートタイプでは21〜24度)とした場合、サイン17度は約0.3、レコードの摩擦定数を0.3とすればインサイドフォースは0.3x0.3=0.09で約針圧の1割の回転力がアームに働く計算です(9インチのショートアームは12%程度)。このインサイドフォースにより左チャンネル溝に余計に圧力が掛かりその分右チャンネル溝に掛かる圧力が減ります。それでトレースが不安定になることがあるので各種インサイドフォースキャンセラー装置が生まれました。ところが実際は音溝の状態などにより摩擦力は変化するのでアンチスケーティング装置は針そのものよりもアームの安定のためと考えられています。スピーカーのダンパーの役割と言ったら言いすぎでしょうか?針先と溝で起こる摩擦>アームの回転>針先へのサイドフォースの間には時間やアームの慣性を考えなくて良いのでしょうか? アームの回転と針先へのサイドフォースは同時ですが、アームが回転し始めるには慣性があるのですから摩擦との間に時間差があるのではと素人考えしていますーその良い例は針を下ろした時点ではアームがまっすぐ下に下りたとしても、針は内側もしくは外側に弾かれることがある=摩擦が発生する前にジャンプした証拠です=そのような動作は針を下ろすときにアームを粗雑に扱った不手際で起こることなので恥ずかしいことですが。。。
実はインサイドフォースの実態は上記のようにアームの固定オフセット角によるものではなく、各地点での溝壁に対して直角のTracking Angleに由来するので各溝径で少しだけ違ってきます。私はアームのオフセット角が大きければインサイドフォースも大きいと早合点していましたが、シェル上で針先の水平角度をどのように調整してもアーム支点位置・オーバーハングを変えなければそのアームの(Tracking Angle由来の)インサイドフォース自体は変わりません。長いアームやオーバーハングが少ないアームではインサイドフォースも少な目なようです。オフセット角とは関係ないのですが、アームのオフセット角はエラー角の範囲が少なくなるように設定する(アーム支点位置・オーバーハングも最適化する)わけでオフセット角のある普通のアームのインサイドフォースはWµsin(アームのオフセット角)をエラーが0地点の代表値として差し支えないのです。
糸つり式のインサイドフォースキャンセル力は内周で少なく 外周で多く掛かります。 それを考え(またはSMEの意匠を避けて)SAECのWE-308は内周トレース重視で 内周で少し針圧を増やし更に水平トラック偏差ゼロ地点を内周に設けているらしい。サエクの糸ラインは外周で90度ですが内周では鋭角になり分銅重量分力が針圧に加えられます。SMEはツノがアーム軸から分離されているのでそうはなりません。垂直軸に関与しないようにツノを設置していない物は、アームの上下動がアンチスケート機構に作用しトレースに影響を与えることが多いようです(AT-1005IIなどは垂直軸の延長線上にバイアスバーを設置する合理的な設計でした)。
80年代初めオルソニックSG-2というサイドフォースを音溝でチェックする面白いアクセサリーがありました。カートリッジの形をしていて上部のメータで[アンチスケーティング調整が使用レコードで直接できる]ところがミソ。丸針2R/楕円針2E/ラインコンタクト針2Lと交換針まで揃っていたそうです。ところが実際に使用する針の形状と同じでなければ余り精確とはいえませんし、どのレコードでどのあたりで[調整]するかはユーザー任せです。
手持ちのSME 3009 Impのアームで計算した図を示します。SMEのこのアームではビニルの摩擦係数μの上限を0.4辺りに想定した設計のようです。バイアス目盛とアームにかかるインサイドフォースが対応しています(摩擦係数μを0.3にした場合は外れてしまいました)。Y軸の値は針の位置でみたアームの回転力です(μ*W*sinΦ)。カートリッジのダンパーはこの計算に入っていません。㊟山本氏の本で引用されているビニールの摩擦係数の平均値μ0.3は音溝ではなく平面で測ったものか?針圧(W)は音壁に対してそれぞれ1/√2に分圧されるが、左右の壁があるからμ*Wの部分は2x(1/√2)μ*W=√2μ*Wになる、という論旨をドイツのサイト(AAA)の季刊誌analog aktuellの3/2001で読みました。1970年2月のHFN誌の記事"frictional drag and bias compensation" by Snell and Rangabeでも同様。すると摩擦係数の実効値の平均は0.3x1.414≒0.424となリます。他のSME30xxシリーズのバイアスはもっと浅く設定されているようです。詳しくはSME3009 impの謎をご覧ください。外周内周の変化で見るとインサイドフォースとキャンセラー力は 互いに逆方向の放物線になる。 中ほどで頭が接触する設定では内周と外周で差が大きくなる ー全体には少なめのバイアス。 普通の設定はキャンセラー力の放物線左半分を使い 頂点を外周に置く。 すると最内周の部分を除いて全体に大目のバイアスになる。

同じアームでインサイドフォース・キャンセラーをはずした場合の左右音壁にかかる針圧比LW/RWの図を示します。ビニルの実効摩擦係数μは抑え目に0.3で計算しました(0.4では比が一割大きくなります)。左チャンネルにかかる針圧は右チャンネルと比べて最大1.3倍になっています。これは実効長9インチ程度で普通のオーバーハングのショート・アームに共通する値です。12インチだと最大1.2倍くらいです。ショートアームでもSAEC 308シリーズの5mmのオーバーハングでは長いアームと同等になります。アームにかかる回転力はμ*W*sinΦで計算しましたが、音溝壁にかかるサイドフォースはμ*W*tanΦ (音溝壁に直角=レコードの中心に向かって)で計算します。ショートアームでは15%左圧力が高く右圧力が低くなりその結果、針圧差が約30%になります。針圧を変えてもこの比自体は変わりません。下の模式図は固定オフセット角がTracking Angleと一致した時(エラー角が0)のものです。



溝壁圧力tanとアーム回転力sinの違いについてはtetsu氏の素晴らしいページを是非ご覧ください。
http://web3.incl.ne.jp/tetsu/c8dekirukana/armgmt.html 溝への圧力side
pressureとその反作用の力を1.で説明し2.ではSkating
Forceとしてアームの回転力に言及されています。私はSkating
Forceという用語に違和感を持っていましたが、溝の無いところにアームを降ろした時、文字通りskatingする場合について考察されています。アームの動き及び各ベクトルがアニメーション化されていてオフセット角の無いPSAの有効性についても解説されています。実際にはstylus
dragによるテンションの変化からVertical Tracking
Angleを持った針先には横(side force)と縦(実効針圧の変化)の双方に力が加わります(カンチレバーの縦横回転)。PSAの場合はstylus
dragによるカンチレバーの横方向への力の影響はありませんーモノラル時代PSAが当たり前だった理由も分かるような気がします。stylus
drag及び摩擦力は針圧に比例するので軽針圧のカートリッジが望まれますが、軽針圧用カートリッジは概してそのコンプライアンスが高くstylus
dragの影響を受けやすい。Well-Temperedのアーム(糸吊り+フロート)を発明したFirebaughは針先とアーム軸受間に働くテンションを和らげることによりstylus
dragを受け流すことを目指したようです(USP4792938-1988)。硬軟さまざまなアプローチがあるものです。音溝圧力とアームへの回転力(*注)は鶏と卵のような相関関係で、単独で生じているのではない。その関係はアームの回転モーメント(潜在的な回転力)=溝壁圧力 x COS(tracking
angle)とも書けます(TANθ*COSθ=SINθ)。溝壁圧力とアーム回転力はお互いのベクトル分解で得られます。問題は<どの視点で見るか>なのでアーム側から説明する方法(Gilsonの図に補筆)も成り立ちます。
注:オフセット角のあるアームでは針カンチレバーはオフセット角分曲がって取り付けられているので、stylus
dragによるテンション(針先-アーム支点間)によって針先がオフセット角を小さくする方向に屈曲する。いわばPSA状態に近くなるーこれもアームが内側に回転して溝を押しているようにも見える。キャンセラー力が強すぎるとカンチレバーは内側に曲がることになるわけです。PSAの場合、stylus
dragにより針先が溝壁からの反発力を受けても、針カンチレバーの延長線上にアーム支点があり1本の直線棒とみなせるのでその内部テンションによりカンチレバーの内外曲がりが発生しない。糸鋸や弦のように張力によって半剛体化するものもある。

inside forceという用語もその対象が溝なのかアームなのか誤解を招きやすい。P.WilsonはThe Gramophone Handbook(1957)で溝側圧SIDE PRESSUREについて次のように述べています(overlap=hang over); "The force due to friction is on the average tangential to the mean line of the groove. It is balanced partially by stress in the carrying arm (which refuses to be deformed) and partially by side pressure between stylus and groove. As already noted, this side pressure increase the more the stylus is made to overlap the spindle..." この場合のアームのstressは針先とアーム支点間に掛かる内部テンションのことです。inside force canceller装置の名称と構造からアームが自ら回転するかのように見える誤解を与えます。その装置はアームに反時計回りの回転力を与えることによって溝圧力の偏りside pressureを減らすためにあるのですねー私は誤解しておりました(本末転倒)。いろいろ拘束やテンションを受けている中で針は音溝に従って強制振動を強いられるわけですー何か可哀想に思えてきました(笑
オフセット角のないPSA (pure straight arm)の模式図。Side Force at stylus is irrespective of arm's (fixed) offset angle Φ’, but always follows tracking angle Φ to make tangential to groove. Φ value for 9inch arms (23cm) with normal overhang & offset is changing between 21-25 degrees within groove radius (6-14.5cm) to be played on. Φ value for 12 inch arms (30cm) with normal overhang & offset is changing between 16-19 degrees. Hence 23 & 17.5 degrees or around as intermediate values are usually selected as fixed offset angles Φ’for 9 & 12 inch arms respectively. With pure straight arm (PSA) without offset angle, side force is corresponding with the error angles=tracking angles. Tracking angle of PSA (20cm) is varying within +/- 13 degrees with 20mm short to spindle centre(=underhang): null point groove radius around 92mm. Hence the absolute value of side force at PSA is smaller (roughly half) than at offset arms when arms with same effective length are compared. 同じ実効長で比較すると、PSAのサイドフォース(inside&outside)は角度偏差の絶対値に比例するので、オフセットのあるアームのalignment(Overhang)によるインサイドフォースの半分近くになります。この場合のサイドフォースとはアームの回転ではなく、針が左右の溝を押す圧力方向がそれぞれインサイドやアウトサイドとなっていると考えられます。このようなアームにベル研究所のElmerが考えたようなキャンセラーも使用可能ですが実現していません。前後に回転するScratch Play用にVestaxのPDX-2000等(A.S.T.S.=anti skipping tonearm system)が開発された背景は:トラッキングエラー角よりもトラッキング角由来のサイドフォースの減少を優先しオフセット角の無いストレートアームとアンダーハングを選択したようです(米国特許6469974−2002)。

英国WIRELESS WORLD 1981年10月号(P.60)にてGILSONはSTYLUS DRAGの形成要素として以下を挙げています。
「何を実効長とするか」は微妙です。 実効長(針先と水平のレベルで測ったeffective lateral length)はアーム支点の垂線から針先までですが実際にはスリットのあるシェルにカートリッジを取り付ける位置/カートリッジの取り付け穴から針先までの長さなどでアームの長さは変わってしまいます(又アームの高さ調整でも僅かに変わる)。IECでは所定の針圧を掛けた状態で、カートリッジの取り付け穴と針先の距離:9.5mm±1mmを推奨しているので、SME/Shureに規範を取っているのかもしれません(規格と呼べない規格)。SME/Shureの標準シェル+カートリッジで取り付け穴から9.5mmはシェルコネクターから約5cmに相当します(下表参照)。約6cmの特大シェルが付いているCEC HA-937の実効長はシェルコネクターから5cmのところで229cmとしています。さらにJIS C5503−1979(1995年廃止)Phonograph pick-upsを見たらカートリッジ測定用アーム(実効長200mmのPSAでシェルコネクターから針先までが50mm)の図が載っていましたー<トラッキングエラーの2度は針先における±7ミリの移動(前後)を意味する>とあり<アームベース部の500gは、アームの実効質量の約20倍>とありますので、アームをベース上スライド調整して測定したようですが、トラッキングエラーは測定項目にありません。
| ALIGNMENT OF CARTRIDGE ON DETACHABLE SHELL | |
| Centre of mounting holes of cartridge to stylus tip (Shure/IEC) | 9.5mm±1mm (3/8inch) |
| Centre of mounting holes on shell to shell connector (SME) | 40.5mm±1mm (1 19/32inch) |
| Pick-up Head Length (stylus to shell connector) | 50mm±2mm (1 31/32inch) |
有効長という言葉は1980年頃からArm Distance(アームの軸受け中心からターンテーブルスピンドル中心)の意味で登場しました(Arm Distance=Effective Length - Overhang) 。ところが言葉の意味から実効長と取り違えやすい。実効長もこの頃Arm Distanceの意味で使われたり記述の不一致Babelが始まりました。<有効長>という言葉の導入は不適切でした。その弊害は当時のカタログの多くに間違いや誤解を生みました。例えばStax UA-7の実効長はSSのステレオガイド'76では240mm、同'84では227mmとなっています(オーバーハングはどちらも13mm)。後者はメーカの言う有効長(Arm Distance)を実効長にしてしまったのです。このため海外でもSSなどの記述に影響されて日本のアームのいくつかについて同じ間違いをしています。ORTOFONは有効長のほうをアームのモデル名に取り入れているようです。言葉としてはどちらでも良いのです(一部のメーカーは一貫して有効長を実効長の意味で採用しArm Distanceはテンプレートで指定しているようです)。Arm Distanceはアームを搭載/設置する時にだけ注意すれば良いのですからことさら有効長という概念を持ち出すのには賛成出来ません。アームの交換を視野に入れるときにはArm Distanceが同じアームは交換可能性が高いだけです(プレーヤカバーがある場合にはアームのカウンターバランス軸の長さも考慮に入れないと収納できないことがある)。後記:私は有効長というのは比較的新しい言葉と思っていましたが、業務用アームの世界では1960年頃からArm Distanceの意味で使われていたようです。その意味を定義説明しないメーカーの記述は止めてほしいと思います(Overhang/Distance/Effective Lengthの三点セットを示すだけでよいのです)。着物の裄丈じゃあるまいに「実行長」という表現もみられます(変換ミスに由来すると思われるのですが先例があると間違いが独り歩きすることはよくあります)。手抜きで十分な説明や図面を示さないメーカーも多い。評論家のレビューでも内容のないwrite-upばかりで、雑誌を読むのを止めました。雑誌の目的は暢気な読者を分かったつもりにさせる(深く考えさせない)だけのように感じていやなのです。そのような雑誌を求めるのはご勝手に。
デンオンのカートリッジのオマケでゲージがついていました。カートリッジをシェルごと交換しても水平トラッキングエラーが少なくなるように針の取り付け位置を揃えます。シェルに取り付けた針の位置をコネクター部分から測るのですが50mm地点の前後に1mm刻みで3本ずつ刻みが入っています(38mmの線は特殊コネクタ+オフセット付きシェルを使ったオートプレーヤーDP-47F用)。これとCECのStylus Position Gaugeなどをみるとオフセット角に関係なくシェル上の針の位置を50mmとしてアーム全体の実効長とする考えもありそうですが、LP関係ではRIAA以外は統一規格がないようです。左の画像にあるオーディオテクニカのゲージはまさしく<スピンドルからのOverhang>を測るのですが、シェルのラインではなくアームの支点方向に向けないと正確ではありません。実際にアームをオーバーハングして針先を見ようとするとスピンドルが邪魔なようです。一部のアームは横方向の可動範囲が狭く実際にはオーバーハングできないものもあります。既にアームが搭載されているプレーヤーシステムの場合はシェル上で所定の針位置を確認することで設計通りの実効長及びオーバーハングとオフセット角になります。針位置を前後させると実効長だけでなくオフセット角も少しだけ変わります。


パイプを曲げたアームでオフセット角をSMEのサイトにあるように小数点以下3桁まで揃える事は実際は不可能なのではと感じていました。この疑念をブライアン氏にぶつけたら彼が持っている3009RはSMEのProtractorに合わないと報告がありました。スイスのBreuer某氏の場合、加工後のアームを何ヶ月も枯らして見守っているので出荷製品数が少ないとも聞きました。一体型ストレート・アームの場合、大抵シェルネックのところで角度を出しているのでこの精度はいいと思います。SMEの場合はオーバーハングを指定せずベースプレート上のアーム自体の移動=Arm Distanceを変えることでProtractorに合わせるというのは製作加工誤差から逃げる英国流の上手い(ズルイ)仕掛けかもしれません。
SME 3009等のラテラル調整になれた目にはMICROのMA-505の垂直ベアリング軸の外に付いているウエイトの働きが今ひとつ理解できませんでしたが、最近やっとわかりました。 一般にラテラルバランサーは<パイプが曲がっている部分とカートリッジの重心位置などのためにアーム全体の重心位置が針先とアーム支点を結ぶ直線から横(Lateral)にずれ、アームを傾けて取り付けた時、水平ベアリングに作用してアームを横方向に回転する力を生じるのを防ぐ>のが目的です。アームの上物(可動部)の重心が水平ベアリングの中心位置から横に大きくずれなければ良い。0バランスで確認できる前後バランスとラテラルの左右バランスは直角交差しなくても、その確認はできるので、水平面二方向のバランスが支点で取れていれば良いことになる。前後0バランスを取った状態でアーム台を傾けてもアーム軸が流れないようにラテラル調整するか、シェルの頭に触れて縦に振子運動させても横にずれていかなければ大丈夫。針圧とアームの水平感度にもよるが2度以上アーム・プレーヤー台が傾いていてラテラルバランスが問題になることは実際にはあり得ない設定だろう。S字型アームの多くにラテラル調整がないのもうなずける。S字型アームのカウンターウエイトをずらす方向は針と支点を結ぶ直線から数度離れているものが多い。S字のJELCO SA-250では3.5度程度カウンターウェイトシャフトが曲がっている。MICRO MA-505は針先とアーム支点とカウンターウェイトシャフトが一直線なのでアームの曲がった分の重さとカートリッジのお尻にバランスするために反対側にラテラルバランスウエイトを置く仕組み。因みにDenon DP-7Fは見かけはストレートパイプのアームが搭載されているがカートリッジ取付部にオフセットがあり針とアーム支点とカウンターウェイト軸は直線になっていない(カートリッジのお尻の重さに対応する分、針先からアーム支点を見るとカウンターウエイト軸が少し曲がっている)。これは近年のSMEのストレートパイプのアームも同様です。実はスリムなS字アームなのだが、パイプの曲がりがないだけでストレートと判断されることが多い。
ところで大きくパイプが曲がったアームが海外(主に米国)で廃れた理由は別のところにあるようです:ヘッドシェル交換タイプはヘッドが重くなりがちなのでそれを避けて、パイプはストレートにし固定シェルにカートリッジを取り付けヘッドを軽量化するIntegral armタイプが1970年代後半からの傾向です。それに対してシェル交換タイプはUniversal armと呼ばれ大半がS字型です。一部の製品はオフセットが付いた特殊交換シェル+ストレートパイプを採用していますが先がカクンと曲がって見え美的でないらしく少ない。製造中止されていたOrtofon SPUが再発売されたのも日本のマニア(重いアームヘッドが好きで、カートリッジを簡便に交換して楽しむ風土)に触発されたからだそうです。軽量化アームの優位についてはP. Rother "The Aspects of Low Inertia Tone-Arm Design" JAES Vol.25, (Sept.1977)や同年B&Kの報告Audible Effects of Mechanical Resonances in Turntables参照。それでも文化や嗜好は科学を超越すると実感します。好み(taste)の世界ですからね。贅肉を落としたスリムが好きかグラマーのほうが好みか?アームヘッドの軽量化を図り1983年自重が3g以下のカートリッジがソニーやオルトフォンから発売されましたが日本では見向きもされませんでした。カートリッジだけ軽くしても重いヘッドシェルで相殺されてしまい、システムとしての軽量化にはつながらなかった。同時期誕生したT4Pプラグインタイプ・カートリッジ(自重約6g)は主にリニアトラック機に採用され本質的な軽量化(針先から見たアームの実効質量10g前後)が実現しましたがそれも長続きしませんでした。T4Pカートリッジやリニアトラックも現在主流ではないですね。T4Pシステムは無駄な(dead mass)シェル部を省きコネクターに挿し込み一組のネジとナットで固定するので最軽量になります。軽量化のメリット:@実効質量が少ないので盤の偏芯やワープに対応できるAハイコンプライアンス(≒軽針圧)カートリッジでも低域共振が10Hz以上になり混変調歪を抑えられる。現在この頁の冒頭にあるようなシステムは物置に保管し使っておりません。Denon DP-7F(リニアトラックではないがT4Pシステムを採用したDDオートシステム)で日々レコードを楽しんでいます。なるだけ機械に触らず、音楽に浸れることを喜びとしています(Life is short and time fleeting)。カートリッジの着せ替えごっこは止め、針だけ定期的に交換しています。デメリット(?)は平凡・シンプルすぎてマニアとは見られないことでしょうか?
SMEのナイフエッジは針先・支点を結ぶ直線に直交せず、リニアオフセット線ともずれています。それでアームを上下すると針先がターンテーブル中心方向に円弧を描きます。それはオフセット角のあるワンポイント軸受けでも同じです。ワンポイントは針先・支点を結ぶ直線に直交しますが、上下によりLinear Offsetのラインも傾斜すると思われます(下図の仮想軸を水平とする動き)。新しいタイプのアームはLinear Offsetのラインを軸に(ライン自体は水平を保ちながら)垂直上下させるようにoffset lineの線の方向にベアリングが配置されています。肘を横にはりその先だけ上下するような動きです。SMEやワンポイントの一部ではアームの高さを調整した時シェルが左右にも傾くのでシェルの取り付け部が回転調整出来るようになっています。カートリッジを水平に取り付けさえすればトレース上1mmの上下で0.2度程度の傾きで音に違いが出るとは思えませんのでどのアームでも実害はないともいえます。

たまたま持っていた方眼紙(A4:21x29cm)の重さを測ったら4.5gでしたので、1cm角に切ったら約7.4mgになります。この切片をシェルの針位置に載せてアームの垂直ベアリングの初動感度を測ってみました。MICROのMA-505で約3枚=22mgでしたが、ナイフエッジのInfinity Black Widow(シリコンバスを外した場合)では1枚=7.4mg以下になりました(1977年のカタログではナイフエッジの垂直感度5mg、水平感度は10mgと記載)。たしかSME3009も20mg以下を謳っていたと記憶します。これらの重量数値ではアームが沈むのに時間が(時に数秒)かかるため、アームの実際の性能を表したものではなく工作精度と内部配線の固さを示しているだけだと思います。アームの運動は自由落下ではなく水平面を初期値とする剛体振り子で、その方程式は簡単に解けないので私はターンテーブルが回転し始める状態に近似して考えています。違いはターンテールを回転させる力はほぼ一定と考えられるのに対しアームを縦回転する力はCOS(水平面からの角度)で刻々変わるのですが、0.5度以内の回転角ではCOS(0.5度)は1に近似できるのでアームの縦回転とターンテーブルが回転し始める初期状態には十分な相関があると考えます(あくまでも回転角が十分小さいとき)。印加する針圧(力)が大きいほど早く落下し、同じ針圧ではイナーシャ(I=ma*L*L maはカートリッジを含めた等価質量、Lは実効長)が大きいアームほどゆっくり落下する。ターンテーブルに置き換えて考えると当たり前のことですがアームとなると想像力を働かせないといけないようです。アームにおける等価質量の計算例は自作アームのページをご覧ください。厳密な等価質量は実はイナーシャから逆算されるのです:ma=I/L^2
稚拙で間違いがあるかもしれないがアームとターンテーブルの回転シミュレーションファイル(kagensoku.xls)を公開しますので興味があるなら黄色のセルのパラメータを替えて遊んでみてください。
オーバーハングをD、アーム実効長をL、水平トラッキング角をΦ'、 針のレコード中心からの距離rとしたとき Φ'=ASIN(0.5*r/L+L/r*(D/L-0.5*(D/L)^2))*180/PI()。あるいはΦ'=90-DEGREES(ACOS((2*L*D+r^2-D^2)/(2*L*r)))や Φ'=DEGREES(ASIN((2*L*D+r^2-D^2)/(2*L*r)))とも表現できます。これらの式に江川式のアンダーハング、即ちDにマイナス値を入れても有効なようです。 D, Lの値を決めr57〜147mmをスプレッドシートの縦の列に入れてシミュレーションすれば溝径によって変化する水平トラッキング角Φ'が出ますので、アームの固有オフセット角Φとの差を取ればそれがその地点での水平トラッキング角度誤差になります。Tracking Angle等Arm Geometryの定義は私のarmdata(英文)の末尾をご覧ください。
スロットのあるシェル上でオーバーハングを調整した時の誤差計算のシミュレーションに興味のある方はoverhang.xlsを見てください。ページが表示されたらそれをxlsファイルとしてセーブして置けば、ゆっくりと(オフラインでも)アームのシミュレーションやオーバーハングの最適値などが計算できるはずです。
オフセット角とオーバーハングの関係はどうして決められるか? <種種のオーバーハングを与えた時のトラッキング角と音溝半径との関係>について山本氏の図版を移植します。<この図を見ますとある程度のオーバーハングを与えることによってトラッキング角がほぼ一定になることが分かります>。例えば実効長237mmのマイクロのMA-505はD/L値約0.06, 内周r/Lは0.24、外周r/Lは0.62で約20.5〜24度の範囲てトラッキング角が変化しますので、このD/L値の場合は21.5〜22度の固有オフセット角が相応しいことになります。アーム計算例ではJISに基づき内周rは57.6mm、外周rを146.5mmとしてr/Lを計算しました。

実際のアーム計算例:各数値は概略です。
| Samples of arms | Offset(approx.) | L | D | D/L | r/L range from to | |
| SAEC WE-308 | 12° | 240mm | 5mm | 0.021 | 0.24 | 0.61 |
| MICRO MA-505 | 21.833° | 237mm | 15mm | 0.063 | 0.24 | 0.62 |
| AT-1501III | 18° | 285mm | 12mm | 0.042 | 0.20 | 0.51 |
| AT-1503III | 21° | 257mm | 15mm | 0.058 | 0.22 | 0.57 |
| ORTOFON RMG-212 | 23° | 228mm | 16mm | 0.070 | 0.25 | 0.64 |
| ORTOFON RMG-309 | 16° | 320mm | 11mm | 0.034 | 0.18 | 0.46 |
水平トラッキング誤差によるピーク歪(Second Harmonic Distortion)の計算式はv(速度振幅)*TAN(error in radian)/V(線速度)。100/3回転のLPの場合はvTAN(e)/(2pr*100/3/60)。10度以内のエラー角ではTAN(e)≒SIN(e)≒eなので、角度をラジアンに直すのにp/180を掛けると(1/200)*v*e(degree)/rに単純化されます。例えば、v=100mm/secとすれば歪率(百分率)はABS(50*エラー角/溝径r)に近似します。内周外周同じエラー角度でも内周側の歪が大きくなる理屈です。
もっと徹底的に調べている人達が海外にいました。ブライアン氏の2つの記事は水平トラッキング誤差に限定したアームの設計法の歴史を総括した論文です。Linear Offset (Null Pointsの中点)で設計するSMEの手法が良く分かります。 http://www.audioasylum.com/audio/vinyl/messages/62571.htmll (Part 1) とhttp://www.audioasylum.com/audio/vinyl/messages/62570.htm (Part 2)。 但し旧IECからの不適切な引用(最内周60.325と最外周146.05)があります。
1924年英国のPercy WilsonがThe Gramophoneに寄稿した論文に始まり、1938年スウェーデンのLoefgren
(KTH=王立技術院で無線部門の主任教授)が厳密な数学的解法を独Akustische
Zeitschriftに発表し、1941年 米国The Brush DevelopmentのBaerwald
がJournal of the Society of Motion Picture Engineers(=SMPTEの前身)に発表し、1945年Shure Brothersの主任技師BauerもELECTRONICS誌に論文を発表しています。どれもSP時代の論文ですので、現在の論旨と多少のずれがあります。
当時(SP時代)は針圧が30g以上あって(アーム軸受け感度が悪くても支障がなく)アンチ・スケーティング装置はいらなかったーインサイドフォースはスパイラル溝をアームが内側にトレースする助けとなる、という意見まであったようです。例えば米国特許919856-1909では内周に針を進める補助としてターンテーブルを傾け、2277344-1940ではオフセット角のないPSAのアンダーハング設定において内周側のアウトサイドフォースに対応するために最内周側に磁石でバイアスを掛けている。
溝による送りピッチ速度は回転速度に比例するので78回転SP溝やLead-out溝で大きくなりますーLP及びEPの最大lead-out
pitch幅(6.4+/-3.2mm)はそのことを考慮して決められていますー1964年のIEC98ではLead-outピッチ幅が6.4mmを超える時は溝幅(top
width)も76ミクロン以上にするよう推奨し、SP盤のEccentric lead-out pitchは±3.2±0.4oに抑えられている。その背景を分析した結果は下図参照。通常のLPは200degrees/s回転するので平均100grooves/cmのピッチで360degrees*100/200degrees即ち180秒で1cm内周に進む⇒約56㎛/sで内周に進むのでspiral
tracing force(螺旋溝の送りによる力)は無視できるほど小さい。
| SPIRAL TRACING FORCE: simulation for stylus climbing up on groove wall when lead-out pitch groove encounters with concentric finishing groove. | ||||
![]() |
lead-out pitch 6.4+/-3.2mm per turn | LP (100/3rpm) | EP(45rpm) | |
| Max speed for pitch 9.6mm/turn | 0.53333333 | 0.72 | cm/sec | |
| Climbing height (approx.) | 1.5 micron | 2.7 micron | ||
| average music pitch 100grooves/cm | 0.00555555 | 0.0075 | cm/sec | |
| The theory of potential energy: the climbing height is corresponding to the speed at the floor. | ||||
Stevensonの論文PICKUP ARM DESIGN(1966年)では当時現れ始めた特殊形状の針で<いずれトレーシング歪は減少する>と予測し水平トラッキング歪の方に焦点を当てたようです。カルフォルニア大学の物理学博士John D. Seagraveも1956年AUDIOCRAFT MAGAZINEに"MINIMIZING PICKUP TRACKING ERROR"を発表しています。1980年Audio Magazine: Tonearm Geometry and Setup Demystifiedと1987年Audio Critic: Lateral Tracking Alignment Revisited (Maybe Your Overhang Is Wrong After All)等により通称Stevenson・Baerwald・Loefgrenタイプという分類が確定したようです。Elison氏のLoefgren Bという呼称も1987年Audio Criticに基づいています。ちなみにLoefgren (A)は歪のピーク値が低いBaerwald typeと同一です。最近は歪の平均値が低い Loefgren (B) type (通称Loefgren type)の設定も見直されてきているようです(グラハムの一部のアーム?)。私はstevenson.xlsファイルを作った時に3点が同じ歪にならない誤差に気づきました。Dennesの最近の研究では過去のどのEquationsも完璧ではなく、Solverを使った分析的方法によって得た結果から、歪の面積を小さくするPerfect Loefgren Bと歪のピーク値を小さくするPerfect Loefgren Aの値が示されています。統計的方法によるアプローチはフランスのSeb氏によって先行的になされました(ピーク歪と平均歪を共に低くするデザインも示されましたー即ち目的により解法は一つではないことになります)。数学的には面白い課題ですが私の扱える範囲ではありません。彼らの試みで分かったことはLinear OffsetもしくはOffset AngleはPerfect Loefgren BとPerfect Loefgren A間で異なるのでOverhangだけ調整しても完璧にならないことです。いくら計算が正しくとも、実際に設定できる範囲は後述のごとく曖昧なので、調整して歪が少なくなったと感じるのは手数をかけた後の気持ち(自己満足)の程度です。
このエリソン氏とブライアン氏が(何でもかんでもオーバーハング15mmにしてしまいがちな)日本のアームの設計を疑問視しています。通称Baerwaldタイプの設定といってもそれの元になっている録音範囲が現在のIECに基づいていない(1958年の旧IEC98を不適切に適用し、それを繰り返している)ので、どっちもどっちですが。。。

水平トラッキング歪は音溝の速度振幅をv=100mm/secとして計算しています。マイクロのMA‐505は実効長237mm/オーバーハング15mm/オフセット角21度50分=21.833degrees (Linear Offsetは237xsin21.833°=88.14mm)。それを実効長を変えずにオーバーハング17.5mm/オフセット角23.2度にしたベルワルド・タイプとオーバーハング18mm/オフセット角23.2度にしたレフグレン・タイプとの比較です(どちらもLinear Offset 約93.5mm)。SMEの新モデルRとVI/Vで採用されているベルワルド・タイプは全域で低歪(0ポイント間の最大歪と最内/外周の歪の最大歪値が同じ=W字の上面3点が同じ歪レベル)。レフグレン・タイプは歪の総量が少ない=いわば「歪面積」が一番少ない=歪の平均値が低いことです。マイクロのアームはSMEの旧モデルのスチーブンソン・タイプに近く、最内周に重点をおいた設計となっています。通称Stevenson type alignmentは7インチ45回転と12インチLPとの共用目的だったためLPのバンド範囲から見ると内周重視に見えるだけです(最内周ならびに最外周を何処に設定するかの問題ですーEPの音溝の最内周半径を54mmとしLPの外周を146mmとした時、MA-505やSL-1200のアームでは3点の最大歪がほぼ同等になります)。オフセット角は固定ではなく実効長(シェル上の針の取り付け位置)に依存しますのでカタログ上のオフセット角は所定の実効長での数値です。従って、シェル上でカートリッジを1.2度内向きに取り付けると同時にオーバーハングを2mm強多くすれば従前のマイクロのアームもLP用に限定したベルワルド・タイプやレフグレン・タイプに変身するわけです。1980年頃から通称ベルワルド・タイプのアーム設定(Error Null Points: 66mm&121mm近辺)が主流になった背景には、音楽ソースの主体がEPやSPではなく専らLPになった現実があると思います。
上図の2次高調波歪率はPhono Equalizerを通した後では高域で相対的に約半分になりますので水平トラッキング・エラーが外周で5度(もしくは内周で2度)あっても実際にその歪を感知できるかは疑問です。正直なところ私にはわかりませんでした(苦笑)。楕円針の取り付け誤差やカンチレバーのダンパーによる曲がりなどの方がもっと酷いことになっていると想像します。シェルのところで視認できる量は角度で1度、長さで0.5mmが限界ではないかと思われますのでいくらプロトラクターやオーバーハングゲージで調整したところで<気持ち程度>の問題です。
Stevenson氏はPICKUP ARM DESIGN(1966)P.320で以下のように述べています:
The reduction in distortion is fairly small and it may not be considered
worthwhile to modify an existing pickup arm. However, if a new arm is being
designed, values of offset angle and overhang have to be chosen, and as no extra
work is involved in using the values given here in preference to Bauer's, it
would be foolish to disregard these improved values on the grounds that the
reduction in distortion is very small. It is a step in the right direction
although two or three such steps may have to be made before the improvement is
audible.
果たして水平トラッキング角度誤差を少なくすることによる歪の改善が聞こえるようなレベルまでの進歩が通常のアナログレコード再生にあったでしょうか? 所謂「黄金の耳」(golden
ears of donkey?)を持った人や裸の王様の衣を賞賛する大人はこの違いを聞き取れると主張しています。私は微調整による音の違いは認めますが、その原因を水平トラッキング角度に帰することはほぼ不可能だと思っています。我々は歪に対してある程度まで鈍感なのが現実なのですが歪の数字だけ見て感知できるとハズと思い込んでいる人がいます。
2009年AES
第127回大会でRichard Tollertonは"Digital simulation of phonograph
tracking distortion"の表題でConvention Paper
7924を公表しました。トラッキング歪み(主に2次高調波)を純粋にPCM合成してどの程度まで歪が聞き取れるか【歪の敷居値】を実験した結果は、単一合成音(Tone
Stereo)ではE=0.0178(LP内周6cmで2.11度の角度偏差に相当;信号レベルはpeak
10cm/s)まで聞き取れたが、実際の音楽(ピアノや四重奏)に歪を加えた場合E=0.1(内周の角度偏差11.71度に相当)以下の歪は聞き分け出来なかった。11.71度のトラッキング角度偏差は横方向(HTA)でも縦方向(VTA)でも有効な値で、1963年のDuane
H. Cooperの調査報告("Vertical
Tracking Angle Distortion in Practice" Audio, September 1963 pp.40.71)でもE=0.1に近いE=0.098相当が聞き取れる限界とされている。Tollertonは視聴用CDを作成し関係者に配りその有効性を確認しようとしたが、はっきり否を唱える人が今のところ居ないそうです。
単純なProtractorを余分のシェルを使って作ってみました。定規をシェルのネックから50mmのところでスコヤ(Square)を使って直角に取り付けただけです(もちろんシェルの中心線に定規の端を合わせてあります)。これをアームにはめてスピンドルの頭/レコードの中心とクロスするところの目盛りを読めば0地点が直読できます。私のマイクロMA-505でオーバーハング15mmにすると60mmと115mmあたりが0地点になっていました。

0地点の件に私は余りこだわっていません。 アームの設計のとおりに設定できれば<御の字>でそれ以上の調整は余分だと思いま す。 カートリッジとシェルの取り付け穴2.6mmに直径2.5mmのネジで取り付けた場合2度程度調整可能ですが、どのアームもBaerwaldの設定に無理やり調整したらアームの個性がなくなってしまいます。 根拠のない(不合理な)個性に走るのは疑問ですが、理由のある個性(他にも問題が 多い内周に余計な負担をかけない内周重視のアーム)なら私も納得できます。 以下の図はAlignment調整をシェル上で行うアームとSMEのようにBedplate上を移動して調整するアームの比較です。どちらもBaerwaldタイプのアーム例:実効長229mm・オフセット角24度・標準オーバーハング18mm。これらの調整は当然同じ意義を持ちます。表面上の違いはArm Distanceを固定してオーバーハングだけ変える場合は実効長も実効オフセット角も変わるのに対し、アーム全体を移動する場合には実効長とオフセット角は変化しません。


次の図はGroove Radiusを60-146mm間に限定した場合、Bedplate上でアームを移動し実効長を変えずにオーバーハングとArm Distanceの設定偏差によりどの程度最大歪率が変わるかBaerwaldタイプの実効長20/23.7/30cmで比較(Arm Distance固定でシェル上でオーバーハングを調整すると実効長だけでなくオフセット角も変わることに注意ください)。気が付くことは: 1.一般にオーバーハング標準値と比較して少なすぎより大目の方が歪が大きくなる傾向にある 2.実効長の違いに対し歪みの絶対値の変化は少ない(長さのポテンシャルより設定の方が大事)。それでは”何故9inch程度の実効長のショートアームと12inch程度のロングアームが同じメーカーから同時に出たのか”については歴史的な理由がありました。つまり16inchのTranscription recordingsが放送局で60年代ごろまで使われていたためProfessional用途で長いアームの需要があったようです(16inch=直径約40cmの外周の溝をトレースしたときでも水平トラッキング角度偏差を少なくするため)。現在12inch以下のレコードの再生にはロングアームの必要はなくなったのですが、本来の歴史背景や目的は忘れられ、販売上の(選択肢=バリエーションがあったほうが客を引く)理由から慣習的にロングアームをショートアームとともに提供することが多くみられるようになりました。実質的な差異は実効アーム質量の違いにあり、長いアームはコンプライアンスの低い古いタイプのカートリッジを使う場合に限られるようです。短いアームでも重いシェルを使えば同等になるはずですが、Professional又は希少なものtime-honoured or vintage or noveltyなど”異なるもの”に惹かれるマニアには必要なもののようです。アームの追随性が良い軽いアームがいいのか、それとも追随性の悪い頑固な重いアームの方が忠実度が高いのかは分かりません。

Stevensonタイプのリニアオフセット長が短め(オフセット角が少な目)のアームではどうなるか比較してみるとオーバーハングの標準値からの偏差と歪みはほぼ左右対称でした。

オフセット角の標準値からの偏差と歪みは以下のようになります。角度とオーバハング量(もしくはArm Distance)がともに狂えば相乗効果で歪率が更に悪化する場合があります(運良く少なくなる場合もある)。


ステレオ初期頃の古い業務用アームの記述で14吋(寸ではない)とか16吋というのはインチ単位での全長を概ね示しています。古いアームはカウンターウエイト部が比較的長くアームの実効質量が問題にならなかったおおらかな時代に多く生産されました。そしてその全長は適用するレコード盤の直径又はターンテーブル直径にほぼ該当すると考えられていました。実効長9インチアームが12インチLP、実効長12インチアームが16inch Trascription Recordにそれぞれ用いられていた背景があります。
| Total Length | Effective Length (arm pivot to stylus) | Rear Length (arm pivot to rear end of arm) | |
| inch | mm | approx. 75% of total length | approx. 25% of total length |
| 12 | 304.8 | 229cm≒9inch | 76.2 |
| 13 | 330.2 | 248 | 82.55 |
| 14 | 355.6 | 267 | 88.9 |
| 15 | 381 | 286 | 95.25 |
| 16 | 406.4 | 305≒12inch | 101.6 |
ヤマハのオフセット角のないIntegrated Pure Straight Arm YSA-2の解説書に通常のオフセット角のあるYSA-1との歪の比較図がありました。45/45ステレオ溝をトレースしたときの歪についてシミュレーション計算値と実測値を比較しています。トラッキング角度による歪を調べる場合、垂直トラッキング角(VTA/VMA)については垂直信号を、水平トラッキング角度偏差については水平信号を使うべきなのですが、このテストでは片チャンネル(即ち45度方向録音)20Hz-20kHz Sweepテスト信号を使っています(恐らくステレオ溝の実体を示すため45/45溝を使ったのでしょう)。基準速度振幅3.54cm/s peak(45度方向)を水平成分と垂直成分に分けるとそれぞれ1/√2=約 2.5cm/s peakになります。左チャンネルSweep信号バンド(トレース溝直径最短部27cm)を使った場合:2.5cm/sを速度振幅として水平トラッキング角度偏差による計算式に代入すると歪は約0.9%(-41dB)となり、MC-1000の針先の曲率を8micron相当として垂直成分のトレーシング歪(2次歪)式に代入すると1kHzで-51dB、10kHzで-31dBとなりほぼ図と一致します(右チャンネルSweep信号バンド最短直径26cmでは:角度誤差による歪は1%=-40dB、垂直成分のトレーシング歪は1kHzで-50dB、10kHzで-30dB)。たとえ外周で10度偏差があっても水平トラッキング角度偏差による歪は過少で二桁%に達する他の歪(トレーシング歪など)と比べるとほどんど無視できることを示しています。水平トラッキング角度偏差による歪は溝の周波数とは関係ないのに図上で1kHz以下減少している理由は、RIAA録音特性から高域のtopliftだけ省いたテストレコードTRS-1007の性質を反映したものです(同じ理由でtracing distortionのシミュレーションカーブも低域側で曲がっている)。200Hz以下計算値より高い2次歪が実測されたのはテストレコード自体が持つ録音歪の影響か又はRIAA録音の低域はS/Nが稼げないため相対的に歪電圧が大きくでるのかー想像の域を出ません。下線部の結論を急ぐあまり、かなり”やんちゃ”な説明も含まれていて興味深い文書です。

TRS-1007は外周と内周でのカートリッジの周波数特性差を調べるために内周溝径約6.5cmにも同じ信号が記録されています。内周側では角度偏差によるトラッキング歪も針の曲率によるトレーシング歪も共に増えるが、トレーシング歪の増え方はトラッキング角度偏差による歪の比ではない。例えばYSA-2では最外周では最大+9度、内周では−10度の偏差がでるが、上記のシミュレーションを内周(溝直径13cm)に適用すると次のようになります。何故歪カーブが平行移動するだけではないのかを考えると:トラッキング角度誤差による歪(=v*TAN(A)/V )は溝径に反比例する(Vが半分になると水平トラッキング歪は倍の6dB悪化する)のに対し、垂直トレーシング2次歪の式(pi*f*rs*v/V^2)を見ると溝径における線速度Vの自乗に反比例するので、Vが半分になると垂直トレーシング歪は4倍(12dB)惨くなる理屈です。垂直成分のない水平録音モノラルでもピンチエフェクトにより垂直偏移が発生し、通常のステレオカートリッジでトレースするとやはり2次高調波歪が発生します。垂直成分をピックアップしない古いモノラルカートリッジがモノラル録音には最適な理由でしょうか?針先の曲率を小さくすることでもモノラル溝における垂直偏移を軽減できますが完全に無くなるわけではありません。

垂直トラッキング誤差はカートリッジの方の問題なのでカートリッジの項をご覧ください。
ボブ・グラハムのアームのページでWhitepaper on Analog Reproduction and Tonearm Designと題したものはアームの諸問題を論じていて面白かった(特にアンチスケーティング)。グラハムのアームを持ちたいとは思わないし第一買えるほど懐具合が良くないが、近頃のターンテーブルやアームは感心しない(15年位前の方がまし)というのには同感しました。グラハム氏はアナログの最盛期が終わった頃に登場しましたが、今でも熱心に研究を続け彼のunipivotアームに改良を加えています。ワンポイントアームの場合、動的な左右バランスが狂いやすい欠点を2個の磁石で安定化する工夫で2008年米国特許7382713を得ています(以前の彼のアームは2個のlateral counter weightsをunipivotの位置より下に置くことでこの問題に対処していました)。”Lateral stability lacking in a neutral balanced unipivot tone arm is provided by magnetic coupling between magnets on the tone arm housing assembly and a freely rotating platform”と述べておりアンチスケート機構もプーリー・ベルトを使った特殊な構造です。以前製品化された彼のアームと同様にアームが内周に進むほどアンチスケート力が大きくなる設計ですが、バイアス錘のロッドの回転角はプーリーを使うことにより従来の構造に比べると約半分になるのでバイアス力の変化は比較的少ない。Graham Phantom という新シリーズのアームがこの特許を実体化したものだということを最近知りました。本国のサイトでは実効長などを明記していないので、輸入元の要望でのオーダーメイドに近い製品のようです。
一部のハイエンドのアームでパイプの種類をお好みで選べるというのはカートリッジを考えての事と思うが如何なものか?<色違いもありますよ>と勧める家具屋や骨董屋じゃあるまいに、なんて皮肉を言いたくなりますが、これはイソップの<酸っぱい葡萄>の論理・<持たざる者の論理>inverted snobberyの類でしょうね。
単位はcsという単位であらわされる事が多いですが、これは正確にはCGS系の動粘度cSt(センチストークス)のことです(1cSt=1mm2/s=0.01cm2/s、1St=0.0001m2/s=1cm2/s)。 数値が大きいほど流れにくい(内部摩擦が大きい)。 シリコンの粘性を後で調整するのは難しいらしい(粘度の違うオイルを混ぜる手があるらしいのですが)。信越のRTVシンナーは全く別の用途で使えないようです。以前にオイル見本(離型剤)を持っていましたが、数年後には揮発分がなくなって固まってしまいました。純度の高いシリコンオイルは経年変化しないそうです。純椿油の説明書を見たら乾性油(アマニ油桐油)半乾性油(大豆菜種油)不乾性油(椿油ヒマシ油オリーブ油)の区別があるそうです。動粘度の数値は測定条件によっても変わるようで、20万cStとして入手したサンプルが別ルートで入手した50万cStの物より硬かったりあまり信用できるものではないようです。SMEのFD200用ダンピングオイルは20万cStとのことですが、現在の指標ではより柔らかい5万cSt程度のものが適当なようですーFD200のマニュアルでも変形したレコードをトレースしたときの不具合に対して 1.オイルの量を減らす 2.粘度の低いオイルを足す 3.paddleを小さいものに替える等の対策を提示しています。アームリフターには普通50万cStくらいのものが使われているようです。追記:EMIのEPU 100システムの発明者Pyke氏はGB977841(1964年)でワンポントアームの制動に2万から4万センチストークスを推奨していますが、彼のワンポイントアームは全周で制動するthimble筒型であったことを考慮しなければならない。従ってダンピングオイルの制動力は @粘度A制動装置のアーム回転軸からの距離B液との接触面積により変化するので、それぞれのアームにそれぞれ最適値があるようだ。
ダイナミックバランスのアームは変形したレコードをトレースしても追随性能が高いといわれています。アームの支点回りに<落下>(つまり初速を振り子の周期として分析)した時、スタチックの重力加速度よりもダイナミックのバネによる加速度の方が早く働くことはないので不思議です(重力でもバネでも3gの力は3gなので同じハズです)。<トーンアームのバランスをゼロに保ったまま針圧をかけるので、慣性モーメントがほどんどなく、レコードの反りや偏心の影響を受けずに常に一定の針圧を保つことができます>という<レコードプレーヤー百年史>157-158頁の山川正光氏の説明は理解できませんでした。スタチックバランスアームの重心は数ミリしか支点から離れないので平行軸の定理による追加モーメントはわずかで針圧をかけるときカウンターウェイトは支点に近づくので全体のモーメントはダイナミックでもスタチックでも余り変わらないと思うのです(計算例参照)。むしろバネの性質を逆用しているのではないかと思えます。つまりアームが盤の変形により持ち上げられると張力が増え実効針圧も増え、一番問題となる盤が下がり始める時にも良く追随できるのか? マイクロMA-505でバネが十分リニアなものとして計算すると盤の高さ変化±2mmによる針圧変化は±十数ミリグラムにしかならないのですが、実際にはもう少し変化が大きいのか? 盤の変形(vertical
wow around 2-4Hz)によるアームの強制振動ではバネの反発力は静的に釣り合っている力よりも大きくなると考えられる(短時間にバネを引く場合には余計に力が必要=針圧変化を助長する)。アームの下降回転をシミュレーションしてみると、その初速は遅すぎて盤の変形(特に山越から落下する時)に追随できない時間(>数ミリセコンド)が出来ます(ダイナミックでもスタチックでも)。その空白時間はカートリッジのダンパー反発が埋めていると予想します(カンチレバー長さ8mm前後で等価質量が1mg程度の針運動はアーム先端の運動速度に比べようもなく早いのですがその偏移幅に限界があるのです:その限界を超えれば針飛びします)。なんとかトレースはしても音が変になる(縦振幅が多くなる)理由がこれではないかと思っています。1977年LadegaardのAudible
Effects of Mechanical Resonances in Turntablesで報告された針圧変化(P11)はイナーシャの少ないLow
Mass Armの優位を示しています。確かにリニアトラックの短くイナーシャの少ないアームはダイナミック・スタチックに関係なく反りのある盤でもよくトレースします。追記:ダイナミックバランスは引きバネを利用したものが多いのですが、マグネットを使った物も存在しました(1977年発明のLustre
GST-801)。Kenwoodの北島さんも1978年日本特許(S55-48804)を申請しており、そこに次の文章を見つけました:「従来は、磁極間の相互作用の1つのみ、つまり引力か斥力の一方のみを利用して針圧を印加している。しかるに、この方法は磁極間の距離が変化すると、力の大きさも変化してしまう。<中略>たとえばレコード盤のそり部が原因でアームの上下回動方向の角度が変化すると、針圧が変化する欠点があった。そして、針圧の変化は、音楽信号の振幅変調やひずみの原因となるものであった。この欠点は、バネにより針圧を加えるダイナミックバランス形トーンアームでも存在し、やはり解決しがたいものであった」として4個のマグネットによるプッシュプル(斥力と引力を利用)により一定の針圧を得る方法を提案しました(実際のモデルは販売されなかった模様)。つまり、ダイナミックバランスシステムではソリのあるレコードの山部で自然に針圧が増加し針のダンパー反発力が谷部で開放されるので針飛びしにくい傾向があるが、同時にその針圧変化により歪み(縦方向の振幅変調)を生じる。ソリに対するトレース能力を優先するか、歪みの方を問題とするかで判断が分かれますーこの点は特許図に見る珍しいアームのVestigialの項でも指摘しました。スタチックバランスでも山部ではカートリッジダンパーを圧縮しながらアームを持ち上げるのだが、その力は針先から見たアームのイナーシャ(moment
of inertia)が対象なのですーそれに対しバネによるダイナミックバランスではイナーシャだけでなくバネの伸張による張力(moment
of force)が定常針圧に追加されるので、ソリによる針圧変化はダイナミックバランスアームの方が大きいことになります。因みにDenon DP-7Fのアーム部は磁石とコイルによる電磁ダイナミック型ですが同じく「持ち上がった時針圧が増える」傾向がみられます。上下1mm以内なので設計上問題ない範囲とされているようです。その他考えうるダイナミックバランスのアームの利点:@無重力の宇宙でもレコードが演奏できる[直立した盤を両面演奏するジュークボックスなどで実際に使われている] Aバネのブレーキ制動によりアームの跳ね上げ速度が一定以上に大きくならない(これとカートリッジダンパーの過度の圧縮とがダイナミックバランスアームのソリに対するトレース力の正体か) B重力方向(鉛直)とバネのベクトルが違うことにより支点が2方向でベアリングに圧接するので所謂bearing
chatterが生じにくい
もしバネの動的な非曲線性が存在しない事になると、テーゼ『ダイナミックアームは変形した盤のトレース性能に優れる』も架空のものになるーそしてある実験者は虚妄・迷信だと指摘しています。テーゼの根拠(慣性モーメントの違いを私は否定しバネの動的な非曲線性を仮定した)が否定されれば私はお手上げだ。
既に1957年にPercy Wilson氏はTHE GRAMOPHONE HANDBOOK(P.86)でアームの運動及び混変調歪(the effects)を簡潔に述べています(swingerは偏心によるアームの横運動を指す):"Naturally, the effects both of warped records and swingers are increased if the effective mass of the carrying arm when viewed from the stylus is considerable. There is thus a practical advantage in having not too massive an arm." 私のごちゃごちゃした説明と比べると、なんと見事な解説でしょう!
Static balance armではカウンターウエイトCWをアーム支点に近づけると針先から見たアームの実効質量は軽くなる。アームをヘッドウエイトHW(カートリッジを含む)とカウンターウエイトCWにモデル化した場合の計算例。平行軸の定理 I=Ig+Md^2 回転系の総重量M=HW+CW, Ig=HW*L^2+CW*D^2 dの位置で増える分(Md^2)よりDの値の減少(CW*D^2)の方が大きく働く結果になりました。古い設計のアームのカウンターウエイトが長円筒形だったのに対し新しい設計のカウンターウエイトは直径が大きく短かい円筒形になっています(Black Widow/Magnepan等)。これらも実効質量を軽くする工夫です。しかしながら実効質量を減らすためには交換ヘッドシェルを止めてヘッドウエイト全体を軽くするのが一番です。針ユニットだけ交換するintegrated arm(カートリッジを含めた一体型アーム)では実効質量を最も少なくできます。ダイナミックバランスアームの慣性モーメントは下表の針圧ゼロの場合に相当します。
| 針圧 | 0 | 1 | 2 | 3 | g |
| 実効長 L | 23 | 23 | 23 | 23 | cm |
| HW | 20 | 20 | 20 | 20 | g |
| CW | 100 | 100 | 100 | 100 | g |
| CW・支点間距離 D | 4.6 | 4.37 | 4.14 | 3.91 | cm |
| 支点・重心間距離 d | 0.00 | 0.19 | 0.38 | 0.58 | cm |
| 慣性モーメント I | 12696 | 12494 | 12312 | 12148 | gcm^2 |
| Effective mass | 24.00 | 23.62 | 23.27 | 22.97 | g |
ジャンクのリニアトラッキング・プレーヤ・システムを最近入手しました。その報告は初めてのリニアトラックを見てください。
My personal note on lateral tracking error distortion: The most popular simulation graph is given by Mr. Elison
where corresponding distortion is indicated based on the reference velocity of modulation 10cm/s
which is much louder than normal recorded level. Moreover, tracing distortion for such high level modulation
is more than 4 times of normal lateral tracking distortion. The audiophiles are putting too much importance on subtle distinctions
and would not have the broader view. I compared theoretical rates of distortions in my
page based on velocity 5cm/s. FRANKLY SPEAKING THE MEASURED DISTORTIONS ON RECORDS CANNOT BE CLASSIFIED
AS "WHICH DISTORTION IS FROM WHICH" RESPECTIVELY. They can be shown only as accumulated harmonic and non-harmonic distortions.
I have never seen the test result indicating lateral tracking angle error only.

Yamaha's measurement of YSA-1(offset arm) &YSA-2(pure Straight Arm without offset). See that there is no essential difference between these two arms: no worse and no better in measured distortions! Hence I suppose neither the deflection of cantilever due to side thrust nor the lateral tracking angle error might be important issue actually even though every analog system sounds different each other on our hearing. IMO: The above chart is tricky. Sweep test bands of TRS1007 are recorded 45degrees L or R so that the above tracing distortion as calculated is virtually for (2nd harmonic) vertical tracing distortion since the distortion for lateral tracing distortion is mainly 3rd harmonic and rating about half of 3rd harmonic vertical tracing distortion. Though Yamaha document has not clarified this point, their equation for tracing distortion is applicable for vertical tracing distortion in my understanding. The decreasing curve of lateral tracking error distortion under 1kHz is reflecting the characteristic of usual frequency test record which is excluding top lift 75microsecond from RIAA recording characteristic.
There is a Japanese song [yosikono-a Geisha song] accompanied with Awa dance festival similar to Samba:
"If the dancers and the spectators are both fools, then it is much better to dance in their
way!"