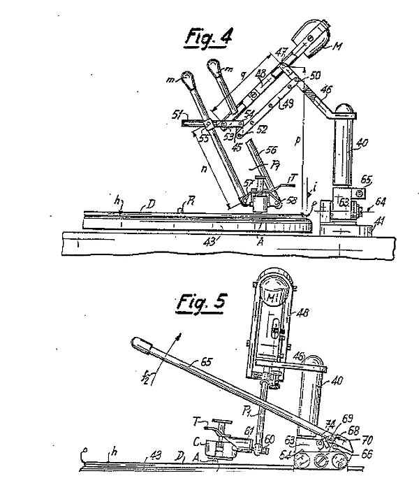
テクニクスのSL-10シリーズは有名になりすぎて中古市場で高値になっていますが他の同タイプはジャンク扱いです。そのジャンク品の中からP−9Fを選んでみました。Linear Tracking Arm & Quartz PLL Direct Drive Full Automatic Turntableとありトリオ・ケンウッド時代の製品です(1984年製?でロゴはTrio)。34x34x10cmでSL-10より少し大きい。プラ・ケースですが作りはしっかりして自重も6キロあります。アームと一体になったIM型カートリッジV-53Aが付いていますが、その接合針の頭は取れていました。アームの送り機構はチューナのダイアルと同じループ・ワイヤー。送りのタイミング・センサは透過型フォト・インタラプタでアームヘッドが内寄りになると遮光板がはずれ送りのモータが動き始めます。スタチック・バランスで針圧は1.25g固定。キューを出すのにソレノイド・プランジャーを使っています。カセットデッキ等とシンクロするための8PinのDIN端子があり、本体にもDubbingボタンがあります。30cmと17cmのオート・サイズ・セレクトはターンテーブルの下にある2個のフォトセンサーによって分別しているようです。透明レコードやカラーレコードをかける時に使う黒い遮光シートが付属しており[このシートは、オートサイズ・スピードセレクターの誤作動防止用です]とあります。カートリッジの針先を照らすランプは死んでいるようですが、動作に支障がないのでそのまま。25cm盤をかけると45回転になり途中から再生されてしまうので、33回転スイッチを押しリバースボタンで頭だししてからキューを押さなければならず、その際にランプが必要なのでした(この機械では中間サイズは自動になっていない)。裏蓋に半田痕があることから前オーナーが手を入れたようです。カートリッジ出力はリレー(再生中以外は出力ショート)を通してRCA出力ケーブルへそのままイコライズされずに出力されます。モータ・トルクはさすがに小さくベルベット・クリーナーで触れただけで音が揺れますが、本来蓋をして再生するわけでトルクを云々する機械ではありません。

プランジャーの左のアジマス(黒プラスネジ)と送りスピード・トリマを調整してから新しい交換針をつけてみました。 この針のほうが本体より出費が数倍多くなりました。この交換針(N-53ではなくTECTRONの代用品)の針圧は2g程度必要なのでカートリッジにオトナシートを張って針圧調整しました。タイミング・センサの調整は微妙で、水平に設置しないと作動しなかったり過度の送りになったり、怖い自動機械。黒いレールにアームを含めた右基盤全体がぶら下がる機構で、ピックアップヘッド支持は水平軸垂直軸が交差しない方法で、支点と力方向などテンデンバラバラ。センサのため意図的に水平バランスは崩してあるようです。足のゴムが変形していたので、ハネナイトの足に交換しました。そのせいか、プレーヤを床においてその前で地団太踏んでも音飛びはありませんが、音に伸びがないので、さらに足にフェルトを張ったら改善されました。スカキンのアルミ・ターンテーブル(700g)の裏面をオトナシートで防音しその外側に1mm厚の鉛板を張った結果ターンテーブルの重量は5割増の1070gになりました(ゴムシートを入れて1.23kg)。調子に乗ってスタビライザー(380g)を載せてみたら、モータのゴロが聞こえ始めました。モータ支持部が弱いせいでスピンドルの振動がもろにターンテーブル/レコードに伝わっていると思われます。外形9x9x1.5cmのモータは底に不思議な形状のプラスチックで補強制振してありました。1mm厚の鉄板の中心部(1cm径真鍮)に回転部の全重量が載るわけですから重さに見合う下部構造が必要なようです(ターンテーブルの重量アップは良し悪しでした)。


モータの制振を考えた方が良さそうなので、分解してみました。ボールベアリング(4mm)はスピンドルの根元にあるのかと思ったら、パイプにテフロンを鋳込んだ頭に当たる部分にありました(皿回し状態)。テフロンパウダー入りグリスに入れ替え、制振素材でモータ底蓋を補強したところ、音がすっきりしてきました。とくに右下の写真にあるワッシャー(Black Metal)が効いたようです。このタイプのフラット型DCモータ(ホール素子が2個で4個のコイル)は普及型の多くのターンテーブルに使われているようです。


実効長8cmのアームで送りの最小値が約0.15mmなので計算上は0.1度の水平トラッキング誤差になるわけですが、送りのモータとベルトでつながっているもう1つのインタラプタ(Track Counter)の6枚羽根の動きを見ると送りのスピードはリニアではなく1枚から3枚とかなりランダムです。結果±0.15度の誤差になります。これはLPが4回から5回転する時にアームがシフトすることを意味します。通常の回転アームでも同様でLP螺旋溝は平均56μ/sで内周に進むわけですが回転アームはその通りには動きません。ある程度力(カンチレバーの変形)が蓄積したところで初めてアームは回転するのです。身も蓋もないですね。
リニアトラッキングは故障が多いと聞いていましたが、可動部分が多すぎます:1)アームのレール・パイプにゴミや摩擦があってはいけない(一方で巻き取りドラムとワイヤー間の滑りは少ない方が良い) 2)アームの線は尺取虫みたいに動く(屈曲運動) 3)経年変化で自動化動作点がずれてうまく頭だしできなかったり、リードアウト溝速度(6.4mm±3.2mm/pitch)に合わなかったり、アーム駆動ベルトの劣化、等々。他のリニアトラック機でも以上の点は共通しているようです。自動演奏の仕組みは後のCDプレーヤを思わせます。
私のDP-2000は上軸なしになっていて、30cmより小さい盤は再生不能になっていましたが、そのような盤にはこの機械はうってつけです。78回転SP用BSRと合わせて、完全なラインアップが出来上がりました。中古レコードを再生機器で再生!?
上記のモータ部をエポキシで固めるとか底に厚めの鋼板を貼り付けるとか考えたのですが、壊す恐れがあり躊躇していました。そこでモータ部は共通だろうとの目論見で弟分のP-5Eを210円で手に入れました。弟機といっても1988年製でこれはKenwood Corporationになっています。モータは共通のようですが、内容は全体に簡略化されています。アームが蓋ではなく本体側についています(実効長13cm)。本体の切り欠きからこれを取り出して反転させた写真が以下。ゴムと一体化したターンテーブルは1020gありました。グリスがこびりついて動かないようなのでエタノール水をタップリかけてから拭き取ると動き始めました。もうひとつの原因は糸絡み(乗り上げ)でした。針(ATタイプのMMで交換針はN-71:P-5E P-7E P-5J共通)は正常なのでそのまま再生出来ました。

<水飲み鳥>状態のアームを見ると期待できませんでしたが、針が新しいせいか兄機よりもいい音がします。アームは縦軸横軸近接しており、フォト・インタラプタはアーム直線上にあるので水平バランスは崩れないのは合理的に思われます。他に違いといえばアームは右位置が停止位置でこの方が使いやすい(そのため幅が2cm広い)。兄機の方は停止位置が内周側でスタートまでが遅く感じられます。
兄機がこのままでは情けないので、思い切ってカートリッジごと換装することにしランプも交換しました。ランプのシェードだと思っていた丸い部分がIMの磁石でした。ランプ基盤(プログラムのための発光ダイオード+フォトセンサ)を残し磁石を外してエクセルのMMカートリッジES-70S をボンデングして聴いてみたらハムを拾います。ハムはもともと少しあったのでこんなものかと思っていましたが弟機ではハムがないので、リレー周りを再半田していたら送りモータの基盤のアースの塗装が半分しか剥がされていないのに気が付きました。こんな状態でメーカは出荷したのでしょうか?塗装を剥がしてから聴いてみるとハムは跡形なく消えていました。抜けが悪く感じられたのは主にアーム軸受け(マイクロベアリングとピボット4組)の状態によるようです(rigidにすぎると抜けが悪く感じられ、それから少し緩めると抜けがよくなり、緩めすぎるとビリ音がでる)。

聴き慣れたエクセルの音がします。ことさらリニア・ターンテーブルで聴いているとは感じられません。製品の完成度はターンテーブル>アーム>カートリッジの順で、違いが感じられるのはその逆の順になるようです。
結論はまだ出ませんが、蓋と蝶番が悪さをしているのに気がつきました。ここ20年ほど蓋つきプレーヤを使用しなかったので分からなかったのですが、蓋にも良いものと悪いものがあるようです。蝶番に強力なバネで摩擦を増やしクリックで止まるようにしているものは、いわばつり橋状態で前の部分が共振源になります。蓋に付いているリニア・トラッキングのアームの土台も片持ち状態です。重量が平均にかかるただの蓋の方が良いはずです。
これらのDCモータはターンテーブルを外してスピンドルを回転させると指でトルクのタイミングが分かりますが、音ではCoggingが出ているとは分かりませんでした(但し力強い音がでないもどかしさがあるように感じましたが)。トルクムラとしてのコギングをネットで調べましたら<Cogging occurs when the rotor magnets seek alignment with the stator teeth>とありました。例えば20スロットとして33.3回転時11.11Hz,45回転時15Hzもしくはそれらの周波数の整数倍の振動・フラッターになるはずですが、プレーヤ製品でコギングだと特定できる測定データを見たことがありません。
これらのリニア・トラッキング機は反ったレコードでもトレースできていいのですが、どれも音の傾向<ブーミーな低音>は同じで、これはレールを宙づりするリニアトラックの機械構造に原因があるように感じます。P-5Eのレールの改造:オリジナルは5mm径肉厚0.5mmのステンレスまたは比重8.23と光沢から見ると真鍮のクロム鍍金のようだ。それを肉厚1mmの真鍮パイプに換えてみました。自作自演のプラシーボもあるかも知れませんが音像が明確になり、しっとりした力強い音が出るようになった気がします。何が効果があるかはわかりませんー重さなのか材質なのか構造なのか、それらの相互作用なのか? どうも重さとゴムブッシュの接合面の違いだけのような気がします(結局ステンレス丸棒にし3/4の所にソルボセインをはさみました)。後はゴムブッシュをもっとソリッドなものに換えるとどうなるのかなど改造ネタは尽きません。プラスチックの筐体に石膏を裏打ちをしました。筐体の重量と回転部重量とのバランスというか相性があるようで筐体にはある程度の重さ(回転部の3倍以上)が必要なようです(単にハウリングの違いなのかは分かりません)。水平ベアリングもばらして調整しました。音質が気にならず長く音楽を楽しめる程度になれば改造は終わりです。
カートリッジとアームを一体化したほうが低域共振その他に最適な合理的設計が出来たハズですが、カートリッジ着せ替えごっこが好きなアナログマニアには受け入れられなかったようです(CDPのピックアップをADPのカートリッジのように頻繁に換える人はいない)。カートリッジやアームが換えられず一律の音になるとオーディオも普通の家電に化すーその方が健全だったようですが。足を含めたシステムの共振も低すぎるとワウのような変調を受けやすいのですが、かえって音に味が出るので好む人もいますーなにがHiFiか分からなくなります。
反ったレコードのトレースから見るとアームの実効質量は少ないが、カートリッジの針圧(1.7−2g)から見るとコンプライアンスは低めーすると共振周波数は相当高めになっているのでは?
それが10Hz以下に選んだ共振周波数の変調になれた耳からは貧弱な低音に聞こえるのか?
むしろこの低音が本当なのかも知れない。Ladegaardの報告では一般に<レコードの変形等を考慮すると共振周波数は高めの15-18Hzが良い>とのことだが、<カートリッジの性能を測定する場合には、原則として最低共振周波数が10Hz以下になるようにして測定する>JIS
C5503(1979)の測定条件は何を意味するのか?
確かにウーファーの振幅は私の安いリニアプレーヤーでは目立たない。私の場合20Hzが十分に再生できていない環境なのに10Hz以下の共振周波数ではウーファーの振幅による変調音を聞いている可能性があります。Kenwood
P-5Eの水平信号の低域共振は13Hzあたりで垂直方向では20Hz近辺になっていましたが山の大きさはダンプしていないのにマイクロMA-505と比べると相当低いです。
レコードの音がよいと感じられる理由は:
これらの相乗効果でレコードの演奏過剰や時々の変化が臨場感[一回一回の再生が全てLive Performance]に結びついている趣がある。それが楽しければそれで良いということですが。。。ロマン派末期のティークの短編にDes Lebens Uberfluss(生命の過剰)というのがあります。このようにレコードを愛好するのは現実の再生ではなく演奏の過剰を楽しんでいる時代離れしたロマン派でしょうか?
欧米のリニアトラック・アームはEminent Technology/Souther/Dennesen/Rockport/Goldmundなど結構種類だけは出ているようですが、線の処理やメンテナンスなどに問題があり一般化されないのが現状のようです。フォトセンサーとガイドレールを組み合わせたタイプのリニアトラックのアイデアはB&OのBeogram
4000が世界初で(US Patent 3993315)、次に日本楽器(ヤマハ)の家田基(イエタ・モトイ)さんが日本では最初だったようです(1974年日本特許出願番号49-85321他/1977年米国特許番号4039195など)。それ以降各社各様のアイデアを加味して製品化されています。特に日本では1980年代ミニコンポの流行もあってリニアトラック機が沢山生産されました。Sony PS-F9フラミンゴは電池駆動縦型で出力はLine-outなのでラジカセやアンプに接続できヘッドフォンで屋外で聴くこともできた。
ガイドレール上のアームを駆動する動力としては空気圧やDCモータ+ループドワイヤーが一般的ですがリニアモータで直接レール上を移動するパイオニアのPL-L1000(1979-81)もありました。
屈曲する導線を使わないリニアトラッキング・アームはRangabeによる発明USP3235267-1966に示されており、スライドバーから吊り下げたアームをフロートや磁石などを使って安定化した上で通電液体には塩化カリウム飽和溶液等を使うものでしたが、フロートを浮かす上部液体と下部の通電液体が混ざったり各液体が蒸発したり漏れたりする問題があり製品化されなかった。
上記のブランドの中ではSoutherのみがアームの移動に動力を使わない機械式(段違い平行棒上の重心移動=アームのトラッキング角度が変化すると重心が移動するので先に進むーなんだか雲梯を思い起こします)を採用し、現在では同様のものがドイツのClear AudioからTQ1として生産されています。Clear Audioがその権利を持つドイツ特許DE102006052913には何故かSoutherではなくBBCの古い特許GB 691739が引用されていました。日本では永村さんが重力移動式の「自己駆動リニアードライブトーンアーム」を発明していました(特開S49-106801=USP3940149-1976)。針の近くに繊維パッドを設けレコード盤に接触する摩擦力をリニアトラックの動力とする特許公開S53-69002もありました(リニアトラッキングタイプのクリーナーLencomatic同様に、繊維の代わりにブラシをカートリッジの脇に取り付けてもレールに取り付けたカートリッジを内周側に運ぶことができそうです)ーその関連特許公開S54-28602によると針だけでは「サイドフォースは1〜2g以下と小さい値であるためカートリッジを移動させるためには、他のサーボ系などの補助手段が必要になる」、ブラシや起毛した布などのトラッキング材では「数10g程度のサイドフォースが得られる」が「レコード針およびトラッキング材がレコード盤と接触する位置が異なっているため、録音されている音楽等の曲間の無音溝のようにピッチが急激に変化している部分ではレコード針の動きとトラッキング材との動きが一致せず、レコード針が音溝の片方に強く押し付けられた状態になる場合があったが、これに対する満足すべき解決策は与えられていなかった」云々。。。なかなか簡単にはうまくいかないですね。Grado氏も晩年にリニアトラッキング・アームの特許を日本に申請していました(特許公開S55-42399)が同じ理由で製品化できなかったようです。トラッキング材を使ったアームのアイデアは他にもあります:例えばDE3741690-1988。LPの初期またはそれ以前(例えばドイツの時計屋による米国特許893292-1908)からリニアトラックタイプのアーム実験は行われてましたが、録音したものをトレースすることはブランクディスクにカッティングすることとはまた別な難しい問題が生じるようです(雪山を先頭にラッセルする人には馬力が必要で、その踏み跡を辿る人には忍耐と細心が必要)。試行に終わった昔のものに比べて現在のこのタイプの機械的安定度は向上しているのでしょうか? RABCOの創始者Rabinowは早くからリニアトラックアームの構造について発案しています:1954年申請のUSP2915315では板バネを使ったmechanical switchでモーターの送りを制御する方法が示されておりB&Oの特許でも引用されています。リニアトラックの角度偏差による送り制御装置は全て内周側への一方通行となっている理由は前後送りでは機械的な安定度が得られ難かった為と思います。実際のレコードには偏芯やソリがあるのでリニアトラック機構はGimmickで実効はないと私は個人的には思っています。
ターレスのアームのサイトを見ると以前のような大掛かりなもの(2本のアームが離れ離れ)は製造中止になったようで最初の製品ほどのインパクトがありません。最初の製品の歴史背景を発明者のMicha Huber自身が語ったページ(現在リンク切れ)にはソニーの米国特許3924860(1975)の図面も引用されていました。日本人の発明だけでももっと古いルーツがありますー例えば安田・宮崎による米国特許2192464(1940)など:オランダの特許庁のKlaus氏から教えてもらったのですが日本特許公開S57-103102「円軌跡を利用したアーム」はターレスアームの原型です(可変長アームのバランス方法については言及していない)。一方Huber氏の新工夫はターレス円を利用したことではなく、縦方向のリンクによって横方向に延長するアームを発明し、バランス方法について一つの解決を示したことにあります。スイスのAAA(アナログ・オーディオ協会スイス支部)の2005年のインタビューで特許についてどう思うかを尋ねられた時、Huber氏は語っています<単純にターレスの円をアームに応用しただけでは特許にならない。特許にするためには製作の秘訣を打ち明けることなく、発明の核心を伝える方法を見つけなければならない>。HiFiction AGという会社組織を立ち上げ、2008年春現在20セットのThalesアームを製造中で、今度は<ピタゴラス・プロジェクト>によりノルウェーのAudiostone(オーディオ家具メーカーって何だ?)と協力しターンテーブルシステム開発に携わることになったそうです。<レコードがサブカルチャーの形態で生き残る>というドイツAAA発行analog 03.08号の表紙のフレーズが印象的です。オーディオもオーダーメイドの高級家具や高級装飾時計並になった?!ターレスのアームはアンチスケートバイアスの掛け方も面白い:針と溝の摩擦力に直接対抗する錘を設けています。stylus drag coefficient*VTFに対抗するもので、バイアス力については内周に向かって少しだけ減少する設計です。一般の回転する1本アームでは溝右側面にはstylus drag coefficient*VTF*TAN(tracking angle),アーム先端にはstylus drag coefficient*VTF*SIN(tracking angle)の力が働きtracking angleが変わるとそれらの力が変化する[9インチ標準アームで最外周で110%中間で100%最内周で107%程度]のでバイアス力の変化カーブもそれに準じるように設計設定しなければならない難しさがありますーそのカーブに一致したバイアス設計を目指したものはAT-1500 Series IIII以外見当たりません(JVCも米国特許3380744−1968にて内周7cmになるとバイアスウエイトが追加されるバイアス装置を発明していますが実物は見たことがありません)。実際の摩擦力自体が溝の性質によって変わるのでどっちもどっちですが、直接stylus drag coefficientに対抗するバイアス構造の方が一つの変化要素を除外できる利点があります。個人的な意見ですが、バイアス調整などについてはステレオ溝のトレース上の難所やハイコンプライアンスのカートリッジを除外すればさほど気にしない方が賢明と思います。バイアス機構そのものにも摩擦があり、アームの軸受け機構によってはラテラルバランスを崩す恐れもあります。
GEのGuy氏のアイデア(1950年US特許申請2516565)も以下のようにThales Circleを念頭において発明されたようです。Fig.1の図面にいくつか誤記があったので下図のように赤で修正しました。針先をターンテーブルの中心に置き(即ちOverhangは0の状態で)直線アームを外側に回転した時、トラッキング角β(Fig.1の3からみるとアーム長を斜辺とする二等辺三角形なのでトラッキング角はβに等しい)は常にその回転角αの半分(α1=2xβ1、α2=2xβ2)。従ってズレが生じないプーリー(半径比2:1)や摩擦やガタがないリンク構造によってオフセット角をトラッキング角に自動調整すれば目出度し目出度しになるわけです(実際の動作には下線部の条件が微妙)。Fig.2-3はプーリーを使った単純明快な構造ですが難点は連結ワイヤーの柔軟性。これを剛体のリンク構造で実現しようとすると困難が生じる(一方の支点位置が回転に伴って変化する構造が必要):Fig.4-8ではアームの一方の支点を円盤カムなどによって連動する構造が示され、Fig.9-11では針先の真上のリンク部にカム機構を取り入れています。



後のKlein氏の1961年米国特許は剛体リンク型で、Wolff氏の1985年米国特許はベルト+プーリー型。剛体リンク型はプーリーとは異なり、ヘッド48の回転半径をADの倍にしても回転角は厳密には半分にならないのではないか、など疑問がわきます。


以下のリンク方法では回転角比は正確には2:1にならない。こんなシミュレーションをしていると、日本で80年代前半に流行した電動リニアトラッキングの方が合理的で簡易な構造に見えてくるから不思議です。溝径に従って角度を変える機構では見かけの水平トラッキング角度偏差は少なくなるがanti-skating deviceやlink部の軸受け摩擦の方が重大問題。1970年頃のGarrard Zero 100seriesは2個のフェライト磁石の吸引力をbias forceとしていました(USP3,731,938-1973)。Garrard Zero 100は角度90秒/3600秒(1度=60分=3600秒)即ち0.025度の最大誤差を主張していました。私のシミュレーションではLPの中ほど半径10cm前後で角度エラー0(各回転バーが平行)とし実効長210mm程度のアームが内外±12度回転した場合、ほぼ同じ値が得られました。実際に0.025度の誤差を維持するためには針位置を±0.025mmオーダーの精度で揃えなくてはならず、実効のないものでした(大雑把に言うと、誤差1mmで内周側で最大約1度狂うのは他のアームと同様です)。

GuyやWolffの図を書き換えた単純図面。オーバーハング0設定ではスピンドル・アーム支点・針先は底辺の一角をスピンドルに接した二等辺三角形になるのです。頂角(スピンドルからのアーム回転角)は常にtracking angleの倍になります。この図面の中にはtracking angleと同じ角度がいくつも見つかります。赤い太線を引く時に気が付いたのですが、ターレスの円はピタゴラスの原理などと同様に正確な直角を出す必要から発見された原理・手法のようです。ピタゴラスの定理やターレスの円など古代ギリシャの哲人名が出てきますが彼等は名付け親であって、その原理そのものはもっと前から古代エジプトには知られていたとされていますーピラミッドの建設や星辰の観測には幾何学的数理が不可欠だったんですね。

Thorens社も興味深い発明をしていました:英国特許GB904218(1957年申請1962年公開)=USP2946596では2組の四辺形・リンクを使って、上下方向のワープに対して針先が垂直になると共に溝半径が変わっても針の向きが溝の進行方向になるリニアトラック機構。他の横リンク式リニアトラックと違い縦に伸縮するアームで、一見良さげに見えます。Fig.4とFig.5はFig.1-3とは別のデザインですが、どれも商品化はされなかったようです。開発の背景としては盤のワープよりもオートチェンジャー・プレーヤで盤を重ねた時の高さ変化に対応する考えがあったと推察されます。


テクニクスSL-5の本体を最近入手しました。箱もモータもサスペンション(ゴム足にコイルばねが組み合わせてある)も良く出来ていますが基本的には同じ構造ですー磁石もコイルも強力でトルクもあるようですがプラッターはシートを入れないと700g。リニアトラックの本流の音は他とどのように違うのか? 同系のVMタイプのカートリッジで比較する限り、何も手を入れていない状態では音が前に張り出さずスピーカーに張り付いてのびのびとしていない所は余り変わらないように思いました。むしろT4Pマウントでない安物のリニアトラックの方が針の入手も簡単で改造しやすく私は好きです。新古品のテクニクスSL-J2も手に入れましたが、純正の楕円針EPS-30ES付きカートリッジのためか一番ハイファイな音がしました。アーム機構が上にあるのはレコードを入れるときせせこましい反面、針のお掃除には便利です。又アーム機構が下にあるタイプは蓋を開けて演奏できますが針先のゴミを取るには不便です。つまりどちらにも利点と欠点がありますーこんなことを言うユーザーって天邪鬼ですね。SL-J2の自動機構は介添えアームを移動しながらのカウントダウン方式で行き先指定と1面全曲リピートのみで、25cm盤ではAuto演奏できませんでした。バンドを認識する感度調整機構を調整しても東芝の赤盤が認識できなかったり、バンドの数の読み取り数が実際と合わなかったりしてあまり使い良いものではありません(赤盤LPはmanual設定で再生可能)。一旦全面を通してスキャンしバンド数を記憶するタイプには回転数以外は完全頭だし自動化プログラム可能なものもありました(アイワのLX-12など)。いずれの自動機構にも経年変化と誤作動が付き物のようです。まぁ人間の手の誤作動による針飛ばしなどに比べるとよっぽど信頼できるものではありますが。。。不具合の主原因は@アームのドライブベルトの劣化AWorm/Pinion
Gear周辺の乾いて固着したワセリンBレール上の異物。ゴムベルトは長く使わないでいるとpulleyの形にゴムが変形硬化してしまうのはカセットデッキの場合と同様。機械は使い続けるとその寿命は比較的長い。
PE-5Eの筐体に耳を付けるとモータのクリックノイズが聞こえます。電話のピックアップ等で波形観察することも考えましたが適当なものが見つからない(最近、秋葉のジャンク屋に行かなくなった)。 適当な聴診器を探していたらLisle CorporationのMechanic's Stethoscope#52500を見つけたので使ってみました。何処で共振が大きくなるかがピンポイントで探せます。今まで矢鱈めったらダンプをしていましたが、これで問題箇所を探しダンプする方が気持ちの上でも良いようです。 聴診器でいろいろ遊んでいたらアンプもトロイダルトランスなどを使ったものは結構振動しています。プレーヤでは音楽をかけると箱やボデイから音楽のリズムが聞こえます。シートを変えてもその音量は余り変わりません(針音自体は少し変わるが)。Mechanic's Stethoscopeは以下のような構造をしていますーまるでサウンドボックスのダイアフラムみたいですね。燐青銅のダイアフラム円盤の厚さは約0.08mmでした。電源トランス周りは結構振動が大きいですが停止したターンテーブル上ではトランスの振動(50、100、150,200Hzなど電源周波数の整数倍)は減衰していますが一部の機器でははっきり聞き取れる場合もあります。

私はアームとテーブルを別別に共通のコーリアンボードに載せていますが、一番よく聞こえるのはアームベースで次がボードで裸のDP-2000本体ではよく聞こえませんでした。リニアトラックP-5Eも箱の振動は少ないですがやはりアームから振動が伝わっているようです。ところでリニアトラック機が針音が少ないのはサイドフォースが発生しないので針への瞬間的負荷が少ないからでしょうか? 意外にも(当たり前か)DDモータのスピンドル音(摺動音)は筐体からの音より少なく余り聞こえません。 以上のことから針>アーム>筐体というループが一番強く針>盤>シート>プラッター+DDモータスピンドル>筐体へのループはそれほど強くないと分かりました。余談ですが例の「回転シェル」の本領は水平トラッキング角度が自動調整される(それは構造的に非合理)のではなく、カートリッジ本体の不要振動が回転部のピン軸受けにより遮断され、アームに振動が伝わりにくいことにあると思います。小山式の磁気浮上アームでは蚕の繭を丸ごとシェルにしたことがありましたーそれも不要振動遮断の考えによるものでした。
これらオフセット角0のリニアトラックとは別にアームのスイングに合わせてオフセット角を可変するタイプのアームもあります。いろいろ考案されていますが実際に製品化されたものは少ないようです。アームに第二の支点を設け実効オフセット角を変えます。しかし設定許容誤差は通常のアームよりも厳しくなるので、実際の歪みは通常のアームと変わらずむしろ多くなることがあるようです。見かけのオフセット角がないリニアトラックアームでもユーザー側でカートリッジ本体を交換できるものは少ないのはそのためです。プラグインタイプのT4Pカートリッジ(コネクターから針まで2cm、針先から中心線までの高さ9mm前後)はこの点も考慮されて出来たようです。松下のUS Patent 4,276,635(1981)がT4Pの原型になっているようです。ピンを差し込んだ後四角の突起部と受ける部分をネジ止めすることにより固定される仕組みです。自重は約6g、針圧も1.25gにほぼ標準化されており、各社のT4Pのカートリッジで互換性がありました。T4Pのピン周りの規定が不明ですが、実測では:通常のカートリッジのピン直径1.25mmよりも細いφ0.5mmが使われ、ピンの間隔はそれぞれのピンの中心から横2.5mm縦4.3mmでかなり特殊なものです。


| Once YAMAHA PX series linear tracking turntable systems having detachable headshells defined the allowance of stylus point +/-0.5mm for error angle +/-0.15degree. However to attain error angle within +/-0.15degree for full groove radii 60-145mm, more critical alignment is required: for instance +/-0.16mm for groove radius 6cm. Such accurate alignment of cartridge on headshell is unattainable at users end so that most linear tracking arms have fixed/bonded cartridges on arm heads or adopted standardized T4P type cartridges as shown above. | |||||
| Effective Length of arm (nominal Length from pivot to stylus) | 190 | 190 | 190 | 190 | mm |
| Groove radius | 145 | 60 | 145 | 60 | mm |
| Longitudinal deviation from nominal Length | 0.5 | 0.5 | -0.5 | -0.5 | mm |
| Tracking error angle | 0.2 | 0.48 | -0.2 | -0.48 | degree |
パイオニアのT4P(VMタイプなのでOEMは多分AT)カートリッジPC250(針はPN250T/259T/295T共通)の図面。やはり自重は6g、推奨針圧は1〜1.5g。

縦置きのリニアトラックプレーヤも80年頃流行しました。Diatone LT-5V(1979年) Kenwood P-9(1981) Technics SL-V5(1982) 中でも極付きは両面自動演奏できるSharpのシステムコンポVZ-V3に付属のBSLT=Both Sides Play Vertical Linear Tracking Player(1981)。初期のCDプレヤーにも縦回転のフロントローディングが多かったのはその余波かもしれません。機械的安定度よりも所要面積を少なくしたりミニコンポに繋がるデザイン・発想ではないでしょうか?<小さいことは良いことだ>も<大きいことは良いことだ>と同じく流行なのですね。
リニアトラッキングはアームやピックアップヘッドの移動によるものが一般的ですが、アームを固定しターンテーブル側をシフトするアイデアも内外にあります:S55-70970(三菱)/S56-54673(日本マランツ)やUS4429381など。CDプレーヤーの軽いターンテーブルでは実現性が高いかもしれませんが、ハイ・イナーシャが要求される重いターンテーブルをシフトする構造は非合理なようです。Gray社が発売したAUDOGRAPHは特殊で、CDのように内外周で線速度が一定で回転速度が変化する録音再生機で録音再生ヘッドの脇に設置された上下の回転ローラーがプラスチック盤を挟み回転させると同時に盤をシフトする斬新な構造でした(USP2391784)。
2025年追記:Technics SL-5はターンテーブルが回転しなくなったので他のリニアトラックと共に廃棄。SL-J2はアームのドライブベルトの劣化とグリースの固着で早送りができなくなったのを調整してたまに使っています。大きな負荷がかかる部分以外ではグリースは無い方が抵抗が少なくなります。1980年代末以降リニアトラック機が廃れたのはやはり構造的に安定度や信頼性がないからなのでしょう。とは言っても40年前の製品ですから稼動している方が不思議です。
Simple is best. Better avoid programmable model and select simple models with cue function. The model with automatic size select should be avoided since the switches for that function are often the cause of trouble (dead photo diodes etc).
Plug-in mount type (T4P) cartridge and its replacement stylus might be expensive. Hence select the model with cartridge bonded to arm as far as its replacement stylus is available from current sources.
Plastic case is not heavy enough in comparison with the platter etc. Hence better to reinforce with plaster etc inside the case if you are skilful and a kind of DIY man. This may affect reproducing sound by decreasing a chance of howling under certain circumstances.
Stylus/needle mechanical talk is not via speaker, but directly audible from player. The needle talk of linear trackers is generally lower than that of usual arc type arms. I assume the imbalance between skating force and anti-skating force is apparent in arc type arms and this imbalance force due to anti-skating mechanism may increase the bumping force of stylus against groove spasmodically. I think the practical merit of linear tracking arm is located in this phenomenon (lower needle talk or the exemption from fluctuating skating force) and not in the smallest error for lateral tracking angle.
The pickup mounted on linear tracking carrier might be estimated or imagined as ideal. But in practical embodiments, the arms of this kind cause more objectionable problems such as floppy pivot chatter, unsteady inching or shifting of arm (although some photoelectric controls claim error within +/- 0.15degree). Pneumatic control mechanism of shifting is not maintenance-free and unsteady microscopically. Pickup lead wires are moving together with arm rather long way. Hence usual arc swinging arm can perform better generally. Note that max 2 degree error on conventional arms is nothing if compared with other distortions (tracing distortions).
Sometimes we vinyl wonks are enchanted by overplaying some records even though the sound might be far from reality. Should we make our vinyl-drunken brains sober and tame down to accept CDs? Disenchantment or Disappointment?

| For all arms but true linear tracking arms, the tracing points make an arc line. | |||
| Then there is very small pitch variation according to each playing radius of record. | |||
| TRIAL SIMULATION | |||
| Overhang | 0 | 2 | cm |
| Effective Length of Arm | 21 | 23 | cm |
| Absolute pitch (rpm) of turntable for LP | 33.33333333 | rpm | |
| Angular tracing point | Angular tracing point | PLAY TIME (minute) | |
| Groove Radius | without overhang | with overhang 2cm | constant pitch: 100lines/cm |
| (cm) | (degree) | (degree) | |
| 14.5 | -20.196 | -11.580 | 0 |
| 14 | -19.471 | -10.584 | 1.5 |
| 13.5 | -18.749 | -9.568 | 3 |
| 13 | -18.031 | -8.531 | 4.5 |
| 12.5 | -17.315 | -7.470 | 6 |
| 12 | -16.602 | -6.379 | 7.5 |
| 11.5 | -15.891 | -5.257 | 9 |
| 11 | -15.183 | -4.096 | 10.5 |
| 10.5 | -14.478 | -2.892 | 12 |
| 10 | -13.774 | -1.637 | 13.5 |
| 9.5 | -13.073 | -0.323 | 15 |
| 9 | -12.374 | 1.061 | 16.5 |
| 8.5 | -11.676 | 2.529 | 18 |
| 8 | -10.891 | 4.096 | 19.5 |
| 7.5 | -10.287 | 5.785 | 21 |
| 7 | -9.594 | 7.623 | 22.5 |
| 6.5 | -8.903 | 9.647 | 24 |
| 6 | -8.213 | 11.908 | 25.5 |
| Average Pitch Variation (degree/minute) | 0.470 | 0.921 | LP turns at 200 degrees per second or 100/3 rpm |
| Average Pitch Variation deviated from constant RPM | 0.004% | 0.008% | |
| Nobody can perceive such small variations occuring gradually during long playing time. | |||