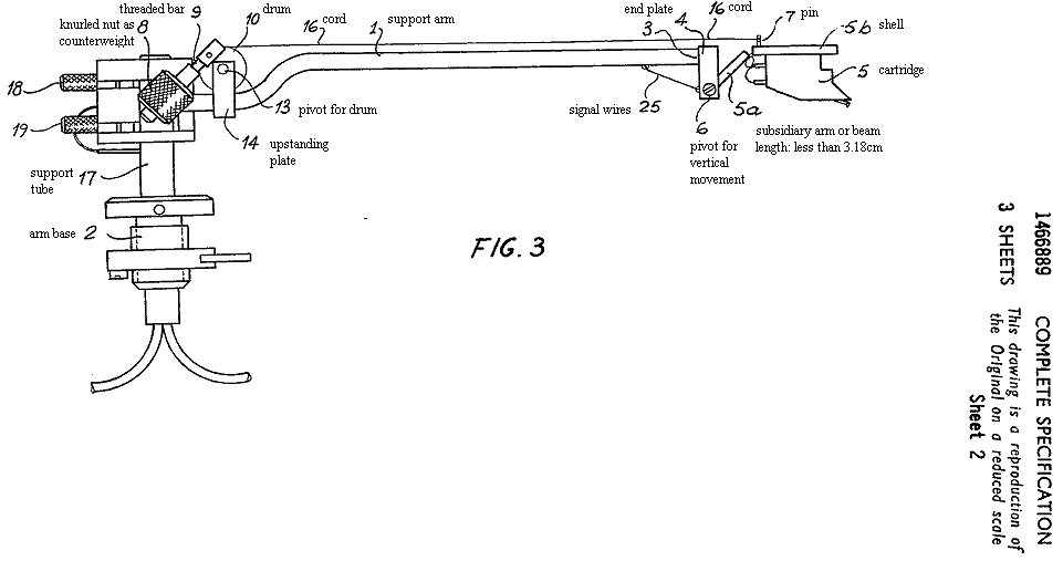
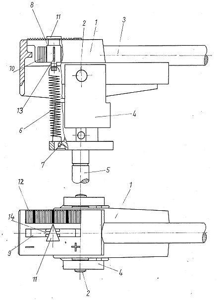
Transcriptors社のVestigialアームの英国特許図(GB 1466889)を見つけました。vestigialという言葉は鯨の足のような「退化痕跡」の意味でラテン語のvestigiumに由来します。質量分割型のアームに属しますが、その縦方向のアーム長が最小化されているためその言葉を選んだと思いますーソリのあるレコードでも変調を受けずにトレースできる。70年代からのハイコンプライアンス・軽針圧のカートリッジの流れに沿って開発されましたーTRANSCRIPTORS
(IRELAND) LIMITEDの名義で英国では1973年特許申請(発明者は創業者のDavid
GAMMON氏)。アームのlow
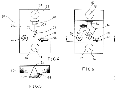
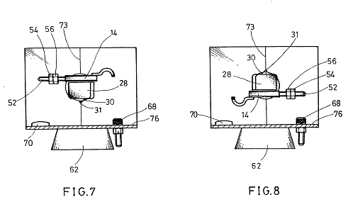
mass化が主張されはじめた時代でもありました。このアームで特徴的なのは縦方向ベアリング(vertical
pivotal movement)が針先に近い平面に置かれると同時に、counterweightは水平回転軸の近くに置かれていることです。”サブアームの長さは1.25inch(3.18cm)以内が望ましい”とあり製品のマニュアルではpivot
to stylus 1 3/8inch(35mm)になっていました。特許申請の能書きでは:従来の1本架橋のアームに比べると
(a) Tracking pressures are substantially reduced; with the balanced beam tonearm tracking pressure as low as 0.10 gramme is possible.
(b) The wear on the stylus is negligible and the damage to the cartridge or the stylus does not occur if they happen to be accidentally dropped.
(c) Using the balanced beam tonearm of the present invention greatly reduces wear on a disc. Under test no wear was detected on a heavily modulated track after 1000 playings.
(d) The fundamental resonance frequency of the tonearm is greater than 150 cycles/sec giving freedom from all forms of spurious bass frequency excitation. 150Hzは15Hzの誤植ではなく逆相(=縦方向)の音楽成分は低域カットオフされていることを前提にしているようです
(e) The set tracking pressure remains virtually constant, with no visible sign of stylus movement resulting in greater
clarity of reproduction.
(f) Spuriously generated subsonic frequencies have been virtually eliminated from the amplification system with consequent reduction of
Doppler distortion.
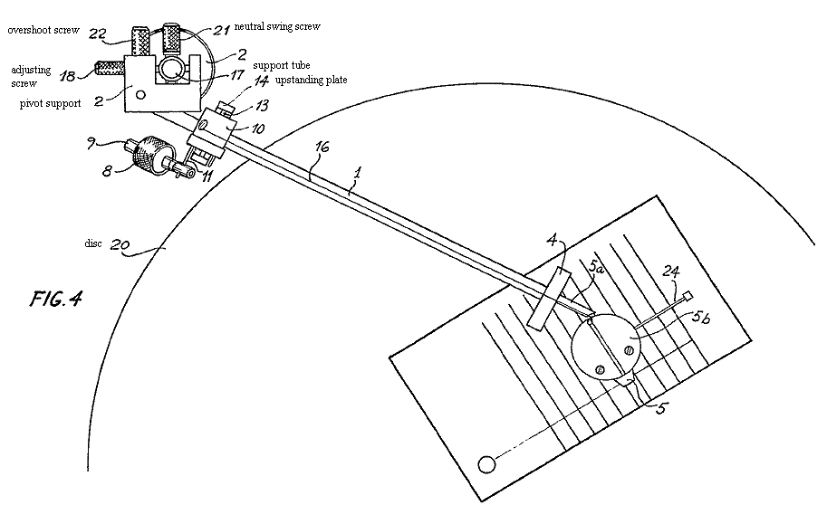
糸吊でcounterweightを水平回転軸の近くに置く構造により、イナーシャが少なくなるとも述べられています。この点についてはなかなか難しい問題をはらんでいると思います:カートリッジが下方向に動く時はカウンターウエイトの重量がイナーシャの一部になるのに対し、カウンターウエイト側の重力加速度よりも早くカートリッジが上方向に動いた時にはカウンターウエイトの重量はイナーシャに追加されない。横方向のイナーシャはカウンターウエイトが軽量なので多少少なくなるが、横回転軸受けに対してはかなりバランスが崩れ負荷が大きくなっているはずです(その分ガタが少なくなるかもしれない)。図の18と19のネジでsupport armを水平に調整し、21と22のネジで横回転の範囲を制限することになっています。


このアームは日本にも「平衡ビーム形ピックアップアーム」の表題で特許申請されており日本語でも読むことが出来ますー日本特許公開昭50-039904(申請のみで特許権取得に至らず)。英国特許は1977年成立したが1979年には”PATENT CEASED THROUGH NON-PAYMENT OF RENEWAL FEE”だそうです。Transcriptorsを創設したDavid Gammon氏は1980年には事業を止め一部製品の製造権・販売権はいち早くJ A Michell Engineering Ltdに委譲されていたので、ワンポイント・オイルダンプのFluid ArmやHydraulic Reference TurntableなどはTranscriptorsからもMichellからも供給されました。後にMichellは独自のGyrodecで有名になりました。
余談:質量分離型のルーツはサウンドボックス時代に遡り、その頃は100gを超えるサウンドボックスの重量の半分がほぼ針圧に当り、サウンドボックスを支える梁にはカウンターウエイトを設けないのが一般的なアーム形式でした。サウンドボックスは機械的拡声器なので或る程度重さが必要でしたが、後の電蓄になってヘッドの軽量化及び軽針圧化(それでも40年代は1オンス=約30g程度)が進み、カウンタウエイトを設けるアームが普及し始めました。LPの誕生や70年代のハイコンプライアンスのカートリッジの出現によって更なる軽針圧化とヘッドマス及びアームの実効質量に対する配慮が必要になりました。
別の問題点:縦運動アーム長が短い方がイナーシャが小さくソリに追随できるのは事実ですが、「縦方向Warpに追随すると短いアームでは縦回転運動arcingが大きくなり、溝の進行速度とずれたところをトレースすることになり周波数変調(FM)を受けやすい」、という指摘をVinyl Asylum(VA)で見かけました。偏心によるlateral WOWは33.3回転では0.55Hzですが、vertical warpで生じる変調周波数は2〜4Hz近辺が一番強いという報告があります(Larry Happ & Frank Karlov, AES Preprint Number:926 1973 & JAES October 1976 under the title "Record Warps and System Playback Performance")。しかしvertical warpに対してアーム長による変調強度の違いというVAの論者の視点は新しい。簡単な解析をしてみるとワープのワンサイクル(2pi radian)の内で進むところと遅れるところが出来、平らなところ(node)から山谷で確かにズレが生じる。条件:通常縦回転支点は針より1cm高い/変調中心周波数は3Hz/縦変形±1mm/線速度が小さくなる内周半径6cm or 線速度21cm/sとする。つまり一秒21cmの進行で3回アームが±1mm上下すると仮定する(ワンサイクル7cm)。
| 上から見た | 上から見た長さの変化 | 山部での | 谷部での | p/2単位の | 山トレース | 谷トレース | ||
| アーム長(cm) | 実長 | 山(+1mm) | 谷(−1mm) | 差(+cm) | 差(-cm) | 溝の進行cm | 位相差 | 位相差 |
| 30 | 30.0167 | 30.0032 | 29.9965 | 0.0032 | -0.0035 | 1.75 | 0.18% | -0.20% |
| 25 | 25.0200 | 25.0038 | 24.9958 | 0.0038 | -0.0042 | 1.75 | 0.22% | -0.24% |
| 12.5 | 12.5399 | 12.5076 | 12.4916 | 0.0076 | -0.0084 | 1.75 | 0.43% | -0.48% |
| 6 | 6.0828 | 6.0158 | 5.9825 | 0.0158 | -0.0175 | 1.75 | 0.90% | -1.00% |
Vestigialの場合、縦回転支点が低く設計されているのは特記すべきことです。 70年代以降のアームで縦回転支点を低く設計してあるものが見られるようになったのはこの問題を考慮したのか?ところが<ヤジロベイ>としてのアームの重心を考えると従来のように縦回転支点を1cm〜1.5cmほど高く設定するのも一理ある。泥棒にも三分の理のとおり、どんな設計にもそれなりの得失がある。
| 条件1:縦回転支点は針より3mm高い/他の条件は同じ | ||||||||
| アーム長 | 実長 | 山 | 谷 | 差(+cm) | 差(-cm) | 溝の進行cm | 位相差 | 位相差 |
| 3.5 | 3.5128 | 3.5071 | 3.4900 | 0.0071 | -0.0100 | 1.75 | 0.41% | -0.57% |
| 条件2:縦回転支点は針より5mm高い/他の条件は同じ | ||||||||
| アーム長 | 実長 | 山 | 谷 | 差(+cm) | 差(-cm) | 溝の進行cm | 位相差 | 位相差 |
| 3.5 | 3.5355 | 3.5128 | 3.4843 | 0.0128 | -0.0157 | 1.75 | 0.73% | -0.90% |
逆V状の始末の悪いワープは3Hz以下で山は正弦波状ではなく突然に現れると実感します。しかも盤の外周部に逆V状の山があるものがあり、それが一番問題なのです。ワープは定常的ではない、というのが私の実感です。何故なら内周側ではワープは全体に小さめになることが多いのです。するとこれらのシミュレーションも余り実際的ではない!そもそも±1mmもwarpしていれば本来の音溝も変形伸縮しているのでこれらのシミュレーションのような単純な結果にはならないのではないか?
下図Happ & KarlovのAES報告(Ladegaardが1977年引用)は通常のレコードのワープであり、その最大変形量は±0.5mm以下に過ぎないのです。学問的に研究対象となる<行儀のいい>規則的なワープとトレース上問題となる針飛び・音飛びを生ずる・盤が逆V状に折れた<悪質な>ワープがあり、使用者にとって問題なのは後者ですー使用者は多少の歪みより音とびしないトレース能力を優先します。因みにJIS S8502-1973ではソリは1.5mm以内、1964年のNABでは一周で1/16inch(≒1.5mm)、8分割(45度)で1/32inch(≒0.8mm)以内とそれぞれ規定されていました。8分割(33.3回転では0.225s)での0.8mm以内の規定の方がむしろ厳しいのではないかと感じます(問題の針飛びは特定の狭い範囲で起こることが多い)。いずれにしろ、ワープの酷いレコードは不良品ですが、SPレコード(当然モノラル)の演奏を見るとアームが縦に恐ろしく揺れている微笑ましい映像をよく見ますー本来アナログは相当にfuzzyで大らかなものでした。縦信号を含むステレオレコードは特に変調を受けやすい、と感じます。それとアナログ時代が終わった近年のアナログ世界は小うるさい議論に満ちて音楽自体を楽しまなくなったと感じます(私のことは棚に上げて)。

ソ連時代の発明です。アームの軸受け中心位置にダンプ液を充填したアームです。Likhnitskiy氏が技術面での発明者のようでSumachev氏はデザイン面での発明者なのか?この発明を発展させた地球儀のようなアームが1979年頃Korvet Turntable Systemに搭載されたと思われますが想像の域を出ません。

ソ連側の特許SU1034067(申請は1977年)ではLIKHNITSKIJ ANATOLIJ M; SUMACHEV YURIJ N; PYRKOVA LYUDMILA Pの3名が発明者となっており少し違った図面がありました。米国特許の本文で言及している日本特許公告(=ステージB)51-37521は池田勇氏の特許公開昭51-051904(特許0862591)「トーンアームの制動機構」のことですが、Fidelity Researchでそのようなアームが製品化された記憶はありません。

Korvetの写真: Korvet Turntable #003(1979年頃)や#038(1988年頃)などに搭載されていた。003の方のマニュアルによるとドイツの宝石の町Idar-ObersteinにあるWeinz-WEKA社の高品質天然ダイヤ・チップを採用して1000時間耐久とのこと。因みにWeinz社はダイヤモンドの方向性に着目し頂角50度の円錐から作った楕円針で1969年ドイツ特許6949182を申請し、単結晶の宝石を加工する器具で米国特許3650074-1972も得ている。又1980年2月米国AES第65回Convention(Paper Number: 1602)にて”Latest Developments in Diamond Stylus Design and Performance”の表題で研究発表していますー1976年にもAES Paper 1116に”Low-Mass 4-Channel Discrete Diamond Tips with Shibata, Paroc, or Pramanik Cut”を寄稿している。Telefunken/Teldecが開発したビデオディスクTelevision Electronic Disc (TED)をトレースする針の開発にも参加しました(米国特許3781020-1973)。Pfeifer PMC700Pという日本で知られていないMCカートリッジにはWeinz氏発明のParoc針が採用されています。Weinz発明のParocやB&OのSubir K. Pramanik発明のPramanik(pramanic)針(Beogram6000に搭載されたMMC6000などに採用)はラインコンタクトのparabolic shaped diamondに属しCD4用に開発されたそうです。全くの余談ですが:マヤ・インカの遺物の水晶髑髏の一部には19世紀末Idar-Oberstein製の贋物説がありますージェット戦闘機に見える陶器もアクアリウムに親しんだ者にはプレコ(南米の魚)をかたどっただけに思えます。オランダのライデン博物館には日本製の人魚(恐らくエイの干物を加工したもの)があるそうです。エイ(かすべ)の干物はプラスチック(可塑)素材と考えられ国内でも河童に仕立てたりいろんな珍物が作られました(そのようなものを欲しがる田舎大尽を相手にするご商売は跡を絶たないものなんですね)。

潜水艦など海軍に音響機器を供給する公社に由来し1973年創立のOceanpribor社が”Korvet"の商標でレコードプレーヤなど民生用の音響機器も企画製造していた。
糸つり式のアーム支点サスペンションはFirebaugh氏発明のWell-TemperedやSchroeder氏発明のアームに見られますが、そのルーツの一つとなる発明があり、上のSumachev等の特許でも引用されています。その概要には"In modern phonograph record players, where needle pressure is low and needle compliance is high, friction in the tone arm bearings is not tolerated. This invention provides for a tone arm system in which static friction is eliminated by using a stretched chord suspension and viscous fluid to dampen oscillations".と述べられています。図の10と11は糸を繋ぐU字型クリップ。アームの頭にある4はアンチスケート調整ネジで反時計回りに回転することで糸3の反発力を利用してバイアスフォースを得る。中間の糸16/17は5の軸を絡めてから10/11に繋ぐ。ネジ14/15は12/13のスリットを圧縮して糸を固定する。カップの中には粘性液を入れてダンプする。第5図のようにカートリッジを取り付ける部分には粘性液を詰めたのゴム枕19を挟んでアームにカートリッジを取り付ける、もしくは第6図のようにアーム先端の凹部に粘性液を詰め、ゴム膜21を張る。果たしてこれらで針のコンプライアンスとアームの実効質量による低域共振は防げるのか?又、忠実な低音再生能力に支障はないのか?などいろんな疑問がわきます(粘性液など弾性結合の性質にもよりますが普通は可聴域に影響しないので低域再生能力については問題ないとされています)。Firebaugh氏は自身の発明(USP4570253)のなかで興味深い報告をしています: The arm 1 itself may preferably be made of thin-wall metal tubing about 0.8 cm in diameter and 0.25 mm thick. Listening tests have detected frequency-dependent non-linear distortion which was traced to arm resonances. This distortion was removed by filling the tubular arm with sand as a suitable damping material. それぞれの物体が持つ固有振動数(eigenfrequency)を抑えることは簡単ではないようです。あちらを抑えればこちらが出っ張る「もぐらたたき」にすぎないのではないか、とも思えます。 注:eigenfrequencyはドイツ語と英語の混合語(jargon)で純正ドイツ語ならEigenfrequenzで英語ならown frequencyとなるところなのですが理学用語として英語圏で用いられています。


アームの上下運動の支点位置は最近のアームではVestigial同様にレコードの盤やカートリッジの針先と水平レベルに近く置かれることがありますが全体的にはまだ少ないようです。日本のアームでは1978年のAT1010や翌年のAT1100などが代表例で、海外ではSME
V/IVなどがあり、60年代初頭LEAKの縦方向にカーブしたStereo
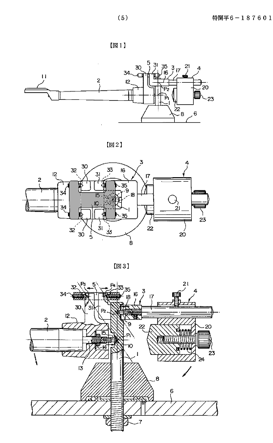
Pickupアームがこのタイプの嚆矢と見られています。以下はFR時代の池田氏発明の「アーム」特許図です。第3図は実効針圧m=f2*cosθ-f1*sinθ、θは支点と針先とを結ぶ直線とレコード面との角度でf1[摩擦力]=α*f2[針圧]
(α>0)とした時の関係図[m=f2(cosθ-α*sinθ)]とのことですが、私の理解では摩擦係数に当るαが1と設定されているのでp/4
radian=45度あたりでmが0となる無茶な模式図だと思います[stylus
dragの係数を0.4としθをdegree度で試算した場合の参考図は下に示します]。4図のように支点位置をレコード面(もしくは5図のように少し下)に設置することにより摩擦の為に実効針圧が減少する(*下注参照)のを防ぐ工夫でしたが、何故かFR/IKEDAの実際のアームには応用されなかったようです。4図〜7図では重心が支点より高いのでバランスを取りにくいので、8図や9図のようにカウンターウエイト軸を下げることにより水平バランスを取りやすくするというものでした。VTAのページでも考えましたが、従来型(質量分離型でない一本梁場合)の支点高さ1.5cm程度の違い(θが4度以内)と摩擦力による針圧減少量は2〜3%で実害はなく、それよりもカートリッジのカンチレバーのVTA(並びにコンプライアンス)とアームの実効質量の方が重大と思っています。釣りに例えた馬鹿な連想をすれば「水平でない方が根がかりしにくい」=針の滑りがスムーズになるとも考えられますーRS-A1の極端に傾いたアームと回転シェルの実効は針がロックすることを避けて不要な振動(クリック音)から逃れることにあるのではないでしょうか?針がロックするような汚い溝の方を問題視すべきですが、レコードと針の実状はクリーンとは言えない状態に多くあります。「I
suppose perfect match of groove and stylus profile is not always good in sound
reproduction since there is paradox between lost motion (stylus stick to groove
slope) and lost signal due to free
motion」というメールを私は海外の友人に送ったことがあります。
*注:支点位置とstylus
dragの為に実効針圧が一方的に減少すると言うのは疑問です。支点位置が高い時:アームの実効質量がゼロで支点の摩擦もなければアームが縦回転し針圧は【減少】するかもしれませんが、アーム自体が動かなければ針先と溝に対する圧力(垂直方向とは限らない)はstylus
drag[溝摩擦]によって傾斜角θが大きいほど【増大】します。カートリッジのコンプライアンス/アームの実効質量/支点の摩擦のどれもが現実にはゼロでも無限大でもありませんので、このような一方的なシミュレーションは余り意味のないことと思います。「針先とアームのどちらが動くか」や「折々の実効針圧」は複数のパラメーター(溝の周波数、アームの実効質量、カートリッジのコンプライアンス及びアーム支点の摩擦等)によって決定される事象です。VTFは垂直圧力・静的針圧のことを指し、針と溝間の動的圧力(垂直方向とは限らない)とは違います。



ダイナミックバランスアームでも完全に質量の中心がアーム回転の中心(上下左右)と一致することはないのですが、質量の中心をアームの回転軸と一致させる「完全なダイナミックバランスアーム」を目指したのは1989年台湾のHoさんの英国特許申請に見られます。カートリッジをつけた後ヘッドシェル部の左右バランスは専用ジグを使って完璧を目指しています(図の70はspirit
level)。針圧は磁力を用いています(図1の32/34/36)。このdynamic
tracking-force-generating systemは32と34は反発し、32と36は引き合うように磁極が配置され、針圧は反発力が増えれば対になる引力が減るので一定になるとのこと。図2及び図3のU字型の部材100によりアーム高さを針先と軸受け中心を同じ水平レヴェルに調整できます。
注:ストレートパイプでオフセットのあるシェルにカートリッジをつけると針先がパイプの中心延長線上にないもの(SME/DP-7F等)が多いのですがこれはAT-1100/1120同様に針先とアーム支点とカウンターシャフトが直線になります。ところが以下のようなAT-1100/1120タイプのシェルにカートリッジをつけるとカートリッジの重心は針先にはないわけですからラテラルバランスがズレてしまいますーそれを改良したのがこの発明です。何故かAT-1100/1120にはラテラルバランスがないようです―不思議ですね。「ストレートパイプでオフセットのあるシェルにカートリッジをつけると針先がパイプの中心延長線上にない」タイプを私は「スリムなS字型」と勝手に命名しています(見かけだけストレート)。最近のSMEがストレートパイプの中心延長線上に針を置かない構造をとる理由も分かり納得しました(無駄にヘッドマスを増やさずバランスをとっているー最近のアームでは指かけまで省略している)。





床からの上下振動に対しては、静的な質量バランスの中心をアーム回転の中心と一致させることは余り意味がないと思います。山水の<最適支持点>の理論によるDynaoptimum Balanced Armでは「アームの静的な重心位置は支点に近く、錘部をのぞいた剛体の動的な重心は支点から大分離れた所にある方がよい」とされています。いずれにしても、アームは車輪やプロペラのように高速回転するものではないので、完全なバランスを取らなくとも軸受けに工夫さえすればほぼ問題無いようです。
サテンの塚本謙吉さんの晩年の特許申請に「アーム」日本特開昭57-86104(公開までで特許取得に至らず)があります。1981年9月発売のシリーズAR-1/AR-1M/AR-1Sで実現した「2ボール3点支持」のアームです。カートリッジの針先を支持点の一つとみなした時、3点になるという意味でした。円筒形の筒に入った補助ボールベアリング C2により、One Point Supportに見られるラテラル方向の揺れを防いでいます。詳細は示されていませんが(補助ボールベアリング部分の重さだけ?)系の重心位置が中心支点より少し補助ボール寄りにずれているそうですーAR-1Sにはサイドボール荷重微調ラテラルバランサーが付属していたそうです。ボール軸受けの静止摩擦力(針先に換算すると約0.1g)を逆手にとりインサイドフォースに対処するとのことです。ベアリング構造はソ連の発明家Vinogradovの発明(USP4434483やGB2109979)に似ており、この構造自体はワンポイントアームの補助輪としてもっと古くからあったと思います。

Europe Patent Officeで簡潔な要約を見ることが出来ます。「機械的に遊びがないこと」を"no play is generated"と表現しています。

ARシリーズ・アームに採用されたシェル上の追加ウエイトをイナーシャコントロールと呼んでいました。ケースの中にグリスを詰め1.2gの錘を入れたdamping weight(総重量1.6g)でした。関連特許も申請していましたー日本特開昭57-064303「ピックアップ装置」(公開までで特許取得に至らず)。第1図の13は粘着テープで第2図のようにシェルの頭(針先の真上)に貼り付けるもので、レゾナンスチップに似たような使い方を推奨しています。第3図は塚本謙吉さんの日本特開昭57-064302「オーディオ再生装置のピックアップ系の寄生運動を防止するための装置」と同じです。第4図はアームパイプ40のシェルコネクター43に近いところにdamping機構を設けるもので、凹部41にモータイト(mortite)のエネルギー吸収部材を具える。Mortiteは酸化チタンを主原料とするパテ(コーキング剤)で米国Mortite, Inc.で開発された物を指すようです。このようなDamping方法はステレオ初期から試みられてきましたが、塚本氏のアイディアのユニークな点はアームに対してではなく、直接カートリッジに働きかけてdampを目指したところです(彼の以前の特開昭53-68202ではカウンターウエイト内部に入れ子型ダンプ機構を設けることが提示されていました)。実際の製品と特許申請内容とは前述のごとく微妙に異なっています。

因みに塚本謙吉さんのカートリッジ関係の特許申請では「ムービングコイル型カートリッジ」日本特開昭57-62699&38099(公開までで特許取得に至らず)が最後の物だったようですが、製品化はされなかったようです。Europe Patent Officeの要約は以下。短絡コイルの他に高出力2次巻線を持つ特殊な構造でした。Satin最後のモデルM21は別の公開特許S57-23400によるものと思われます。日米特許も含め塚本謙吉さんは多種多様なアイディアを産んでいますー私には個人経営時代のGrado氏と同じような独立独歩の発明家の印象を受けます。他の研究に余り配慮しなかったようで、MCカートリッジ用ラインコンタクト針の特許公開(S52-63702)では針先のSRAを「+3〜+10度の角度であるのが望ましいことが実験によって分かっている」と述べ、IEC60098(1987)の「丸針以外のSRAはメーカーの推奨針圧で<+4度から−8度の間>(許容値)/<0度から−5度の間>(最適値)」と隔たりが出るなど独断の傾向も強かった。実際の製品の針先(コニック針=円錐曲線の一種である放物線や双曲線parabolic/hyperbolic shaped diamond=ラインコンタクト針)は針メーカーの意見を受け入れているので支障がないようです。これはどちらが正しいかではなく、特定の実験・実体験と規格要求の違いだと思っています(どちらにも間違った記述や時代に影響されただけのものや平均的な実状とかけ離れたものがかなりある)−前記Weinz社の特殊形状針のドイツ特許6949182の第9図で針先をカンチレバーに対して直角に取り付けること(図ではSRA約-15度)を提案した理由は”針先の捩れ振動を避けるため”と説明されていました。1963年以前にはステレオ溝についてのVTA/VMAがまだ規定されていなかったと同様に、特殊形状針のSRAが問題視され始めたのは80年以降だったようですー1987年のIECで特殊形状針のSRAが規定されていますがその成立背景を記述する資料が見つかりません(アナログは本当にfuzzyだと思いますー規格が製品を追いかける後付け規格が多くみられます)。

因みに塚本和彦さん(お住まいが一緒なので謙吉さんのご子息?)も面白い発明をしています。特許公開S58-91501「カートリッジ支持装置」:「通常、カートリッジの再生針はレコードカッティングの際の角度に合わせて、垂直トラッキング角度を決定している。しかしカッティング角度は変更がある場合もあり、またカートリッジの設計によって垂直トラッキング角度が異なる。」と記され、レバーによってカートリッジの垂直トラッキング角度を微調整するアタッチメントでした。設計と言うより実作によって同じモデルでも個々のカートリッジのVTAは個々異なっているのが実状です。メーカーの能書き・仕様書は中心値(設計目標値)を示しているにすぎません。

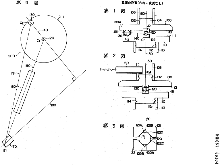
面白いアームの特許を見つけました。Parallelogramとは平行四辺形のことです。針金細工の関節構造によって、レコードの不要振動(穴の偏芯による0.55Hzやワープ=ソリによる3-6Hz)から逃れる工夫でした。図1は従来のレコードの特性、図2はアームのダンピング特性(Rは共振周波数)、図3Aは横方向の音成分、図3Bは縦方向の音成分、図4は従来の質量分離型アーム、図5は質量分離型アームの動作、図6以下が発明内容。平行四辺形を利用した質量分離型アームは”LOCI”のトレードマークで60台だけ製造されたそうでVinyl
EngineのGalleryで画像を見ることが出来ます:針金細工ではなく2本平行梁の先に平行四辺形の上下運動軸が付いており回転ではなく垂直上下運動によりソリに対応しようとする意図だけは読み取れますが、アームの実効質量としてはかなり重いものになってしまい実効性がないことがハッキリしています。もっと古くThorens社も似た発明をしていました:英国特許GB904218(1957年申請1962年公開)=USP2946596では2組の四辺形・リンクを使って、上下方向のワープに対して針先が垂直になると共に溝半径が変わっても針の向きが溝の進行方向になるリニアトラック機構。縦方向の音楽情報:Fig.3Bで縦方向の音楽成分が80Hzあたりから始まっていることについてRosenbergは次のように説明しています”It
should be noted that the typical human ear has no directional sensitivity below
80 Hz and that record warps are almost always physical distortion in the
vertical direction. Well cut records have the directional information below
80 Hz filtered out before it is pressed into the record. Even if such
information is there it contributes little to the music, and puts an additional
drain on the amplifier
system”.
縦方向のアーム共振周波数を(ワープ成分ピーク5Hz前後から3オクターブ離れた)40Hz近傍に設定することを提案しています。上の下線は私が追加したものですが、トランスクリプターのVestigialの能書き(The fundamental resonance frequency of the tonearm is greater than 150 cycles/sec giving freedom from all forms of spurious bass frequency
excitation)を傍証しています。下線部について私は納得しているわけではありません。というのもカートリッジの項でステレオ溝をシミュレーションした時、周波数や振幅にかかわらず縦と横の最大偏移量は同じになる結果が出たのですが、それが間違いなのか?それとも低域の縦方向だけ制限する方法がカッティング時に存在するのか?この種のLimiterについてGoldmark等の米国特許3013125[Stereophonic
Recording]に次の記述があります: "Normally, these two signals [sum
and difference] are of similar amplitude and it is difficult to design a pickup
which will follow them without generating distortion. We have discovered that the
difference signal can be limited in amplitude so that it will be as little as
one-half that of sum signal, or less, without impairing
substantially the stereophonic character of the recorded information."
Kabusaのサイト等を見ると、実際のレコード録音の慣習として、逆相縦振幅が大きくならないように150Hz以下の音は水平モノラルに合成されているそうです。テストレコードではなく一般のレコードで140Hz以下の音に逆相の縦振幅があるときは外乱でしかない、とのことです。

寺垣氏の最新型?アームの特許公開図面。上記のアームと似た平行四辺形を利用した(外観は平行四辺形ではないが実際の動きは同じ)支持方法です。図3でアーム部とカウンターウエイト部のそれぞれの重量が前後リンク部5に配置されたピン32/33(支持点P3/P4)にかかるので軸受けにガタや遊びが生じないとのことですが、軸受けピンの実数は全部で6個にもなり特にリンク部の軸受け調整はかなりクリティカルになると思います。「アームパイプ2の水平方向の回動は支軸1の軸心に合致している凹部10の原点(支持点P1)を回動中心として行われ、アームパイプ連結部材5により連結されているウエイト支持部材3も、同じく支軸1の軸心に合致している凹部9((支持点P2)を回動中心としてアームパイプ2の回動方向と同方向に回動することになる。」と説明されています。古い特許を調べてみると、このアームのルーツは同じく寺垣氏の発明になる特許公開昭63-164001=特許1958718にあるようで、各接続部の強度に配慮し且つ軸受けにガタが生じない構造を目指していました。古い方は特許になったのですが、以下の新しいほうは公開までに終わっているようです。どちらの実物も見たことがない私には:上下の運動量は少ないので問題がないが、外周→内周のアームの水平回転は25度程度必要なのでこの軸受けは如何かと思うのですが、ニードルポイント軸受け上で水平方向にピンが±15度程度傾いても軸受け壁面に接触しない設計にすればこの懸念は杞憂のようです。例えばニードルの頂角を90度とすれば穴のほうは120度以上の開角を持てばよいことになります。いずれにしてもオーバーハング調整時にアームをスピンドル近くまで持っていくことは出来ないと勝手に想像します。

この他にも寺垣氏は「粘性液に浮上させダンプするカートリッジ・アーム」特開S56-80801や「レコードの偏心修正装置」特開S57-100601やレコードをvacuumで吸着したりクリーニングする装置や「油圧浮上ターンテーブル軸受け」特開S58-102365や「スプリットを入れ弾性を持たせたセンタースピンドル」特開S57-103015などレコード再生装置関連だけでも数十の発明をしています。
古いオルトフォンのアームの特許:DK81206(1956年)ーカウンターバランスウエイトを用いないのでアームの後部がすっきりコンパクトなアームでした。ヘッドの重さの一部を渦巻バネ(ゼンマイ)で支え、残りのヘッドの重さを針圧とする単純な構造です。PICK-UP ARM TYPE A212として製品化もされていました。A212はスライダーノブ(図の13)で針圧を5g(LP用)〜15g(SP用)まで可変できました。専用のヘッド(pickup)モデルはType ADでSP用とLP用2種類のサファイヤ針が付いており、ヘッド先端を少し捻ることによりそれぞれの針がレコードに対して垂直になるものでした。SPからLPへの転換期にはいろんなタイプのchangeover・turnoverによるSP/LP共用カートリッジが生産されていましたが、180度回転させるものが多い中でOrtofon Type ADは珍しいタイプです(カンチレバーの先端がハの字になっていてそれぞれの面に針が付いています)。図の10はバネの固定軸でアーム本体の上下回転の軸受けは7に埋め込まれた8の部分(水平軸受け穴?)にあるようですー「バネによりアーム可動部の自重が相対的に軽くなることにより水平に置かれた軸受け8への過重が少なくなり摩擦も少なくなる」と述べられています。軸受けの配置について欧文を読むとき、垂直運動をするために置かれたものを水平軸受けhorizontal bearings、水平運動をするために置かれたものを垂直軸受けvertical bearings、とそれぞれ呼び慣わすので注意が必要です。

よく似た針圧調整機構を持つTelefunkenの普及型レコードプレーヤ(1967年のMusikus 108等)に付いていたアームは実用新案DE1979880(U)に基づいているようです。Ortofonのゼンマイバネをコイルバネに替えたものですが、上下回転軸2への加重軽減効果はないので他のダイナミックバランスのアームと同様にバネの張力分だけ軸受けへの荷重が大きくなっているのではないでしょうか?ところで、アームの根元を上から吊るす形のダイナミックバランスアームは何故か見当りません:コの字型に張り出した架橋を設けアームの根元を吊るせば上のOrtofonと同様に軸受への加重を減らすことが出来る?

もっと古いアームの構造は1957年のTelefunkenの特許文書DE1007074に示されています。A1は水平回転軸、A2は垂直回転軸。スプリング留具MとスピンドルSpの中間部はともにネジが切ってあり、ノブGを回転することでコイルバネの力点P2と支点A2の高低差αを変化させ針圧を微調整できる。70年代まで普及型にはカウンターバランスウエイトを省略したアームが主流で、軽針圧スタチックバランスアームは針圧6g以下のHI-FI用途に限られていたようですー当時の海外のカタログを見るとオートチェンジャーのプレーヤが大半を占めていて、遅れて出発した日本がそのオーディオ製品[廉価・高性能・電子化による自動化など]によって70年代半ばには欧米を追い越してしまったことを感じます。−方で70年代以降の欧米のオーディオ製品に本質的な「勢い」が感じられませんーもしかしたら70年代にレコード産業と機器は頂点に達し新たな飛躍が望まれない分野になっており、産業として魅力がなくなっていたのかもしれません。カメラ産業の盛衰を連想します。米国のオーディオ機器は1960年代後半に大きな転換期があり、多くの企業がオーディオ事業から撤退するか海外生産にシフトした(その例は日本マランツの前身スタンダード工業やBSRに吸収された後のADCブランドを継承した日本BSRなど)。米国オートチェンジャーの雄V-M (Voice of Music) Corp.も1960年頃世界最大生産を誇ったのですが、現在は忘れ去られています(1970年代にBSRがオートチェンジャーの最大手になった)。オートチェンジャーのメカニズムは各社にOEMとして供給される場合が多いようで私の手元にはBSRのメカを使ったSANYOの4 speed オートチェンジャーがあります。

トーレンスのアームでは円筒形の軸受け部の中心から少し離れたところにパイプを設置するデザインを不思議に思っていました。スイスのトーレンス社のドイツ特許公告DE1192418 (B)-1965を見つけました。発明自体はスイスで1961年3月13日とあるのでステレオ初期(右下画像のモデルBTD-12S)からトーレンスのアームデザインは基本的に変わっていないようです。バネが縦ではなく横に設置されているのは奇異にみえますが、レバー17と薄板14を組み合わせることで針圧調整を可能にしています。「針圧調整ツマミ18が図2のA位置にある場合、カウンターウエイトで0バランスをとっていればバネのテンションが無いので針圧も0。ツマミ18をB方向にずらすとバネ16に張力が生じ(バネの取り付け位置14=力点とアームの回転軸xに高低差cがあるので)針圧が付加される。針圧はバンド目盛20で読み取る」と解説されています。このような構造にしたのは比較的短いバネを直接使うと張力が強すぎるので、力点とアームの回転軸xの高低差を小さくすることで張力を調整しやすくしたと考えられます。時計用ゼンマイを使うのが一般的ですが、それは経年変化でヘタリが生じることも多いので、これは実際に賢明な手法だと思います(特殊な材料に逃げる/頼ることをしない)。


平面スピーカーの雄、米国Magnepan Incの創立者でデザイナーのJames Melton WINEY (通称Jim Winey)もUnitrac-1というアームを発表していましたー半球形の錘の付け根の位置にワンポイント軸受けがある構造。アームと特殊着脱式ヘッドシェルなどの主要部にカーボンファイバー強化プラスチック(CFRP)が使われ、カートリッジの重さ3g〜7gを対象にしていました。実際のモデルではカウンターウエイト重量が従来[100g前後]の2倍以上[半球の可動部が200g?でカウンターウエイト総重量は250g?]になっており、そのことによりシステム全体としての慣性モーメントを少なくできたとBrochureで主張していました。Europe Patent Officeの要約は以下。

カウンターウエイトを重くし支点に近づける効果がどれほどのものかExcelでシミュレーションしてみましたが、慣性モーメントに関して決定的な差異は認められませんでした。ヘッドの重さ(カートリッジ+シェル)の軽量化の方がハイコンプライアンスのカートリッジを使う時には効果的だと思います。シェル交換が容易なS字アームはヘッド部分が重くなりがちでハイコンプライアンスカートリッジを付けると共振周波数が低くなり過ぎ音質的に問題が生じやすいとされていますが、それとても問題になる場合とならない場合がありますー混変調などアナログ特有の歪を好む人までいます。なかなか理論どおりには行かないのがアナログなのでしょうか?
中塚氏が発明した「無誘振動トーンアーム」(日本では特許出願公開のみ)は同時期に特許申請していたカウンターウエイトのアイデアとともにアトラス-222SCというアームで製品化されていたようです。従来のアームFIG.1について次のように説明されています:"The longitudinal wave vibration indicated at 8 is the origin of the oscillation of the generator supported within cartridge 5. It is then conveyed to head shell 2 and to arm shaft 1 where vibration is set up. This is then transmitted to arm shaft holder 4 and weight 3. Parts of the foregoing elements return the vibration to cartridge 5 as a catoptric wave 8' and the generator vibration is repeated. This deteriorates the electrical output signals of cartridge 5 and results in inter-modulation distortion and noise. Thus, the reproduction tone quality is seriously undermined". 反射波”catoptric wave”という耳慣れない用語(本来は光の反射の意味)が使われています。Fig.3では振動経路が二股に分かれそして一点で交わり振動を相殺するアイデアが示されています。


カウンターウエイトのUS特許申請4162076の本文には英国Strathearn Audio LimitedのRidlerが発明した磁気制御カウンターウエイトのUS特許申請4023130(=日本特許公開S51-23702= GB1509923-1978)が引用されていましたが、かの地のものは出願公開のみで終わったようです。中塚氏の特許申請ではFig.2(Prior Art)のカウンターウエイトの回転慣性モーメントについて「平行軸の定理」(I=WL^2+IG: IGは重心周りの慣性モーメント)が紹介されており、円筒や球体のカウンターウエイトのベアリング保持によりIGは減少するするのでイナーシャが少なくなるという論旨のようですが、平行軸の定理の適用から逸脱しているように感じて理解できませんでした。通常はアーム回転部の総慣性モーメントを問題にしますが、中塚氏はカウンターウエイト単体を問題にしています。どんな保持方法であれカウンターウエイトもアームの回転軸を中心に回るのでカウンターウエイトの保持軸は関係ないのでは?


アームの項の末尾でも紹介した平行軸の定理は以下のようなものです。


モデルNo.アトラス-222SC(白と黒2タイプ)のカタログはヤフオクで偶然入手しました。並木精密宝石の会社案内と各種カタログが並木の黒い大型封筒に入った状態で、1980年頃晴海の産業展示会などで配られていたものと予想します(当時名刺を差し出すと会社案内が貰えたり商談ができた)。オーディオ関連ではORSONICというブランド名を採用していました:由来は不明だがortho+sonicだとするとOrtofonと同じ「正しい音」。1977年開発のサイドフォースチェッカーSG-1のカタログもありました。アームは自社商品撮影用に作ってみただけだったりして(実物は見たことがない)。OrsonicヘッドシェルAV-1が付いたアームの図面に従って計算するとオフセット角は20.831度、Null pointsは69.5/99.06mmとなり少し標準から外れています[下のテーブルに示すように図の234.5は正確には234.8としないと他の数値と整合しないー図面では整数値を多く選んだためでしょう]。日本のアームは一般にオーバーハングを重視しNull pointsの在処に重点を置かなかった理由は、頻繁にカートリッジを取り替えて楽しむ風潮の中で調整の簡便なことを重視したことによると思われます。一方Null pointsを基準にする設定でも本当にその通りに設定できているかは気休め程度であり、又水平トラッキング角度偏差による歪は海外のマニア間で口喧しく言われるほど(他の歪みに比べれば)大したものではない。水平トラッキング角度偏差による歪は理論上計算出来ますがその実測データはありません(その歪は他の歪に埋もれてしまうのが実状で、水平トラッキング角度偏差による歪単独の計測方法は確立されていません)。音楽を聴かず計算に勤しむのも又逸脱ですね。

| Stylus position from shell neck | Effective Length | lateral projected distance | Offset angle |
| 65 | 235.132 | 232.967 | 21.005 |
| 66 | 236.066 | 233.892 | 20.918 |
| 66.656 | 236.679 | 234.500 | 20.861 |
| 67 | 237.000 | 234.818 | 20.831 |
| 68 | 237.935 | 235.744 | 20.746 |
| 69 | 238.870 | 236.671 | 20.661 |
1920年頃の先進的なアームの特許を見つけました。Universal
Sound Reproducer and Armのタイトルで米国BRUNSWICK BALKE COLLENDER
COに委譲された英国特許。The
section 14 is provided with an annular trough 24 into which the lower tubular
vertically disposed end of the elbow 15 extends. The trough 24 is partly filled
with liquid, preferably oil, so that the lower end of said elbow 15 is submerged
and a liquid seal is thus formed between the elbow 15 and the stationary section
14 and prevents any possible escape of air from the air column 65 within the
tone arm.と記述されています(液体は潤滑よりも気密airtightを目的にしているようだ)。中空のTone Armがサウンドボックスからの音道(conduit)としてホーンにつなぐ役目をしていたのでtone
armと呼ばれるようになった。Stylus→Diaphragm
of Sound Box→Arm Pipe→Horn (Mechanical Amplifier of
Sound)。1929年Wilson&Webb共著Modern Gramophones and Electrical
Reproducers121頁では次のように説明されています: "The
function of the tone-arm is to carry the sound-box across the record and to
provide the link between sound-box and horn."
機械振動を電気に変換するカートリッジを搭載する現在のアームの形態はもはやtone
armと言えないのですが慣習的にtone armと呼ばれています。ドイツではTragarm「(カートリッジを)保持し音溝に運ぶ腕」と呼ばれています。

いろいろなタイプのレコードをサウンドボックスを回転させ、針圧調整して再生できるのでUniversalとされています。"some hill and dale cut records to be played by a sharp pointed stylus or needle; some known as the diamond disk to be played with a diamond point; other hill and dale cut records to be played by a ball pointed stylus and lateral cut records to be played by a sharp pointed needle or stylus"と1910年代流布していたレコードについて記述しています。USP1359466もUniversal SoundーBoxとArmですが当時の盤3種(V溝横記録・U溝縦記録・V溝縦記録)に対応しています。針先の材質や針圧など盤によって変えていたことが窺えます。