日本ビクターの特許図面より: 当時の”カッター先端部がどんなものだったか”を示す意味で紹介します。切りくずをポンプで吸い込むのはSP時代から既に行われていました。カッター針による研削をスムーズにするため、ヒーターにより加熱する方法も1950年前後から各社で採用されてきました。図Fig.2(レコードの回転方向と針の関係)はレコードの中心からカッター部分を見た図です。

ついでながらこの特許の要点は:
ダイヤのカッター針は従前のサファイヤ針に比べ長寿命という利点はあるが
ダイヤでカッティングすると、切りくずが静電気により針や溝にくっ付きやすい欠点もあるので
ダイヤのカッターの先端(図の15と16)に金属イオンを注入し電導性を持たせ静電気の発生を抑える
ダイヤモンドもサファイヤも絶縁体なのですが、コランダムのサファイヤ針よりも炭素質のダイヤモンド針の方が静電気の発生がより顕著に現れたそうです。そこで電導性物質によるコーティング(RCAの70年代US特許)や静電気を起こしにくいサファイヤシートの埋め込み(日本ビクターのUS特許4105213−1978)なども試みられたが、この特許ではダイヤモンドに金属イオンを注入しダイヤモンド・カッター針に電導性を持たせたものでした。この背景には日本ビクターと関係の深い米RCAのビデオディスクの再生針関連の技術開発があったようです。
70年代当時のノイマン・カッタ・ヘッド用録音針の形状は「レコードとレコードプレーヤ」(1979)P.162-163によると以下のようなものだったようです。4ch用は細かい溝を刻むために録音針も特殊仕様だったようです。普通のステレオ用には60年代から基本的な変化はなく底のRが小さめになったくらいです。あくまでもこれらは代表例であって標準化されているわけではありません。

| Kind of recoding groove | Stereophonic (45/45) | CD-4 4 channel recording |
| L (stylus length projecting from shank) | 2.5mm | 1.4mm |
| d (burnishing facet width) | 2-4 micron | 1.5-2 micron |
| γ (relief angle) | 45 degrees | 35 degrees |
| β (burnishing angle) | 20 degrees | 30 degrees |
| R (bottom radius of cutter) | 1-3 micron | 0.5-1.5 micron |
4ch用カッタ針の形状についてVictor Company of Japan, Limitedは以下の特許を得ており、記述の内容は上の表に対応しています。図6−7は基準レベル0 dB=5cm/sec peak lateralに対してそれぞれβとγの角度を変化させた時の最大録音レベル(半径14cmの外周側)の変化を示しています。βは大きいほどレベルが高い録音ができるが大きすぎると滑面整形効果がなくなるので25−40度の範囲が良い、γは小さいほどレベルが高い録音ができるが鋭角すぎると機械強度が得られなくなるので30−40度の範囲が良い、又dも狭いほど良いのだが幅が狭すぎるとやはり滑面整形効果がなくなるので0.5−3μ程度が良い、としています。


上記のrelief angleの変更は実効垂直録音角Vertical
Modulation Angle(VMA)の変遷と関係しているようです。VMAが1963年当時どうして15度程度になったか疑問でしたが、英国Wireless
World
1967年12月号のJ.Walton氏の記事を読んで納得しました(P.583):”Much
of the work on the 15 vertical angle question still remains little publicised,
and it is this work that uncovered such phenomena as master record groove and
record cutter spring back which made it necessary to move a cutter at one angle
while its vertical orientation remains at another. Since this effect varies with
frequency it means that the back angle of cutter is effectively increased at
some frequencies with resulting limitation on the maximum recordable
velocity." <中略> "Fig.4 shows an effect apparently depending
upon cutting velocity, though on the leading rather than the trailing slope of
the modulated groove wall. This effect is absent where velocities are such that
the angle between the instantaneous direction of the groove and normal general
direction of the groove is less than about
25 degrees. The effect also seems to produce severe damage to the groove
formation where this angle reaches about 40 degrees. But until all the factors
are calculable on different cutters, the practical measurement will probably be
best available guide as given on a test record."
ラッカー録音におけるspring back効果に言及し、針から見た溝形成上の最大角度と最大速度振幅に言及しています。trailing
slopeは針の後ろが既録音壁に接触しで音溝にダメージを与えるケースに関係し、leading
slopeはこれから録音する傾斜に関係します。spring back効果を補正し角度を増やしたカッターアングルにより前傾した波状(変形した正弦波)になるので立上り部分の傾斜が更にきつくなるのです。"on
the leading rather than the trailing
slope"の意味が最初よく理解できませんでしたが、後々再考・再読することで理解できました。spring back効果の詳細については英文のVTAもしくはCBSのBauer氏のUSP3490771をご覧ください。springbackは弾性理論を知らない人(私)の理解を超えるものです。プレスで鋼板を折り曲げ加工する場合のようにプラス側ではないんですね(曲げる側と曲げられる側では逆になる)。素材が元の平坦な状態に戻ろうとする働きとしては同じ現象といえます。

カートリッジ本体がレコードとのクリアランスを十分保つためにはある程度のVTAが必要なので最初から大きいVMAにすれば都合が良かったと思っていましたが、録音時の諸問題が背景に潜んでいたのですね。録音側の都合と再生側の都合は一つの規格内でも十分な調整がなされていなかったと感じます。私の理解では:録音針から見た溝形成上の最大傾斜角=最大速度振幅+cutter
angleで溝形成針通過後の最大傾斜角=最大速度振幅+VMA(=cutter
angle−springback)となります。springback効果により実効録音角度VMA(録音後の実質角度)はcutterのcutting
angleより小さくなるのです。録音針から見た溝形成上の最大傾斜角がある限度を超えるとラッカー盤の弾性破壊が起こるので、録音できる最大傾斜角は相当低くなっていた。ところでspringback効果は今でも十分に説明されていないと感じます(頑固だなーそんなことは忘れてしまえという内なる声が聞こえます:注)。Hi-FiNews
February 2004でKeith Howard氏がVMAを解説した下図が分かりやすかったので転載します(英国のオーディオ誌が健在なことも分かりました)。但しこれはspring
back効果を無視した模式図であることには注意しなければなりません。模式図は理解しやすいが誤解されやすいとも感じます。水平偏移だけのモノラル録音ではそもそもVMA(垂直録音角)やVTA(垂直トラッキング角)は関係ありません。
注:VMAにより録音針の軌跡は立ち上がりで傾斜が増え下りで減るが、形成溝は(針の軌跡と比べると)登りでは傾斜が減り下りで増える(springback)のでWaltonは"the
back angle of cutter is effectively
increased"と表現した。back angleはrelief anglの意味で上記JVCのUSP4033592にはtrailing
slopeにおいて針の後ろが既録音壁に接触しで音溝にダメージを与える図(Fig.2 prior art)が載っていました。springbackは録音針の圧力から解放されたら時間を置かず即時に発生するようです。私は変形した針の軌跡(下り側)を見てvertical
cutting angleは録音針にとってはむしろ有利ではないかと最初は誤認しておりました。

生産規模により手動のものからトランスファープレスみたいな大掛かりな自動装置までいろいろな機械が使われていましたが、基本は
1.原料を混ぜone shot分だけ取り出す機械。
2.スタンパを上下に取り付け下側の型が油圧シリンダーによって押し上げられてプレスする油圧プレス。
3.南部煎餅の縁のように「はみ出た」レコードの縁(flash:「噴出」)を切り揃える機械(trimmer)。
以下の図はJVCに委譲された米国特許から。この特許の要点はレコード穴近辺にバリや不整形が出ない工夫でした[Fig.6]。図ではレーベルの部分は省略されていますが、原料の上下にあらかじめレーベルを貼り付け自動化しやすくする工夫もあった(US
Patent3702749など)。レーベルが正確に真中になっていることは少なく数ミリずれたレーベルはザラにある。加熱及び冷却装置も図からは省略されています。ビニール材料は粘度が高いので射出成型(injection
molding)は困難なので、油圧によるプレス成型(impression molding)が一般に行われています。ベークライト=フェノール樹脂を使った一部のSP盤や50年代Emory
Cookによる粉末樹脂から作る"microfusion"方法などの試みもあったがそれらは特殊例に終わった。1971年日本コロムビアでもMolecular
Orientation in Injection-Molded Disk Recordsを高分子化学に発表し、射出成型しやすい特殊配合ポリスチレンやポリメタクリル酸メチルでは音溝の耐久性が得られず、耐摩耗性の良い塩化ビニル・酢酸ビニル共重合体は射出成形しにくいと報告しています。


一貫した製造機の全体像はCapitol社の米国特許3635622(1972)に詳細に描かれています。装置はgranule hopper→label applying station→press station→punching station→trimming apparatus(ここでは中心穴を明確にするためにプレス後に貫通パンチしている)。レコードの加工形状は:素材R1 biscuit→レーベル紙で挟んだR2 sandwich→R3 pressed record with "flash"→flashをトリミングした完成品R4。
Deep Groove:中古レコードの用語の一種。レーベル面に深い丸い溝があるものを指し、古いタイプのプレスマシンでプレスされたのでオリジナルに近い盤とされています。WonnebergのVinyl Lexikonによると「Deep Grooveはオリジナルプレスの証拠ではなく、直径2.75インチのセンターピースのプレス機を使ったことを意味する。主に英米でSP時代から長く使われてきたプレス機の冷却装置はセンターピースを通して型を冷却するのでセンターピースの直径を小さくすることが困難だった。又、直径が大きい方がMatrixの穴あけ芯だしに有利だった。1965-1975年に録音された英デッカのボックスセットではDeep Grooveと小径の現在のタイプが混在している。」 上図のCentral Memberとはセンターピースと同じでスタンパーを固定する部品のようです。レコードの穴は型によって作られるのではなくセンターピンによって形成されることが分かります。径の大小とは別に、レーベル面に段差をつけた理由は他にも考えられます:例えば、レーベル紙の漉き方向による収縮歪みによって発生する反りを防止できた。レーベル面の丸い溝について検証してみたところ、1960年代前半まで国内盤でもステレオ・モノラルにかかわらず同様の傾向が見られました。Deep Grooveは下の写真のように直径2.75インチ(約7cm)のあたりに1mm幅ほどの凹んだ同心円溝として認められます。1970年以降の盤ではこの溝は直径3.5〜2.5cm程度になっており、しかも昔ほど深い溝ではないので手で触ってやっと分かる程度。溝ではなく段差としてレベール面の穴の周辺が一様に厚く、その外のレーベル面が薄くなっているものもある。スタンパーフォイルを固定するセンターピースとスタンパー面との接続部が段差や細い丸溝としてレーベル面に形跡を残した。

型(Matrix)の加熱及び冷却装置の例(EMIの米国特許4141531より):交互に高温・低温液体(高温スチームと冷水)を環状空隙17を通して注ぎ螺旋状空隙12を満たすことにより均一に加熱後冷却することによって成型サイクルを従来の22秒から18秒程度にまで短縮できた、としています。



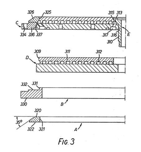
ラッカー録音原盤は約1mm厚のアルミ基盤の上にニトロセルロースを主剤とするラッカーを0.15-0.3mm厚塗布したもので裏表2面のレコード盤を作るためには2枚必要。ラッカー盤(lacquer blank)にもいろいろな品質(ラッカー配合の違いによる硬度や弾性)がありカットする際に発生する溝の不整形(ホーンなど)を防ぐためにはそれぞれ最適なヒータ電力の設定が必要だと「レコードとレコードプレーヤ」P.164に述べられ以下の図が示されていました。さらに「ラッカー盤の表面粗さは音溝となったときの雑音レベルと関係するので極力滑らかであることが要求され、一般に50Å程度以下にすることによって1kHzの基準レベル(45度方向、35.4mm/s)に対してSN比65dB以上(録音補正Aカーブ使用)が得られるようになっています。[中略] なお、ラッカー盤の厚みむらやソリによる溝幅変動は、カッタ・ヘッドのサスペンション系で吸収しますが、ウエストレックス製のカッタ・ヘッドのように大形で重量のある(約2.5kg)場合には、アドバンス・ボールと呼ばれるサファイヤ製のボールが録音針の近くに取り付けられ、ラッカー盤のソリに追従して溝幅一定の研削ができるようにしている例もあります」と述べられています。

ハイファイ初期の苦労話はMarcucciとI. Cappsによる米国特許3184242-1965(Recording Stylus)に見られます。その特許の要点は従来の90度V字のカッタ針ではなくホーンの発生を押さえる特殊形状カッタでしたが、その解説の中に次の文章があります:For example, the surface irregularity in the intersections between the grooves and record surface, known in the trade as "horns," adversely affect the separation of both the pressing blanks from the master record and the end product records from the pressing blanks. It should be clear that when "horns" are present on the master they will result in irregularities or "horns" in the material of the pressing blank around V-shaped grooves. These horns will tend to stick together so that the pressing blank cannot be cleanly and easily separated from the master. The same unwanted effect will occur during the separation of the end product records from the pressing blanks since the same surface irregularities are present on the pressing blank. In some cases the horns on the pressing blanks will result in the further tearing away of material from the groove walls of the end product record.
TelefunkenのRedlich氏はブランクマスターの平面度に依存しないで溝をカットする方法を提唱していました。テレフンケン社で一時的に採用されたらしいのですが実験的な試みに終わったようです(結果的に出来上がった溝の深さは浅めになるが、ラッカーを厚塗りすれば平面度は悪くなるジレンマ)。

似た方法はドイツのPolyband社の1974年米国特許3850436及び1968年公開特許DE1297885にも見られます。いかにラッカーマスターの品質に問題があったかが分かります。しかしこれらの方法は物理的にも経済的にもカッタ作業に負担がかかりすぎますので一般化しなかったようです。正確に原盤が作られたとしても、プレス以後の収縮や変形でこれらの努力も徒労に帰す。

Denonの特開S55-146602より従来のカッターヘッドの支持方法の図(本来の発明は問題の多いAdvance Ballを省き、光学的な方法で録音盤のソリに対応するサーボ装置に関するものです)。「カッターヘッド3は槓桿(こうかん=梃子棒)4の先端に可動自在に取り付けられ、槓桿4は架台5に支点6を介して枢着(すうちゃく=妙な造語だがhingeに留める意)、架台の移動により針先2が原盤1の幅方向に進行するように成されている。槓桿は架台に対しスプリング7により揺動自在に支持され、針先が原盤に掛かる押圧力を調整し得る調整手段7aを有する。槓桿は更にダンパー8により衝撃を吸収する様に成され、原盤の回転により、針先により信号に応じた情報を原盤上にカッティングする様に成されている。<中略:Advance Ballの記述>然しながら、かかる構成をとるとカッティングに際してボールが原盤の上を擦動しているのでしばしばキューキューと云う音を発生し、カッティング時に記録される。この為に再生時にノイズとして発生する重大な欠陥を生ずる。又原盤の表面の高低差による針先の運動は第1図に示す支点6を中心とする円弧方向の運動によって、音溝と直行する方向の分力11aを発生し記録音溝に変調を与える要素となっている」とありました。このヘッドは重いWestrexタイプを想定しているようですが、後の軽量化したカッティングヘッドにはこのボールはなく、電磁制動とダッシュポット等で深さをコントロールしているそうです(JVCの特開S55-17873参照)。ラッカー盤のうねりは厄介な問題だったようで後のSonyの特開S57-141001でもうねり検出器を設置し、電磁制動をかけることを提案しました。JVCの本(1979)ではadvance ballを省き電磁制動とダッシュポットによるサスペンションで40μm程度までのソリに対応する、としています。カッターヘッドは送り機構の移動架(sled)にマウントされます。その送り機構を持ったカッターレースは旋盤によく似ています。


Lacquer MasterからStamperを製作する過程にはそれぞれメッキ作業が介在し音質劣化をもたらす要因となっていました(従来のメッキ工程3回に対しDMMでは1回で済む)。 Metal Motherやプレスの品質はそれぞれトレースして調べることができますがMatrixとStamperは山形の突起状なので検査するのが困難です(逆回転するターンテーブル+二股の特殊針でStamperを検査するPickering社の米国特許4113266/4113267/4153257もありますが一般化しなかったようです)。少量のレコードの複製にはMetal Matrixを直接Stamperとして使うこともあるそうです(マスタープレス)。大量複製生産する場合にはMatrixから数枚のMotherをメッキによって転写し、さらに一枚のMotherから数枚のStamperを転写、これを押型として各数百〜数千枚のレコードをプレスする。たとえば:1 FATHER x 10 MOTHERs x 10 STAMPERs x 1000 = レコード100,000枚 (一夫多妻の子沢山、それ以上必要ならre-cuttting=remasteringで別のFATHERをこしらえる)。一般にレコード原盤という場合にはメタル原盤(Matrix/Mother/Stamperのどれか)を指しています。ラッカー原盤はマスターテープがない時代のTranscription Disk(主にライブの録音原盤)を除いては保管されていないようです(変形やラッカー面の収縮などで品質維持が難しい)。現在ではデジタルマスターが主流なので千枚前後の限定プレスにはマスタープレスとし、FATHERを使い潰すー追加需要がある場合にはFATHERをSTAMPERとして使う前に作って保管しておいたMOTHERから複数のスタンパを作ればさらに1万枚程度までレコードができる〔実質1万以上の需要は現在では見込めないらしいーレコードが珍しいだけのものになるわけだ]。
銅箔に直接カッテイングする録音方式DMMにはサファイヤ針では柔らかいので使えずダイヤ針を採用しました。弾性変形による滑面整形が期待できないのでburnishing facetがないカッタ形状が特徴ですーラッカー盤よりも正確な音溝整形ができる。ダイヤ針でもDMMでは磨耗が激しかったのかカッター針を装着したまま再研磨できるように軸を工夫した特許もあります。サファイヤ針の場合は使い捨てでもダイヤ針が高価なので経済的な理由から再研磨して再利用することがあったようです。従来の取り付け方法では狂いが生じやすいので、正確に軸角度を出す方法を模索したのでした。

別のTELDECの特許では従来のカッターとDMMカッターの斜面角(canting angle)の違いによりダイヤの強度方向が異なることに関連して、DMM用途に最適な強度を持つカッター形状の研究成果を発表しました。ダイヤの基本構造を示している下図に興味を惹かれました。Fig.1 the known association of diamond cube, octahedron and diamond body. Fig.2 a plan view of FIG. 1 with the four hardness zones indicated. Fig.2の点線のZ領域が高い強度を持つダイヤの目です。

特殊鋼の基盤上に約0.1mm厚の特殊銅箔層を鍍金したディスク(詳細はUS Patent 4248438参照)を使用するDMMの技術背景として70年代のビデオ溝開発研究がありました。図4のようにcutter stylus rake angle (SRA)は0度(直立)ではなく前傾しています(10-15度の範囲が最適で中間値は13度)。ビデオ用より深い(研削量が多い)音溝では研削抵抗が大きく磨耗も激しいので、図5の針のようにダイヤ軸に対して15度の斜面角を持ったダイヤ針が音楽レコード(ローノイズ録音)用には磨耗特性上最適としています。鋭角の刃先は微細な傷から割れが生じやすいので、burnishing目的ではなく強度を高めるために図6のように鈍角面幅0.5ミクロンの刃先形状が推奨されています。図5については以下のように説明されています。
FIG. 5 shows a diamond body 1a for low-noise sound recordings in
copper layers. Diamond body 1a is drawn within the customary cut of a diamond
body 1. The new cut has been selected so that the cutting face 2 in diamond body
1a has already been worked so as to have the canting angle intended for the
cutting process.
In the adjusted operating state, the carbon atoms of the diamond are arranged in
the crystal lattice in such a manner that they lie one behind the other in the
cutting direction and thus produce the greatest resistance against the stresses
of the cutting process. Thus, the diamond is intentionally cut and ground along
less hard lines so that, in the operating state, the end effect is wear
resistance. Since these cutting edges do not coincide with the natural edges,
the correct position can be determined only with the aid of radiographs of the
crystal lattice.



ノイズを低減するためにSRAは前傾している一方で、実効垂直録音角VMA(DMMでは硬い銅版を研削するためにカッターの垂直運動角度)は20度ではなくほぼ垂直(0〜5度)になったが故に従来の録音角20度標準からずれが生じ、VTA20度前後で製作されているカートリッジで再生すると垂直トラッキング角誤差による歪が生じていまう。そこでUS特許4,538,256のように"垂直角度誤差をあらかじめ電気的に補正して録音する"事が行われたようですーこれも録音補正の一種です。1965年JAESにてTracing Simulatorについて発表した時にもVMAの電気的補正の可能性に言及しています。当初私はサスペンションの位置を見て録音角が20度程度傾いていると勘違いしましたが、駆動コイルの位置をよく見るとほぼ垂直に上下駆動される構造になっています。特許4484320には<The used aluminium mount has a length of about 12 mm with a diameter of about 2.5 mm, the diameter of the mount is reduced on the suspension end to a diameter of about 1 mm and is fixed suspended in the structure 7. The diamond has a length of 2-3 mm with a quadratic cross-section of about 0.6 mm>の記述も見えます。針先の部分を拡大してみせた模式図のようです[12xtan5度≒12xsin5度≒1mm]。


DMM のレコードのスリーブにはDMMのロゴとともに3つの技術的進歩が述べられていました。1981年頃のオリジナルDMM盤では音溝は9mm内周側からと余裕を持たせ、グルーブガード(raised rim)がないフラットディスクで片面24分以内録音など、DMM技術以外にも高品質の音盤を志向したようです。但し、DMMにも得失があり良い面だけではありません。録音銅版が硬いため最大振幅・ダイナミックレンジは押さえられていたとも言われています。特殊銅箔層の厚さは約100ミクロンなので最大80ミクロンの垂直偏移内にdepth controlされていた(top widthに換算すると約160ミクロン)。水平録音についての最大振幅についての資料は知りませんが、ラッカーディスクのように研削性を高めるためのheated stylusは適用できないのでDMM水平録音についても制限があったと思います。研削抵抗は横よりも縦に穿る時の方が大きいことは自明の理でしょうか(実際には速度が関係する)。DMMでテストレコードを作ったら精度の良いものが出来たはずなのですが、そのようなテストレコードは見当たりません。TELDECの歴史:1950年に独Telefunkenが英Deccaと提携してTELDEC(TELDEC Telefunken-Decca Schallplatten GmbH簡略化してTELDEC Schallplatten GmbH)を創立、1983年親会社Telefunken及びDecca共に資本撤退、1988年WEA Internationalに買い取られ、その開発研究部門は閉鎖された。
クリヤな音 (サーフェス)ノイズの軽減
プリ及びポスト・エコーの解消
ところで銅箔にカッテングできるなら、塩ビレコード盤も直接研削できるのではないかという考えも浮かびます。当然ながらそのような日本特許公開もあり、東洋化成のハーモディスクの特許について2001年国際公開WO 0108137でも関連文献の一つとなっています。


Further reference:
*USP
3013125-1961 Stereophonic Recording by Goldmark etc. indicating filters &
limiters for recording (assigned to Columbia Broadcasting System) 当時のピックアップについて面白いことが書かれています:"Normally,
these two signals [sum and difference] are of similar amplitude and it is
difficult to design a pickup which will follow them without generating
distortion. We have discovered that the difference signal can be limited in amplitude so that it will be as
little as one-half that of sum signal, or less, without impairing substantially
the stereophonic character of the recorded information." 現在レコード録音の慣習として、逆相縦振幅が大きくならないように150Hz以下の音は水平モノラルに合成されているそうで特許の趣旨
[Depth limiter for stereophonic recordings] が継承されている。
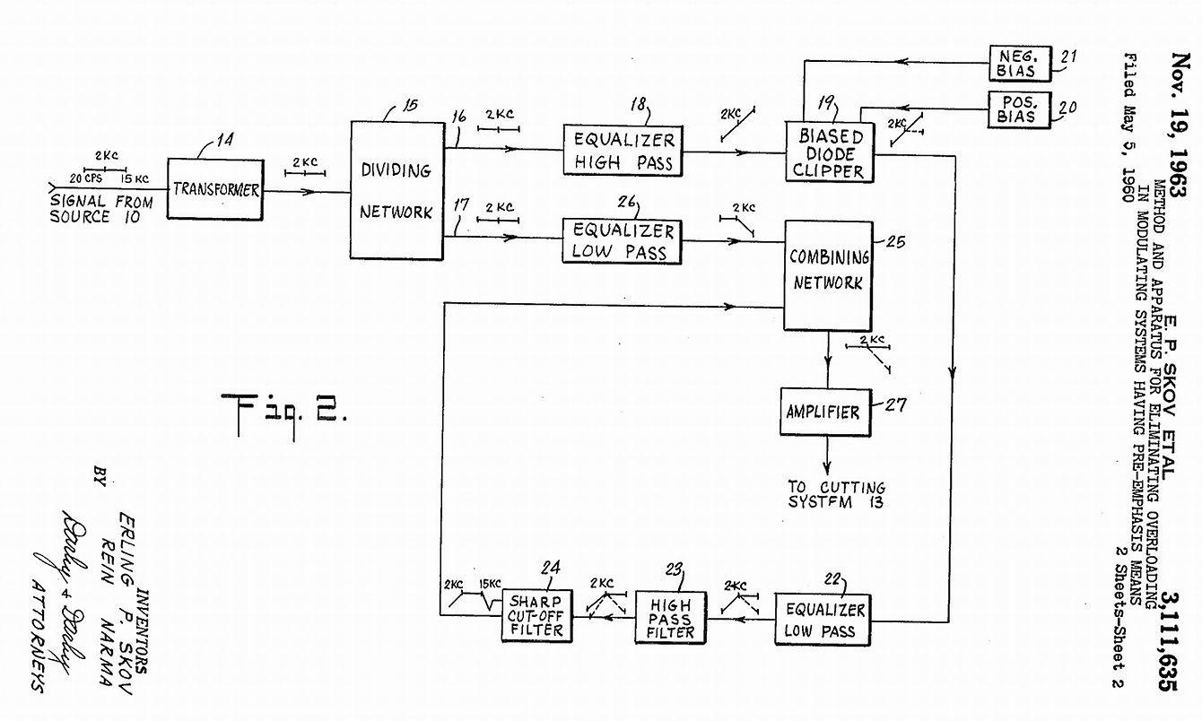
*USP
3111635-1963 Method and Apparatus for
eliminating overloading in Modulating Systems having pre-empasis means (assigned
to Fairchild Recording Equipment Corp.) indicating the problem of top-lift
(pre-emphasis) of RIAA recording characheristic.当時高域のオーバーロードについては手動かfrequency
selective filterで対応していたがautomatic filterを提示した。手動は職人の練熟が必要で高レベルの高音を制限する従来のフィルターは低レベルの高音や他の帯域まで減衰させてしまう。
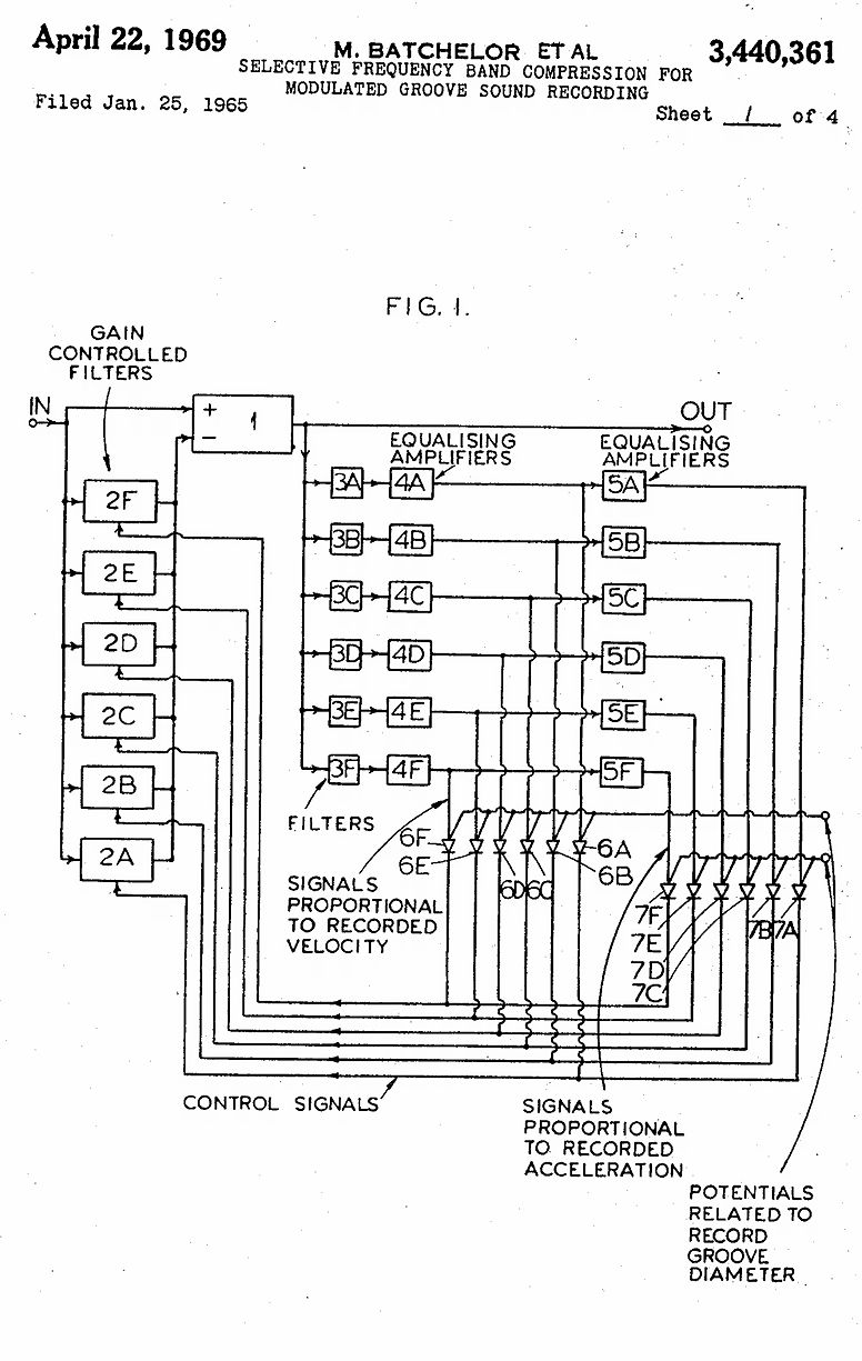
*USP
3440361-1969 Selective Frequency
Band Compression for Modulated Groove Sound Recording assigned to EMI.
gain
control filter中心周波数500/1k/2k/4k/8k/16kHzに分け各段でオーバーロードを防ぐ工夫。
WESTREXは以下のようなステレオヘッド(Model 3D)を発表していました(US Patent RE29091/3977766より編集ーこのコダックの特許はプロジェクター反射板の表面加工に関するものでレコード盤とは無関係)。カッターヘッドの構造は簡略化されて示されることが多いので、左右のV字におかれたコイルが直線的リニアモーションで溝がカットされるような誤解を生む模式図が多いのですが、そのような構造では針が実際には動くことができないはずです。以下の図ではリニアに動くコイルとカッター針の間にリンクが挿入されています。右下の磁気回路の図は山本氏の本の35ページから取りました。このWESTREXのカッターヘッドの構造についてコダックの技師は次のように説明しています。<Braces 68 are provided in the center of the links to prevent excessive lateral compliance. Springs 69 are provided at one end of each of the links 67 to prevent rotational movement of the cutting stylus S. The above-described structure results in a stiff, forward driving system with a high compliance in a lateral direction.> このWESTREXの構造の完成度が高かったためか、この形式では大した進展はなかったようです(航空写真のパイオニアだったAero Service Corporationの特許3766330-1973でドライブ・コイルにボビンを使わない空芯化を試みた程度)。


モノラル時代のLateral
Modulationのカッターよりも複雑な動き(屈曲運動)を強いられます。一本溝ステレオ自体に相当な無理があるような気がします。ステレオ溝は巧みの技の極致ですね。。。それで1930年代にEMI/BlumleinやBell
Telephone Laboratories/Kellerなどが45/45方式を含むステレオ理論を発表したものの、その商品化には20年以上を要したのでしょう。DECCAは各チャンネルをL/Vに分割して記録するステレオ方式を提唱したのですがその方式ではチャンネル間の歪の差が大きいので(簡単に言えば、針が水平方向では両側の壁に挟まれるのに比べ、垂直方向は片側・接触高さのみで制限されるから㊟参照)ステレオ溝は45/45方式(別名Westrex
System)が採用されることになったそうです。驚くべきことにWESTREXタイプやオルトフォンタイプを含むステレオ・カッターヘッド方式がBlumleinの英国特許394325-1933や簡略化された米国特許2093540-1937などで既に予見されていますーそれで先駆者Blumlein(1903年生-1942年死亡)はステレオ(盤)の父と呼ばれているのです。WESTREXは商品として初めて45/45方式を実現したので特許は得ていませんー逆説的に言えば、特許を取らなかったからこそ45/45方式ステレオが速やかに普及できたのかもしれません。
㊟:ステレオ溝のトレーシング歪を改善する目的で開発されたRCAの"Dynagroove"のUS
Patent3229048に以下の文章があります:"An analysis of tracing
distortion shows that lateral cut records are superior to vertical cut records
(hill-and-dale). In lateral cut records, the two groove walls, moving in the
opposite directions relative to the reproducing stylus center, form a push-pull
system which tends to eliminate the even order harmonic and intermodulation
components of tracing distortion. In vertical cut records, vertical-lateral
stereophonic records, or in 45-45 type stereophonic records the
cancellation of even order harmonic and intermodulation distortion does not take
place and the tracing distortion problem becomes significant."
DECCA L/V(H-V)システムでもカップリング回路を通せば45/45方式と同等になるので直ぐに対応できたのでしょう。Decca
のステレオカートリッジも内部で水平垂直マトリックス接続で45/45ステレオに対応しています。モノラルSP時代に縦記録と横記録のレコードのどちらでも再生できるように考えられたのがL/V式ピックアップのルーツです。DeccaのArthur
Chales Haddy技師は英国特許GB810106でL/V
Systemのステレオ録音カッターを発明しましたが、Westrexの45/45方式の登場を見た時、再生上互換性のないステレオシステムを避けるため45/45方式への収束を推進するなど先見の明のある技術者でした(1957年末45/45方式に収束)。Deccaと関係の深いTelefunkenも縦記録と横記録に併用できる録音ヘッドとピックアップを開発していました(GB688804=DE816311やGB789367=DE1003463やL/VステレオカッターGB845904=DE1026981や米国特許3013126など全て1957年迄に申請したもの)。45/45とLVシステムには<そのままでの互換性>はありません。偏移を示す三角形が相似形ではないからです。その関係を調べるために英文ですがエクセルファイルを作ってみました:カートリッジの項の<溝と針の動き>の図の基になったものです。因みに、上図カッターコイルの運動と下図溝の形成を比べると面白いことが分かりますー上下運動溝は45/45システムでは逆相とされていますがコイルの駆動方向は見かけ上同相です。つまりVertical
Modulationの方をステレオにおける垂直モノラル録音としても良かったのです。ただ従来の水平モノラル録音溝との互換性を考えたのでLateral
Modulationを同相モノラルとしたわけです。ステレオ前夜LV方式が一番ステレオ方式として実現に近いとされ盛んに研究されていた理由も足し算の原理(従来の水平記録モノラル溝に縦偏移を加える)から発想されたもののようです。ベル研究所のKeller/Rafuse等も最初はLV方式のステレオを試したのですがそれでは縦横のチャンネル間の音質差が無視できなかったので後に45/45方式を提案した。Blumleinの研究は先進過ぎて英国本土でも忘れられており、Keller/Rafuseの特許(USP2114471-1938)を基にWESTREXが45/45方式を発表したときになって、英国にもいち早く同様な研究と特許があったことが再発見・再評価されたようです。1本溝のステレオは和と差により形成されるので、相当する電気的カップリング回路を通せばLV
systemにも45/45 systemにも同じカッターヘッドが使えた(45/45時代=1958年以降のテレフンケンの米国特許3236955参照)。
余談:1951年平行2本溝によるステレオは米国Emory
G. Cookによる試みが知られていますが、もっと古く1920年代RCA(USP1817177
& 2126370)や第二次世界大戦中のドイツTelefunken(DE737328)など平行2本溝によるステレオのアイデアは各国に存在しました。
ステレオ音溝自体は45+45=90度になる必要は無く、U字でも80度でも100度の開閉角でも音溝外見は関係ありません。 偏移の方向が90度録音であればよいのです:45/45方式もしくはL/H(0/90)方式。録音方式と再生方式が同じ方式であることがステレオの要件。 チャンネル間それぞれが90度で交差する(片チャンネルの変移が他チャンネルに影響しない)ことで完全なセパレーションが得られるーそれが1本溝でステレオが可能になった原理です。これで理論的には完全なセパレーションが得られますがカッター及びカートリッジの左右チャンネルセパレーションは主に高低端で20dB程度に劣化します。左右チャンネルが独立して動くのではなく機械的に結合されているのですから限界(最大35dB程度)があります。

| Difference in modulations between L/V (H/V) and 45/45 | ||
| MODULATION TYPE | L/V or H/V system [0/90*] | 45/45 system [45/-45 or 135/45*] |
| Its channel orientation is uncertain (shown in italic as trial) | Channel orientation as specified in IEC 98 2nd edition (1964) & BS 1928:1965 4.3.2.2 etc. | |
| Lateral modulation | one channel (H=L channel) with 100% amplitude | both channel in phase (R+L) with 71% amplitude |
| Vertical modulation | one channel (V=R channel) with 100% amplitude | each channel out of phase (R-L) with 71% amplitude |
| +45degrees modulation | both channel in phase (H+V) with 71% amplitude | one channel R with 100% amplitude |
| -45degrees modulation | each channel out of phase (H-V) with 71% amplitude | one channel L with 100% amplitude |
| All standards (RIAA/IEC/BS/JIS etc) for stereophonic records specify channel orientation in 45/45: "The groove shall be recorded for reproduction with the right-hand loudspeaker(s), as viewed from the audience, actuated by movement of the groove wall which is further away from the centre of the record". Outer wall for Right channel, inner wall for Left channel. | ||
| *Modulating direction difference 90 degrees (two orthogonal directions lying in a plane perpendicular(*) to the direction of the groove) is required not for a V groove, but for undulations in order to obtain clear channel separation in 90degrees writings (both LV and 45/45=135/45 in Cartesian coordinates). My note: "a plane perpendicular(*) to the direction of the groove" seems orthodox design, but it is not indispensable condition for stereophonic recording. Inclined plane to the direction of the groove can also produce stereophonic groove as far as it contain two orthogonal directions as shown by JVC book as Ortofon type cutter. Stereophonic undulation in single groove is possible irrespective of groove angle and plane of recording. Neumann/Westrex type cutter sticks to orthodox/normal plane while the inclined plane of recording by Ortofon is based on reformation taking VTA of pickups into consideration. | ||

Why 45/45 system
instead of L/V system for stereophonic sounds? The researches of disc
distortions by H.V. Hunt etc. revealed that vertical tracing distortion on
hill-and-dale recording was always bigger than lateral tracing distortion on
lateral recording - this fact became widely known so that hill-and-dale records
were discontinued to be produced after World War II. If one channel is allocated
to Lateral undulation and another channel to Vertical undulation, then there
arises a sound quality difference between two channels upon reproducing the L/V
disk with L/V cartridge.
Frederick Vinton Hunt (1905-1972), a
professor at Harvard University about acoustics, wrote together with his
colleague J.A. Pierce: "On Distortion in Sound Reproduction from Phonograph
Records" J.A.S.A 1938, monumental papers simulating various phonograph
distortions. W. D. Lewis and F. V. Hunt, "A Theory of Tracing Distortion from
Phonograph Records" J.A.S.A. 1941. These researches led to the development of
criteria that eventually made possible the long-playing monophonic records with
lateral recording.
Keller and Rafuse mentioned in USP2114471-1938 as follows:
"In the systems of this general type proposed heretofore the two recordings have
usually been made as vertical and lateral undulations respectively. With a
system of this type, however, it is very difficult to obtain identical quality
of reproduction from the two recordings." Therefore finally
45/45 stereophonic (recording & reproducing) system
was adopted since 1958.
DECCA MK IV(別名ffss
C4/SC4E 1967年頃)ではSuspension thread及び縦コイルの傾斜によって1963年以降規格化された15度のVTAが得られているようです。オリジナルffssカートリッジはVTA
0度だったようです(規格化される以前のDecca系のL/Vカッターアングルも0度だったと言われていますーVTAのページ参照)。下図のDポイントは通常接続しないテストポイントでモノラル水平出力の端子です。Dポイントから見るとVertical
coilはそれぞれ右巻きと左巻きになっています(磁気回路の磁力線の方向に注目:同方向の巻き方では垂直溝で同相になってしまう)。マトリックスの原理は以下の通りです:
45/45方式のステレオでは
水平信号H=L+R 垂直信号V=L-R なので、
コイル1とコイル3の出力電圧の和(水平信号と垂直信号の和)はH+V=L+R+L-R=2Lとなって45の左信号になり、
コイル1とコイル2の出力電圧の和(水平信号と垂直信号の差)はH-V=L+R-(L-R)=2Rとなって45の右信号になる。


DeccaのステレオカートリッジはL/Vステレオと45/45ステレオの競合狭間期にBayliff氏が発明したものに基づいています[US2984711=GB856829]。さらにLateral
Coilとその発電機構はSPからLPへの移行期に発売されたDecca Type C/D(そのT字型交換針は1944年ロンドン在住の米国人O'Brien発明:英国特許GB586900-1947を修正し、1945年DeccaのSchwarzによる米国特許2469933-1949=GB615421-615424を採用)によく似ています。BayliffとCowieも前の特許申請GB748982でSP/モノラルLP用ピックアップを提示し其処でも特徴的なstiffening
ridgeを持つサスペンションとtension wireが示され、tension wireは針と溝の摩擦に対応し針軸が傾くのを防ぐ役割があった。DECCA
MK IV以降のナイロン縒糸のsuspensionはHaddyによる特許GB856997と関連がありますが、巷で言われているような後付けの理由”tie
back cordによるVTA15度の確保”とは別の意図があったことが窺えます(Haddyはdamperを使わずにこのsuspension糸を針の付け根に平行に張ることを考えていたようです)。それぞれの製品には発明者だけでなく有名無名の多くの人々が携わってることや、時勢や市場によりデザインが修正されることも実感します。Deccaは1957年申請のGB847138で純正(*下注参照)VRタイプのステレオカートリッジも発明していますが製品化はされなかった模様(pole-pieceの構造による第二高調波歪や磁気飽和や磁気漏れについて言及していますーそれらが結局VRタイプが現在絶滅した理由だと私は思います) 。
*注:後述のごとくデッカのステレオカートリッジは「水平振動はバランスドアーマチュア形、垂直振動だけがバリレラ形といういわば混血品」なので純正VRタイプとは言えません。山本氏によればDeccaの初期ステレオレコードはカッターの垂直録音角が0度、ラッカー盤のspring
backにより実効録音角はマイナス10度になっていたそうです。カートリッジのVTAは0以上プラスなのが一般です。それら古いDeccaステレオ録音盤をVTA23度以上のカートリッジで再生したらどうなるか? 33度の誤差による歪は流石にオーディオマニアなら聞き取れるはずですよね。VTA0度のDeccaのカートリッジffssオリジナルやffss
MKIIですら本来の音を聴くことは出来ないことになりますが、誰もそんなことには頓着しないようです。RIAA-1963やIEC98-1964に従ってBS1928-1965で初めてVMA=VTA=15度と明記され規格化されました。それ以前は霧の中です。見かけ上VTA0度?なのは以下のBayliffの特許図に見えますがそれも疑わしい。上のMK
IVではvertical
coilもポールピースも傾いていてVTAに対応しているように見えるーarmatureが縦長なので見かけのVTAから発電効率上のVTAを推定するのは難しいー上記DMMのUSP4480320のFig.1並びに模擬図及び後述のノイマンとオルトフォンのカッターヘッド駆動点の違い参照:ポールピースが傾いても関係ないようですが力点がHとLではポールピースの位置も運動方向も異なりDecca
IVの垂直感知部はポールピースの傾き30度から察するにHよりもさらに高い位置にあると想像します。Decca
MK IVで初めてVTA15度を達成したらしくカートリッジのボディ先端部も傾斜するデザインになっています。I-IIIはキャラメル形でV/(VI欠番?)/7は将棋の駒のような形(1971−1984年までVが一番長くカタログに載っていました)。ポールピースやカンチレバーの形状材質を含め数々の改善があったようです。1985年発売のMark
7(Super
Gold)の文書に登場する図面ではポールピースは長く下に伸びLの位置に達し直立していますー当時MMやIMに押されていたので、針の真上に発電感知部がある”Positive
Scanning"の謳い文句で差別化も試みました。



上記Bayliffの米国特許2984711で参照されているHoffman Electronicsの特許図には Lateral (Mono), Vertical (Mono) and 45/45ステレオ再生における接続変更スイッチが示されている。 1958年には45/45ステレオが確定していたのでLVステレオのポジションは示されていない。 横記録がモノラルとして主流になったのでVertical (Mono)はIEC98-1958において規定されなかったのと、 45/45方式でモノラルは横記録に当てられ45/45式のステレオカートリッジでも同相2チャンネルとして再生可能なので 結局、この接続法は普及しなかった。以下の接続法は本来のモノラル=1チャンネル=片側スピーカー出力を貫いています。ところで今、モノラルをわざわざ片側スピーカーで聞く人はどれだけいるのでしょうか?

以下はTelefunkenの技師達RedlichやKlempが主導しNeumannも参加してTELDEC(Teldec Telefunken-Decca Schallplatten, GmbH)に譲った米国特許です。<微小の偏移範囲では円弧運動が直線運動に近似される>ことを示しています。±数十ミクロンの範囲の偏移に比べれば録音針や再生針のカンチレバーは十分長いので直線運動に近似するといえます(tan 1degree≒sin 1degree≒0.017で普通は1度以内の偏移です)。1957年申請なのでまだLVシステムを念頭においていますが同時に45/45システムに変換可能な構造を示しています。http://www.floka.com/cutters.html によるとSystem Neumann-Teldecの初期カッターヘッドにはL/V=x,yタイプZS90/45(1955年)などがあったそうです(45/45にするためにはカップリング回路追加)。Neumann/Teldec最初の45/45タイプステレオカッターヘッドSX-45はZS90/45の後裔とされており、Westrexなどと比べるとカッターヘッドが軽量化されアドバンスボールが無い特徴を持っています。1967年頃SX-15というオルトフォンタイプに似た別系統のカッターヘッドも少数作られました。1968年のNeumann SX-68以降はWestrexの45/45システムを修正発展させたもので世界標準になりました(恐らく米国特許3236955が該当すると思われ、機械的なリンクを使わずに左右45度の動きを実現しているようですー6端子のコイル接続に注目)。70年代からはNeumannのcutting systemが独占しましたー他社が競合するような市場ではなくなったのでしょう。


別のUS Patent 3014992(こちらはTelefunken
GmbHに譲渡)では以下のサスペンション方法も示されています。皿状の基部(11)に巻かれたコイル(12)とカッター針を中空のパイプ(9)の先端に取り付け反対の端はダンパー(10)で支持する構造です。
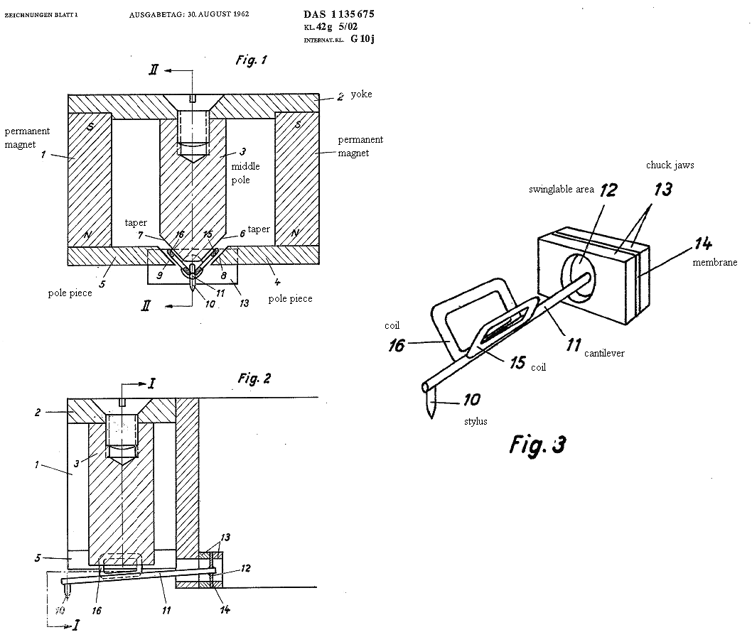
余談ですがNeumann社のステレオカートリッジDST
(Elektrodynamischer Stereo Tonabnehmer)もこの発展形と思われます(ノイマン音響ラボの研究員が発明したDE1129718とDE1135675参照)。前者の並列三角コイルのみ実体化され後者の磁気回路がより明確なV字コイルは実現しなかった? 特許図を見る限り、2個の磁石による反発する磁力線は+45度-45度左右対称放射形(Kraftlinie
des magnetischen Streufelds散布形磁力線)になるのでステレオ発電が可能になると解釈しました(http://www.badenhausen.com/VSR1Pickups.htmその他で示されている模式図にあるように一個の磁石でNSのポール間に働く直線的な共通磁界にあのようなコイルを置いてもステレオにはなりえない)。 前者と後者の磁気回路(赤線部分は私の追加説明)。前者の反発磁界内の三角コイルの有効発電部分の位置が微妙ですが付け根の水平直線部にあると記されていますP4.line33"als
aktiver Teil der Leiterschleife dient"。「三角コイルの有利なところは、たとえ三角コイルのほかの部分が磁界にあっても有効直線部と平行ではないので逆電力が誘起されず、有効発電部に明確な状況が与えられる」と記述されています(P4,line41-49)。後者の特許文書には米Electrical
Research Products, Incorporatedによるドイツ特許DE654353(=ベル研のVieth発明のUS特許2055187)が参考文書として引用されていました。ERPIとは何者かを調べてみると(ブリタニカ):”By
May 1928 virtually every studio in Hollywood, major and minor, was licensed by
Western Electric’s newly created marketing subsidiary, Electrical Research
Products, Incorporated (ERPI), to use Western Electric equipment with the
Movietone sound-on-film recording system. ERPI’s monopoly did not please the
Radio Corporation of America...”とありました。音響の歴史は英米の特許が発端になっていることをあらためて知りました。1930年代ベル研究所もしくはWEの特許は米国以外の国々では主にERPIが申請者になっています。


NeumannのDynamic Stereo Cutterhead SX-74のスペックは以下の通り(SAL74はこのヘッドと組み合わせるcutter drive logic回路です):

オルトフォンのカッターヘッドはT字形でした。Ortofon Dynamic Cutter Head Type DSS-732が普通のステレオ用で20kHzの高域まで録音可能、Type DSS-731はCD-4用途で25kHzの高域まで録音可能とのことです(ハーフスピードカッティングでは25kHz x 2=50kHzまで録音できる)。特性例はフィードバックコイル端子で測定した周波数特性とクロストーク特性だそうです。高低両端の約-12dB/Octの減衰カーブはMFBをかける前の裸特性に近いものになっています。このT字型の基本構造はFonofilm(Ortofon)のKnudsenが発明しました(米国特許3051798-1962)。デンマークでの特許出願が1958年3月5日なのに既にステレオに対応しているのが驚きです。因みに有名なSPUカートリッジの特許はFonofilm Industri A/SのDK110237(1960年申請1963年特許公開1973年デンマーク特許取得?ー1965年英国GB1000035では公開のみでドイツDE1195067では公告までー発明者の名前は明記されていないのですがドイツの文書のみAxel Scheibelとなっています)と1966年申請のコイルバネを使ったリード線DK112132=GB1144955(ステレオカートリッジの並列接続によるモノラル化や2ピンのモノラルカートリッジをステレオ装置に接続するために考案されたーコイルバネを使った理由はバネが屈曲した時の方が確実な接触が得られるからだそうだ)。DK110237ではElectrical Fono-films Co.のArentzenのDK70821(Electrodynamic typeカッターヘッドに関する1947年申請1950年デンマーク特許)がEMI/Westrex/RCAの特許とともに参照されていました。SPU以前にはType A/B/C and ADモノラルカートリッジ(特許DK80474=US2591996やDK88328やDK80229などによる)を組み合わせてステレオにする特許GB859606=DE1076385もあり製品も僅かに作られました(2軸回転に変換する離業)。オルトフォンでは1952年頃よりカッター針先を加熱して録音しはじめたようで関連特許DK78944も取得しています。
私が思うにhalf speed cuttingには問題があると思います。マスターラッカーにカッテイングするときテープ再生スピードを半分(例えば38cm/s→19cm/s)にしカッティング・ターンテーブルも半分の回転速度にするわけですが、出来上がったレコードは通常のスピードで再生するわけです。見かけは辻褄が合いますが再生針に過剰なトレース能力を要求しています。かろうじてhalf speed cuttingで刻めた音溝を通常のスピードでトレースするのです。但し、これらの試行(trial)によってカートリッジのトレース能力は格段に改善され、普通のステレオ溝では現在どのカートリッジで再生しても問題なくなった事だけが4チャンネル時代の収穫だった、と感じます。特殊形状針もあの時代の副産物ですが、それよりもトレース上重要だったのは針の実効質量の軽減(1mg以下)と軽針圧化(2g以下)でした。




JVCがどのタイプのカッターヘッドを採用していたかは不明ですが、JVCの柴田・小野両名による日本特開S53-46002(日本特許1234669)にT字型カッターヘッドとその改良型が示されています。左がオルトフォンの原型。右がフレキシブルジョイントを省略した改良型ですがサスペンションスプリング(10)の他にダンパー(15)とテンションワイヤー(16)によって補強し、音溝を研削する時生じる図の17の方向のタワミに対し剛性を高めている。海外のサイトで見たJVC cutterhead model CH-90はその概観を見るとロッキングブリッジを使ったT字型で"originally developed for half speed mastering"と説明がありました。JVCの大脇氏による日本特開S52-62402(JPS5262402:cutterhead)においても、駆動コイル側から見たノイマン型の問題点を指摘しつつ、マルチチャンネル(角度変調4チャンネル)用途にオルトフォン型を改良したものを提示しましたがこちらの方は特許取得までに至らなかった。



ノイマンとオルトフォンのカッタヘッド駆動点と駆動方向の違いについてJVCの技師達による「レコードとレコードプレーヤ」(1979)P.205に下図が示され、そのいずれかを基準としてカートリッジを設計した場合、「クロストークが違ってきますが、両者の差のみによるクロストークを計算すると、−30dB以下なのでまず実害はありません」と述べられさらに誤差角度とクロストークの表も示しています。Westrexのステレオカッターも構造的にはノイマンタイプに属するようです(Westrexの方が先なのでWestrexタイプと呼ぶべきか)。この図により以前からの私の疑念がいくつか氷解しました。表は山本氏のカートリッジがr左右に傾いて取り付けられた場合のクロストークの計算式20log(tan
r)と完全に合致します。現在一般的なステレオカートリッジの発電機構及び感度は以下のOrtofon
typeの駆動方向(鉛直方向ではなくtangent to VTA line or cantilever)に順じている。Westrex/Neumannに準じたカートリッジはWestrex
10A/Neumann DST/Ikeda等少数で、これらは針の上又は針の近くに発電機構がある。ステレオ最初期のNeumann
DSTとWestrex10AはそのVTAが無視できる程小さいのも特記すべき特徴です。
歴史的な経緯:ステレオ盤は最初L/H(0/90)方式で試みられ次に45/45方式が標準化したが、その際VMA/VTAは考慮されなかった(カッター駆動面は垂直直交座標平面)。1960年代初めになってVMA/VTAを規定する必要に迫られた時にも録音側の従来の垂直直交座標平面と再生側の傾き平面の違いについて明記されなかった。知っている人は知っているのだろうが大勢は無視:ここまで書いてきてサテンの塚本さんがJVCよりも早くからこの問題を指摘していたのを思い出しました。ここでも録音側と再生側は十分な調整がなされてこなかった矛盾を感じます。アナログ盤には後付の変更と矛盾が多すぎる!十分に規格を練ってから用意ドンで始まったCDなどデジタルの場合はサンプリング数の増加を適宜変更すればよいので非常に合理的に思えます。アナログレコードは音溝もその歴史も<long
and winding road>だとつくづく感じます。Neumannのカッターが真上からの駆動に拘る理由は音溝を掘る時の抵抗に対応するためのようで、前に述べたTELDECのDMMでも同様に真上からカッターを駆動しています。

| Angle (degrees) | Crosstalk (dB) |
| 10 | 15.2 |
| 5 | 21.2 |
| 2 | 29.1 |
| 1 | 35.2 |
| 0.5 | 41.2 |
私の検算:直角二等辺三角形が20度傾いた時、又は正面からではなく20度斜めから見た時
When an
isosceles right triangle is inclined 20 degrees, its height is reduced to 94 %
Included (apex) angle of triangle 93.56 degrees [=2*atan(1/0.94)]
Difference to 45 degrees 1.78 degrees [=93.56/2-45]. 20log(tan
1.78degree)=-30.15dB
私の提案(妄想):Westrex/Neumannのカッター駆動コイル方向が互いに90度で交差ではなく86.44度で交差するように変更すれば20度のVTAを持つカートリッジでも理論的には完全なセパレーションが得られるはずです。頂角86.44度の二等辺三角形が20度傾くと90度になるのですが。。。EQUATION
to get reformed apex angle = 2*DEGREES(ATAN(COS(VTA)))


ベル研究所のYenzerが発明したものは以下のような物でした。これはWestrex Model 2Aで後のModel 2B (since 1954)と同等と思われます。


Westrex Model 2Aについては1949年9月Audio Engineeringに"Lateral Feedback Disc Recorder"の題名でYenzer氏自身による解説があります。フィードバックコイル端子で実測した周波数特性カーブがAとB。Buchmann-Meyerの光帯法で測定したカーブがC。高域端の誤差はhingeの影響が大きいとしています。図6は78回転SP(88 grooves per inch≒35本/cm)の線速度25inch/s〔溝の半径3インチに相当する]条件下で録音できる最大速度振幅。6図はあくまでも極限値であって録音上は歪や録音ソースの内容などを考慮して録音レベルを調整すべきとしている。


後にDavisが針交換の妨げにならないヒーター機構を発明しWestrexに譲渡しています。因みに、このDavis氏はWESTREXステレオカートリッジの基本構造を発明しましたが、WESTREXは1956年Litton Systems傘下になっていたため、その特許はLitton Systemsに委譲されています。モデムで有名なLucent Technologiesの歴史を読むと、米国の独禁法によりAT&T及びWestern Electricは強制的に産業解体・分割されたらしい:"In 1956, AT&T signed a consent decree to settle a 1949 antitrust suit brought by the U.S. Department of Justice. The decree limited Western Electric to manufacturing equipment for the Bell System and contract work for the government, so Western quickly sold its small non-telephone subsidiary Westrex to Litton Industries and its holdings in Northern Electric (now known as Nortel Networks) to the public."

Western ElectricのHarrison氏などが1920年代後半に一貫したシステムとして電気録音再生方法を確立しました。実は電気録音はもう少し早くからあったのですが、「再生側が電気式になったのはかなり後になってからで、ラジオ受信機が発達した1920年代以後でした。再生にも電気式ピックアップ、真空管増幅器、スピーカーが用いられるようになり、全電気式レコード再生機いわゆる電蓄が出現しました」と山本氏の本の26ページに述べられています。その頃の代表的なカッターヘッド並びにピックアップは以下のような(VRやMIに属する)バランスドアマチュア式だったそうです。どこの誰が発明したというよりも世界中に似た方式がほぼ同時に発生したと見るべきでしょう(仏Gaumont社、RCA、GEなどー磁気回路の優劣は1927年Kelloggによって理論的に解明されたそうですーPICKUP DESIGNS参照)。それ以後の特許は主にサスペンションやダンピングや交換針の構造についての工夫でした(例えばUSP1591233等)。山本氏(P.174)は「アマチュアが左右に傾くと、マグネットからの磁束がアマチュアを通って流れ、その方向が交番します。この結果、アマチュアの周辺に巻かれているコイルに電圧を誘起するものです」と解説しています。何がバランスしているかというと針が付いたアマチュアが磁界で回転運動(rocking)することを指すようです。後に発展したVR(variable reluctance)は各ポールピースに磁性体のarmatureが近づいたり遠ざかったりする直線運動ーというように考えるとJVCの柴田氏が「Decca MK-Vは水平振動はバランスドアーマチュア形、垂直振動だけがバリレラ形といういわば混血品」と指摘した意味がよく分かります。但しバランスドアーマチュア形の発展形はVRとほぼ区別が付かない。



1931年PHILIPS NVのフランス特許

日本ポリドール蓄音器商会が1932年ドイツに申請した「電磁式ピックアップ及びカッターヘッド」DE604665(1934年ドイツ特許取得)。10のショートコイルはarmatureの動きをダンプする働きがあると記述されています。

American Graphophone Company(後のColumbia
Records)のJones氏による特許図面。Sound-Box にスプーン型の針Cを付け、横記録溝を刻む様子が描かれています。advance pin
Dや空気ノズルE(吸い込みではなく吹付け)も既に示されています。American Graphophone
Companyも創業時にはエジソンと同じcylinder type (Graphophoneはphonographの改良型を標榜する商標)から始まった。欧州のGramophone(レコード盤)に対し米国では長く縦記録のcylinder
typeのPhonographが主流でしたが1909年にはColumbiaもcylinder typeの生産を終了しています。

エジソンのPhonographのUS特許: 主に錫箔(tin foil)に記録する。Fig.1は垂直断面図、Fig.2は上から見た平面図で10 threads per inchのピッチで円筒管Aの端から端まで記録する。同様に支柱P(pillar)にはネジタップ(雌ネジ)が切ってあり回転軸Xと組み合わせて送り装置となる。Bは吹込管でCは後のSound-Boxの原型でそれぞれ振動膜Diaphragmを備える。Cの振動膜FはBの振動膜Gより軽く感度が高い方がよいが必須の条件ではないと述べています。foilを被せた盤の両面を螺旋状にインデント録音するアイデアも併記されています。紙テープを使うMorse Telegraph Registerへの言及もあります。記録方法はindentationに限定しないとしています。Fig.3は紙テープ等の上に糸を置き圧力ローラーで挟み糸をBのdiaphragmと針穴を通して接続することで横記録(diaphragm vibration→糸の左右の動き→圧力ローラー→紙に痕跡を残す→糸を取り除いてIndent痕を再生)。Fig.4は紙の上にペンとインクで縦記録し(インクの厚みの変化が残るので)それをsecond diaphragmで再生する。Fig.3と4はエジソンの無茶ぶりを示すものでしょう:特許文書にはオマケや伏線が書き込まれ、万一他所で同様のものが実現したとき、こっちの方が最初と訴えることができる常套句のようなものです。エジソンは数多くの特許訴訟をおこしていますが、後世の我々にとってエジソンの偉大さは特許ではなく実際に音を記録再生できる機械を創出したことにあります。特許提出(1877年12月15日)に先立ちエジソンの機械工John Kruesiが12月第一週に図面通り試作し一発で成功したそうです。後年1906年談話によると、メリーさんの羊"Mary Had a Little Lamb、etc"と大声でエジソンが吹き込みそれを再生してエジソン自身びっくりした。そしてレコードの歴史が始まりました。
音の記録自体は1856年フランス人Leon Scottのphonoautograph が最初とされ、それは煤を付けたガラス管に記録するもので音の振動が見えるが再生はできない。phonoautographをヒントに1877年4月フランスのCharles Crosが盤にグラファイトを塗り針で螺旋状に記録しフォトエッチングで金属盤に溝を付けそれを再生するpaléophoneを発明したが特許を申請する資金もなくフランス科学アカデミーに送るしかなかった。エジソンはphonoautographは知っていたがpaléophoneの事は知らなかったらしい。特許200521の本文にはImprovement in Phonograph or Speaking Machinesの表題が付いておりギリシャ語(音・記録)からの造語phonographという名称が既に確立していたかのような印象を受けます。不思議なことに1877年10月にフランスの雑誌La Semaine du Clergéで著者Abbé Lenoirがpaléophoneを別名phonographとしている由。エジソンは部分的に特許申請(No.143吹込管、No.128紙を磁石でIndent)していたが全体像として示したのは200521だったからのようです。phonographの発明に先立ってエジソンは電信電話の研究と発明をしておりその過程で吹込管と振動膜に針を付けるSound-Boxのアイデアに至った。エジソンのtin foilは現在家庭で使われているフォイルより数倍厚いものでindentされた筋の間は盛り上がる。
蝋管(wax cylinder)は1880年代初めにVolta研究所のCharles Sumner Tainter等が開発し1885年同研究所が正式に発表してから普及した。スミソニアン博物館にwax cylinder recorder試作モデル(1881年収容)が保存されており、その蝋管録音と付箋には" I am a graphophone and my mother was a phonograph"とある由。Waxの方が柔らかいので後のSound-Boxでは吹込管と拡声ホーンが共用になり振動膜も一つで済むようになったと考えられます。音溝を刻む方法としてindent/impress(打刻)からcut/engrave(彫刻)への移行もその頃から行われたようです。
