
Fig.6 (a) corresponds to GB732226 assigned to COSMOCORD LIMITED (brand name:ACOS) who produced crystal products (microphone/cartridge) and tonearms (their own at first then imported Koshin/Lustre etc from Japan).
Relevant patent for Goldring 500 may be GB754409 (turnover VR pickup).
Wilson's description "dominant place in America is the G.E.C. variable reluctance pickup" is wrong since GEC is UK company not related to GE (General Electric) in USA. It should be amended to read as GE.
MY PERSONAL NOTES:
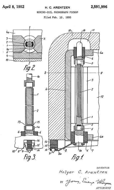
P.G.A.H. Voigt (1901-1981) may be better known for his horn speaker systems (US patent 2615995-1952 etc). Input of PAUL GUSTAVUS ADOLPHUS HELMUTH VOIGT as applicant into Espacenet Patent Search results in listing 31 GB patents. I could not find exact patent for Figure 11 indicated by Wilson while I find one patent GB538058 for another type of MC. This is earlier than monaural MC invented by Arentzen (USP 2591996-1952 resembles Figure 11 having elongated coil and cantilever) and produced as Type A/B/C/AD by Fonofilm/Ortofon commercially in 1950s (LP era). Every country has their own inventors so that it is almost nonsense to question who invents something first. It is a matter: known or unknown world-widely/commercially. Every museum is searching the past products once known but could not always find the actual embodiment or respective item. For example, in camera industry of Japan most early & important examples are missing maybe because only a few were produced experimentally on non-commercial basis. IMO: MC & MM cartridges are rather late bloomers in pickup history. They became commercially popular since 1960s (stereophonic era). The book (1957) by Wilson contains no comment on MM type. Voigt invented also electrostatic type pickup in GB332996-1929 (electric soundbox): the displacement of non-plane diaphragm causes a capacity change citing his earlier patent GB263300 (condenser telephone/microphone). GB538058 was invented in SP era when cantilever was not used due to heavy stylus load. Features: 1. horizontally elongated coil to enhance output efficiently 2. coil is rotating for lateral displacement by groove (Fig.3) 3. rubber rings are used for holding coil as well as damping (not using pivotal bearing) 4. coil of aluminum wire is recommended. Advanced Design for 1940's. In Wireless World 1947-Dec & 1948-Feb/Apr/May BROOKS & BOHM LTD (famous as whisky shipper) advertised High Fidelity S.H.E.F.I. Moving Coil Pickups manufactured by license under Voigt Patent No. 538058 along with step-up transformer and tone-arm. Voigt (German origin) confronted problems in England after the end of World War II so that he sold his business to Lowther (once marketing Lowther-Voigt radiograms. electrograms and loudspeakers around 1948) and moved to Canada. Voigt's pickups were outdated soon because of cantilever-less old design though same generating system was adopted by Leak and Lowther around 1956. Now I think Wilson's explanation and drawing are just corresponding to MC pickup by Arentzen. Wilson's drawing described long coil after Voigt and cantilever separately. BTW: Geoffrey Wilson (son of P. Wilson) and Paul W. Klipsch wrote the obituary of Voigt in AES 1981.


An Advertisement by Voigt Patents Ltd., in Wireless World Dec., 1940

Another Advertisement for Voigt MC Pick-up in Wireless World May 1948

The monaural pickups (type C & type D) by Decca were based on the generating system "BALANCED ARMATURE." The stereophonic cartridge by Decca adopts a mixture of two generating systems: balanced armature for lateral movements AND variable reluctance for vertical movements. The balanced armature is rotating/rocking while the armature of VR system is moving linearly against pole-pieces. See the drawings: Decca MONOPHONIC type C/D with T-shape replaceable stylus assembly by Schwarz shown in the left and STEREOPHONIC type by Bayliff shown in the right. Decca invented also stereophonic pickup of "genuine" variable reluctance type by GB847138 (pdf) though I could not find any embodiment of this type by Decca. Mr. Kellogg called his balanced armature pickup as "rocker-type": "the upper end of armature is rocked to and fro between the flanges of the pole pieces in response to the change in the contour of the groove followed by the needle, thus shifting a part of the flux of the permanent magnet from one to the other of the upper flanges and inducing in a coil an electromotive force determined by the contour of the record" (USP 1783044 assigned to GE). Similar Balanced Armature or Rocker system was utilized world-widely on the early electric recordings - See the end of my Japanese page about cutter.

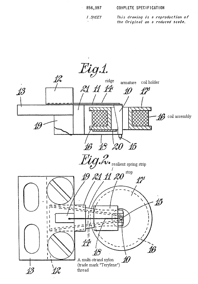
"Tension Thread along cantilever" is found on some of Decca
cartridges. I could not understand the technical meaning of this until reading
the above 5.9:Negative Compliance (Magnetic). One may misunderstand the thread
functions for obtaining then current standard VTA 15 degrees as required for
stereophonic records because Decca stereophonic cartridge is usually furnished
with this tension thread. Maybe this tension thread (stranded nylon) anchored on
the damper block was
invented by Haddy:GB856997(application year
1958) a further development from GB748982(application
year 1953) by Bayliff and Cowie.
My note on the patents: Application
since 1958 onward is generally concerned with 45/45 stereophonic disks since 45/45 system was
adopted world-widely including Decca by the end of 1957. Previous L/V(0/90)
recording system developed by Decca/Teldec etc could be converted to 45/45 system by
the special connection of wirings so that they can produce 45/45 disks without much problem.
In early times until the end of 1957, L/V system was considered most convenient to produce
stereophonic sound by adding vertical component to conventional lateral
component. Decca stereophonic cartridge was just developed in such era and
made compatible immediately to 45/45 system by an internal connection as
indicated in Fig.6 & Fig.7 of Bayliff patent As long as I know L/V type
stereophonic records have not been produced commercially.

I could not read the paper "Journal, A.I.E.E., October, 1927 by Kellogg" which was quoted in Wilson's book (1957). I find following passages (P.161-166) in "Modern Gramophones and Electrical Reproducers" (1929) another monumental audio book by P. Wilson & G.W. Webb. Embodied reproducers adopted Moving Iron or Balanced Armature or Rocker system (GE) -these three names are essentially same.








次のような個人的疑問や興味からです。
モノラル時代(1956年)当時のピックアップの問題点は?
何故VR型は戦後モノラル時代に流行ったのにステレオ時代になって廃れたのか?
DECCA等にみられるカンチレバーに平行に張られたThreadの技術的な背景は何か?
P.Wilsonの1957年の本で"dominant place in America is the G.E.C. variable reluctance pickup"とありますがGECは英国の会社で米国GEとは関係ないので明らかな間違いです。意図的なものかうっかりミスなのかは分かりませんがWilsonは英国の視点から自国の製品(Goldring/Tannoy等)を主に記述しています。1929年本でKellogg(B.T.H)はKellogg(GE)の間違いですーB.T.H.(British Thomson Houston)は米国GEの在英子会社だったが1928年には英国資本になった。
GEやTANNOYなどはステレオ時代にもVRタイプを作りましたが再生帯域が最高域15kHz程度でモノラル時代のものと変わらなかった。モノラルLPの録音限界も当初15kHz程度だったのでモノラルには十分だがステレオ時代には録音限界が20kHまで拡大された。聴感上15kHz以上が音楽に必要かどうかは別の問題(Musical Balance参照)。1960年代Ortofonを紹介する米国雑誌広告で奇妙な表現を見かけました:米国のレコードは15kHz程度までしか録音されていないのでSPUのテストにはオルトフォン製のレコードを使った云々 初期Westrexステレオカッターを使ったレコードはその程度なのですが、WE神話の信奉者は信じようとしません。山本氏の本でウェストレックス3Dカッタの周波数特性図を見ると15kHzの共振特性・限界特性が示されています。周波数レコードDecca LXT2695(Sept. 1952)も15kHzまででその15kHz(12.5dB)は14kHz(13.1dB)よりもレベルが低くほぼ15kHzの録音限界を示しています。BS=IEC=RIAAイコライザーカーブに則った周波数レコードDecca LXT5346(1957年頃)では18kHzまで録音されているそうです。後期のGEのVR IIはカタログ上20kHzまで再生帯域が伸びていますがその音質はどうだったのでしょう(針圧が4gでトレース可能といいますがコンプライアンス1.7*10^(-6)は現在の指標の十分の一です)。
VRタイプのサスペンション(ゴムのdamping block)は後代のMCやMM型のサスペンションとかなり異なります。Tannoyのステレオピックアップ(VARI-TWIN)の基本構造は1958年申請のGB920441に示されており、その特徴はカンチレバー(armature)が各ポールビースに対して45度の位置を維持するために特殊なdamping blockが設置されていることです。Deccaに採用されたThreadの働きは共振をダンプするダンパーというよりも針の偏移を制限するのが主眼だったようです。WilsonはNegative Complianceの視点で解説していますー磁性体のarmatureが磁石の極に引き寄せられ戻ってこなくなる不具合を糸の張力によって防いでいるわけです。針圧とも関係しているようでステレオ時代にサスペンションが比較的単純化されると同時に軽針圧が実現したように感じます。バリレラ系統の歴史:SP時代の針はその重針圧のためカンチレバー(水平片持ち梁)を採用していない(Balanced Armature/Rocker System)→LP時代に軽針圧が必要になりカンチレバー構造が出来た(Variable Reluctance system)。一方でこれらの古い磁気回路はステレオ時代に見捨てられ、いろいろなタイプのMIやさらにはMMに発展した。「このような意味ではIM形、MI形、MM形のすべてが局部的に見ればレラクタンス(磁気抵抗)が変わりますから、バリレラの一種だといえます」と「レコードとレコード・プレーヤ」第5章の執筆者の柴田憲男さんは述べています。つまるところVRもMIもMMもその時代流行のapplicationに過ぎず、ファラデーさん発見の電磁誘導の法則に基づいているんですね。
"moving iron, or variable reluctance pickups as they are now called"とWilsonが言うように、呼称には流行り廃れがあります。Bendix Aviation CorporationのUSP2483196(1947年申請)でmagnetic phonograph pickups of the type employing the modulated flux gap or variable reluctance principleとの言及がありますが、カンチレバーを持たないタイプでした。米国特許の良いところは古い関連文書を記載していることでそれにより進歩の歴史(Rocker→VR)も参照出来ます。GEが1948年にPHONOGRAPH PICKUP HAVING A CANTILEVER INDEXING ARMの表題で申請したUSP2554208(VRタイプのピックアップ)がCantileverと明記した古い例です。そして1960年代末にEmpireのSharperによるUSP3469040(Variable Reluctance Phonograph Cartridge)と松下電器の伊賀氏によるUSP3526728(Variable Reluctance Type Pickup Cartridge)及び3515817(Variable Reluctance Type Pickup Utilizing Anisotropic Pole Pieces)が恐らく最後のものですが一般的にはステレオのMI型に違いありません。米国特許番号データは私のエクセルファイルにまとめられており、Ctrl+Fで用語検索もできますので遊んでみてください。
バリレラ型発電機構:GE/Tannoy/Goldringのは棒磁石が縦に置かれており、二つのポールピースは同じ極になります(磁束は2個のコア内に同じ方向に分かれて流れています)。ポ−ルピース間に置かれた磁性体のカンチレバー(armature)が横運動した時、一方のポールピースに近づけば他方のポールピースからは遠ざかり、一方のコアに流れる磁束が増え他方は減ります(push-pull)。磁束の方向が変わるのではなく磁束流量が左右のコア内でシーソーのように変化します。左右コイルの巻き方向とその接続方法についてhum-cancelling wound coilsとかhum-buckingとかの言及がありますが判然としません。MMカートリッジのコイル間hum-cancellingの仕組みは明快です(コアに流入する雑音磁束の変化に抵抗する方向にコイルの電流が変化し[レンツの法則]、コイルの接続が逆方向なのでキャンセルされる)。VRはハムキャンセルを考えると二つのコイルは同じ巻き方向で上又は下を結び端を出力ターミナルに接続しているようだ。レンツの法則がMM/MI系発電の直接的な原理といって差し支えない。山本氏の本(1971年)でも「Nターンのコイルに交さしている磁束Φがdt時間にdΦだけ変化しますと、 E=−N(dΦ/dt) だけの電圧が誘起されます。この式の−符号は、誘起された電圧が流す電流の作る磁界が磁束変化を抑えるように作用する極性に電圧が誘起されることを示しています」と解説されています。ソレノイド・コイル内磁束が増えると減るでは誘起される電流の方向が逆になるのですね。下図はGEのバリレラのモデル化(私案)。私はヨークに惑わされて磁気回路がよく分からなかったのですが、GEのヨークは磁束を効率よく集めるためのもので必須ではありませんーその証拠にターンオーバー式Goldring 500では左右のコアが分断されています(その代わりにラミネート・コアが採用されています)。
Bachmanが1945年12月に申請したUSP2511663がGEのカンチレバー(水平片持ち梁)を持ったVRタイプの嚆矢です。SP時代としては異例の軽針圧14グラム、アーム落下時の衝撃から針を保護するためポールピースが長く針の横にまで伸びているなど、当時の事情が偲ばれます。磁石下部とコアは磁性体のarmatureを通してmagnetic pathが出来る。磁石上部とコア上部を磁性体で繋ぐ必要はないと記述しています。コイルは下(Fig.3の19)で結ばれ上端をそれぞれ出力ターミナルに接続している。1946年春BachmanはGEを去りColumbia Recordsの技術部長に就任しそのLPプロジェクトに参画した(つまりGEのVRはSP時代に端を発する)。モノラルLPの時代になってもVRカートリッジの基本構造は余り変わらないがPeterson/Dally/Miner/Pritchard等により主にダンパーなど針周辺の改良がGEのVRカートリッジに対して行われた。
