USP2310049(WEのAlbersheim氏発明)では横記録のピンチエフェクトの障害を軽減するために以下のような溝が提案されています。音溝の最大傾斜θにおいて実効溝幅がplain groove top width x cosθと狭くなりピンチエフェクトが発生するのですが、溝形を放射型(exponential)にすることで再生針の動きは図4/5のようになる。針がピンチエフェクトにより持ち上がっても溝の上部に接触(半周接触)することでSP時代の重針圧下(30g以上)でもレコード溝が磨耗しにくいという事が主眼でピンチエフェクトそのものを軽減するアイデアではない。SP時代の全周接触の再生針形状とは違い、軽針圧(6g以下)のLP時代の壁の中間部に2点接触する丸針は発想の原点そのものが違っているのです。LP時代のLine Contact(vertical oblong contacts)は横断面が●ではなく扁平な長楕円なのでピンチエフェクトから逃れられると考えられています。何故普通のV字溝に対して全周接触型SP針がピンチエフェクトによって溝を傷めやすいかを下に図解してみました。ピンチエフェクトによって針が持ち上げられるだけでなく、溝の上端部に点接触してしまうので音溝を削ってしまうのでした。現在の丸針は点接触ですが溝の中腹に接触しピンチエフェクトにより多少持ち上がっても溝の上端部には達しないように設計されています(溝幅と丸針の曲率との関係)。


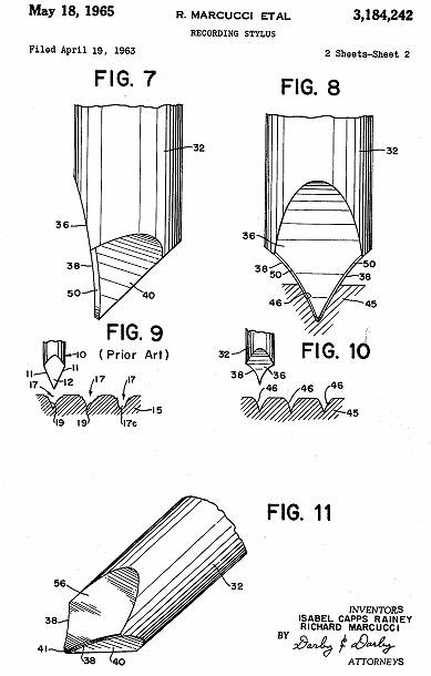
USP3184242ではカッテングする時、音溝間の上部に発生しがちなHornを軽減するため上記と似た録音カッター針が提案されています。

上記と同様の趣旨のものは電気録音以前にも見受けられます。
In all of the record grooves with which I am familiar the walls of the groove terminate at the plane of the record surface in sharp angles and form sharp and consequently thin fragile edges. The sharp thin edges are, because of the nature of the material of which records are composed, more or less ragged or what is know in a cutting tools as "wire edged," and rough edges produce false vibrations even upon the first use of the record. The fact that the edges of the grooves are rugged causes them to crumble and disintegrate by reason of the friction of the reproducing stylus against them and in a comparatively short time the edges are broken down and the effect of false vibrations induced by them is greatly increased. The rough edges of the groove also act as grinding surfaces against which the stylus is held and consequently it is soon worm to such an extent that shoulders are formed, which shoulders rest upon the surface of the disk and further tend to produce discordant sounds. This grinding action on the stylus or needle is so rapid that in most cases, before the needle reaches the end of the record groove on its first reproduction the same is clearly noticeable and the nearer to the end of the groove the needle approaches the greater the wear on the needle and the record and the more apparent becomes the distortion of the sound reproduction

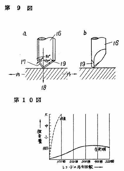
日本特開昭S51-123106(特許1194315)では針と音溝間の摩擦力がアームに働きインサイドフォースが発生し、それをキャンセルするためインサイドフォースキャンセラー装置などがあるが、「この装置は、アームが内側に進もうとする力を打ち消すだけであり、その形状が千変万化する音溝に対応して、つねに2つの音溝壁に定められた値、例えば、2x1/√2(g)の等価針圧をかけつづける効果を果たしていない」と述べ、音溝の方を工夫することを提案しました。リニアトラック機が普及する前夜、テクニクスの技師の一人がこんなことを考えていたのですね。同人による同時期申請され特許となった日本特許882816/882817/0946980/1051445では再生装置側のカートリッジやプレーヤをあらかじめ傾けて取り付けることで再生時の実効針圧を左右の音壁に対して等分する案が提示されていました。第1図はインサイドフォースキャンセラーをかけ過ぎたときの図ではなく、音溝の進行の力で曲がるというのです。「再生時に、再生針とその支持系統のカートリッジ、ヘッドシェル、アーム軸、カウンターウエイト等合計約300gの質量を持つ支持系統を、水平の方向に、レコードなど録音盤の内側方向へ移動するために必要な力が、前記したこととは無関係に、音溝壁から常時再生針を介して上記支持系統にかかっているわけである。<中略>観測結果により、針先1’が音溝壁2’により、レコードの内側に押されて、レコード盤3に対して垂直にたたず、再生針1が、ほぼ8度から12度レコード外側に傾いていることが確かめられた。」と述べられています。下の発明の第10図で示されるような結果は本当なのでしょうかー私は怪しんでいます。水平感度の悪いアームを使用したと勘ぐられます。それでテクニクスは後にボールベアリングではなくジンバルサポート(水平垂直感度共に10mg以下)を採用することになったのか?アームの総質量は300gでも針先から見た等価質量は普通10分の1以下です。アームは回転運動だが微小角なので並進運動に近似すると、等価質量30g程度のピックアップを1.8秒の間に1mm移動させる力は平均1.9mgに過ぎません(1.8秒で1回転するLPの通常の音溝ピッチ100lines/cmを音溝進行に換算すると55micron/second程度)。ここまで書いてきて疑問が浮かびました:軸受けに摩擦が無ければ約2mgで動く筈のアームが実際には摩擦がありその水平初動感度が100mg以上あったら何が起こるか?溝は螺子のように力強く進みますが、アームは同時には回転し始めないのです。すると一時的にですが第1図に似た状態が出現します。溝の螺子の力(spiral tracing force)が針先に累積的に働いて100mg以上になり、カートリッジのダンパーを偏移させその反発力がアームの折々の摩擦抵抗力を超えたとき初めてアームは回転し始める。レコードをかけるたびに音が変わる理由の一つは、この蓄積・反発によりアームが動く時点が折々変わりカートリッジからの音も変わるからではないかー微視的な仮説です。又、別の疑問も浮かびました:第1図ではカンチレバーが偏移するのではなく針先が回転している=カンチレバーも回転する?これは一時的な状態ではなく時間要素を入れた力積を表現しているのではないか?長い使用時間の後、針先はインサイドフォースが大きければ外側へ、アウトサイドフォースが大きければ図のように内側に回転し溝から針を上げてもその状態が固定されてしまうことがある。アームの軸受けだけでなくカートリッジのダンパーの材質及び構造の問題ともいえます。これらを考えるとコンプライアンスの小さいカートリッジの方が扱いやすい(問題が少ない)と感じます。そういえばstatic compliance 50cuを超えるカートリッジが廃れた理由の一つはその能書きにもかかわらず、当時軽針圧でまともにトレースするlow mass armがなかった。1970年以降カートリッジを含めてピックアップ全体を軽量化する理論の優位に基づいて新しいアーム製品も開発されたのですが、ハイコンプライアンスカートリッジの再登場とはならなかった。


一方日本コロムビアの技師の一人は日本特開昭S56-71805でやはり音溝の形を工夫することを提案しました。送りピッチが一定の場合音溝間のlandが広くなるので前後溝間のクロストーク(ゴースト)を改善するわけですが、その形は一昔前のSP溝に似たU字溝でAlbersheimの提案した溝とは逆の形をしています。又この形だと溝の上部と平面が鋭角になるのでHornが発生しやすい。何か全てのアイデアが一巡してしまった感があります。

エジソン(1847-1931)はCylinderに縦振幅溝を刻む方法を確立したことで有名ですが、演奏時間を延ばすFine Pitch Recordの実現を試行したことも忘れられません。同じ面積に音溝を刻む時、縦振幅溝の方が横振幅溝より多くの溝を刻めたというのですが、その溝は現在のV字溝ではなくU字溝でした。縦溝でも溝幅一定のU字溝でなければ偏移により横にも溝が広がるので縦横の違いはないはずです。1910年代に技術者Edisonと化学者Alysworthによって試みられた通称”Edison Diamond Disc" のレコード盤の材質はシェラックではなくフェノール樹脂を使ったものでした(シェラックではその粒子が大きくFine Pitchには適さなかった:粒度についてはSP再生実験記参照)。フェノール樹脂は硬いので鉄針などでは磨耗が早いのでダイヤモンド針の使用が要求され、マスター音源から複写しやすいことからdiscを採用したのでDiamond Discという大層な商品名を付けた。普通のシェラック SP盤(横記録溝)は音溝40本/cm(100 threads/inch)程度の記録密度でほぼ変わらなかったようですが、80rpmのEdison Diamond discでは150 threads/inchまで記録密度を上げていました。英語版のWikipediaによると「80rpmのEdison Disc Recordは1910年代から1920年代初めまでは結構な売り上げがあったがその後市場から姿を消し、1926年にさらに記録密度を上げ(450 threads/inch)再登場を試みたが商業的には成功しなかったー音質は優れていたが溝壁が壊れやすく、音量もほかのSP盤の40%程度しかなかった」とありますーSound-Boxによる機械的な再生では音量の減少は致命的でした。ついに1929年10月Thomas A. Edison, Incorporatedはレコード事業から撤退したそうです。
次の発明はThomas A. Edison, Incorporatedに譲渡された特許で、縦記録溝の底をトレースする針の製作に関するものです。Fig.4/5/8は針を加工する研磨盤(lapping disc)です。Fig.9/10は発明の針でレコードをトレースしている状態を示しています。この特許では従来のシェラック盤の4.5倍(450 threads/inch)の記録密度が示されており、その密度はfine groove(塩ビ盤LP/EP)の平均密度150〜300 threads/inchを超えます。次の記述があります:"For example, in the case of "hill and dale" record of this character having 450 threads to the radial inch, the maximum depth of the record groove is about 0.0005 inch, maximum width thereof is about 0.002 inch and the groove in the masters of such records is cut with a stylus having a circular cutting edge which is about 0.003 inch in diameter." 幅0.002インチ(約51μM)は現在の無音溝に匹敵しますが、深さが最大で0.0005インチ(約13μM)とは異常に浅い!つまり最大振幅を極小(13/2≒6ミクロン以下)に設定することで記録密度を上げている。こんな溝は当時の一般的な針ではトレース不能だった。そこで再生用にこのような特殊形状針が発明されたのですが実際に成功したとは到底思えません。マイクロ・グルーブ/低速/塩ビのLPが実現する前にも多くの試行と失敗があった。
当時の一般的な縦溝記録は「最小pitch 1/150 inch (150 threads per radial inch)でトレースする溝底は円弧状で、最大深さは0.0017''(43ミクロン)程度で最大幅は0.0066''(167ミクロン)程度、スプーン型のカッター針先端は直径0.008''(224ミクロン)程度、最適な再生針先端直径0.0075''(191ミクロン)程度で底に丸みを持つ円錐形」と記されています。

U字溝 vs. V字溝:U字溝はSP時代には縦振幅溝だけでなく横振幅溝でも一般的でした。サウンドボックスなど機械的再生方式では針圧が80〜250g
(平均150g)もあり針が広い接触面積をトレースする必要がありました。1930年頃には電気録音が確立する一方、電気再生の普及は後にアンプ内蔵のラジオが普及してからと言われています。V溝における軽針圧(6g以下)の丸針の点接触が推奨されたのは比較的新しく戦後LPが誕生してからとされています。このあたりの背景は別ページの末尾を参照ください。横記録の方が一般化したわけは<縦記録には振幅に制限がある>から(アルミ板に塗るラッカーの厚み:150〜180micron程度ーそれを超えて厚塗りすると弾性変形により忠実度が保てない)。特に電気録音により記録振幅が拡大した時、横振幅溝の方が圧倒的に有利だった。



最後の写真は1956年当時のモノラルLPの溝と針です。ステレオLPは1958年からです。