閑人さんのBBSで2002年3月末実験報告された超音波洗浄機を私なりに試作してみました。

12インチレコード用超音波洗浄機の試作:
1. キャビティー効果は霧化ユニットでは少ないと考え、加工性の良い粘着紙付きアクリル板を使う(20kHz位ではアルミ板でもキャビティー効果で痛むらしい)。正面板32x17.5x0.3cm(裏面板は高さ19cmにし後々の水きりスポンジや動力取り付けの余地を残す)、側板4x19x0.3cm、左右の内部側板4x16x0.3cm、底板は32x8x0.3cmにする。レコードを2枚同時に処理することも考慮し内幅は4cmとした(うまい具合にユニットのホーン部分の直径も4cm)。水槽内にネジ穴を開けない構造にするため、超音波発生ユニットを保持するのにガスケットを挟み交換可能にする。ガスケットは約0.5mm厚の梱包用発泡シートにした。ユニットのフランジが狭いので黒いアクリル板7x7x0.3cmに穴をあけエポキシで接着しフランジを広げてみた。熱帯魚アクリル水槽自作で以前経験したことは3mm板から割り出す時、割った断面の直角を出すよう注意することだ(小さな歪みはベランダのコンクリート床で擦って調整する)。当然穴あけ加工は部材を割り出した後にする。粘着紙は加工した後で剥がす。直角三角形2辺5x5mmのアクリル棒で縁を補強するので水漏れを防げる。アクリル用接着剤(アクリサンデー)は流し込むように溶着させる(溶着できるのがガラス素材より優れたところ)。カットはオルファP.Cutterを使った(余り深く切り掻くと断面の直角がでないので注意する)。アクリル材料(55x65x0.3cm1枚と三角棒1m2本)は総額3000円程度。
2. 秋月からAC48Vの超音波霧化ユニット2個入手し並列使用する(とりあえず同相入力)。将来、周波数の違うユニット(例えば40kHzと2MHz)を使うことも考えたい。トランスは東栄のJ241W(24+24V/1A)、出力調整5kΩヴォリュームは東京コスモスのRV24 直径20mm(カーボン皮膜1/2W)、安全のため1Aヒュウズを入れる。
3. 水深が浅いと霧が発生して蒸発量が多くなる恐れがあるので水の量は1Lとする(水深12.5cm、レコード盤水没部9.8cm)。フロートスイッチを設ければ、ユニットの空焚き破壊が防げるが適当な部品が見当たらないため将来の課題とする。
4. 土台には安定のため2kg強の大理石をおごった。大理石が鉄鋸で比較的簡単に切れるのは発見だった。ドリルで下穴をあけネジの頭を下に埋め込みエポキシ接着剤で固めた。保守改造を容易にするため水槽部と電源部は上下切り離せるようにした。
使用:
1. 心配された水柱や盛り上がりや水霧は発生しないか? 蒸発率は? 水温の上昇は?(家庭用濾過器=中空糸膜で濾過した浄水1Lでのテスト):最小出力(コントロール抵抗5kΩ)では高さ5mmの三角錐の水柱が水面上に立つ。最大出力(コントロール端子短絡0Ω)の時は高さ1cmの三角錐の頂上が尖り火山の噴火のように2cm程水滴を噴出する。レコードを洗浄するときはレーベルが濡れるといけないので最小出力が良いようだ。プラスチック定規を入れて調べたら、水柱のところだけ圧力が高く押し戻されるほど水柱の力は予想外に強い。定規を角度を付けて水中に差し込んでも超音波の水柱は突き抜けて立つ。約30分の運転で蒸発は目立たないが、水温は5度ほど上がった。ユニット並びにトランスの温度上昇は少ない。



2. 水だけより洗剤を混ぜた方が良さそうなので素性の分かっている中性洗剤:サラヤの無添加ヤシノミ洗剤(界面活性剤16%=アルキエーテル硫酸エステルナトリウム、脂肪酸アルカノールアミド)を濾過水1Lに対して洗剤2.5cc程加える。片側O-リングを付けたアルミパイプ(外径6mm)にレコードを通し水槽に吊るす。泡立ちはない。
レコードのふき取り洗浄に使う液については イタリアのTNTのページ等に述べられているが、基本は蒸留水1Lにアルコール(イソプロピルやエタノール)1〜1/4Lに中性洗剤少々添加。超音波洗浄で使う場合はアルコール分なしが注意する点(すぐ揮発して引火燃焼の危険大)。イソプロピルアルコール(別名イソプロパノール)は注射前の皮膚消毒に使われているらしい。エタノールとの効果の違いはいずれ試してみる(イソプロパノールはテープデッキのヘッドクリーナ液のような匂いで、エタノールのほうが酒精の名があるように甘い臭いがする)。
3. 効果:これが一番問題だが、本格的製品と比較できない上での暫定的報告。 レコード盤では音でしか効果はわからないので、曇ったプラスチック定規板を出力最大で5分間洗浄してみた。 比較のため秋月の超音波洗浄機DG-1(定格43kHz50W出力)でも同様実験した(DG-1の動作音はチィーだが、試作機は無音)。 結果は:どちらも油膜のような曇りや粘着性のゴミは完全には取れないが、ゴミを浮かせる力はあるようなので、手拭き(ブラシ)洗浄や繰り返し洗浄を行えばよいと思う。DG-1で経験したことだが、初回より2回目が効き目があった(眼鏡のツルに入った黒ずみが取れた)。洗浄液が運転時間経過でより活性化したのかとも思う。純水では水霧が出来ない(?)と聞くが、超音波の働きは興味深い。
問題点: 1. アクリルの耐久性(塩ビより低い耐熱65度まで、耐衝撃?、脆性?)はやはり不安 2. キャビティー効果を利用した本来の洗浄機の周波数(70kHz以下)と違う加湿機用ユニット(おそらく数MHz)での洗浄効果には限界があるかも。また閑人さんの実験で既に指摘されたようにユニットは側面に取り付けたほうが良いか 3. 洗浄後、水切りの必要があるので既存の回転式レコードクリーナー(Nitty-Gritty等)と比べると面倒 4. 洗浄液(浄水や洗剤)の選択は適当か、純水などでの再洗浄は必要か 5. AMラジオで確認しただけだが中波帯の電波漏れの疑いあり
超音波関係参考: 東京超音波技研
試作1号機でレコード洗浄のレポートをするはずが、気になる点があって考察と実験をした。
超音波洗浄機についての考察(もちろん素人考えです):
出力を普通Wで表しているが、これは振動子励振電力であって超音波出力そのものではないのでは? 超音波出力の絶対値を測るのは難しいらしい。
20-50kHzをWoofer振動子、1-3MHzをTweeter振動子とすれば、
1)Woofer振動子と共振槽の関係は、スピーカーユニットとコーンの延長としてのバッフルの関係になる。エネルギー変換は効率が良いが振動が複雑。共振槽の設計に配慮が要る、と思う。共振槽の内部で干渉、定在波が起こっているのは、DG-1の水表面に川のよどみのように小渦が現れては消えるのをみても分かる。 2)Tweeter振動子と振動板の関係は、スピーカーコイルとダイレクトラジエーターの関係。振動板が比較的小さいのでエネルギーの総量は少ない。ただし指向性が強そう。水柱はその証拠か? 3)超音波も音波なので反射による相殺、回り込み、定在波等があり共振槽や中に入れる容器や試料の形状によっても影響を受ける。超音波出力をWであらわし、音圧であらわさないのはこのためか?4)<超音波は全て縦波>音波だから当たり前、ということはLPレコードの音溝に対して直角の方向に振動子を取り付ければTweeter振動子でも効果があるのではないか?
水柱の直径はユニット振動板の直径(2cm)にちかいので、なるだけ水柱が音溝にあたる角度が良いとなると取り付け位置は限られる。又音溝の目に沿って多少なりとも水柱を当てるようにしたい。ところが、定規をいろんな角度で差込み透過反射角度を求める実験をしていた時プラスチック定規に変形発泡が起こった(発泡部位は正しく水柱が当たっていたところ)。


指向性の強い超音波を直射すると、共振発熱で高周波溶接になってしまうようだ。Direct Radiatorで指向性の狭い霧化ユニットで透過共振しない(即ち全反射)最大入射角度は10度程度でした。試作水槽内でレコード盤を傾けても安全なのは分かったが洗浄効果は??。ここで試作が頓挫してしまった。
さて上記のように行き詰まっていると本多電子でランジュバン型振動子が通販されているのを閑人さんから今日(4月4日)教えていただいた。3月末見たときは具体的商品登録は無かったのだから、4月になってページアップしたらしい。まさに機は熟した感じ。値段も50W入力が3500円から7000円程度。45254は25/46kHzで周波数切り替えて爆洗用、45282は28kHz。次は駆動回路とステンレス共振槽を考えるだけ。
ステンレスは弁当箱程度(12x12x5cm位)の大きさでよい。ステンレス槽にランジュバン型振動子を取り付け指向性を広げた上で左右に1組ずつ取り付ける。レコードを入れる部分はアクリルでよいだろう。駆動回路はトラ技をみれば何か参考になるものが見つかるだろう。
ランジュバン型振動子で実験を始める前に面白いことを思いついた。秋月のDG-1を横にしてアクリル水槽に取り付ける。振動槽と外枠プラスチックは弾性剤で簡単にシーリングされているので、エポキシ接着剤で完全に隙間を充填した(振動モードに影響はないようだ)。今度は市販のキャストサイズ32x18cmを正面板に1cm角を側柱にしてアクリル水槽を組み立てた。主な加工はジグソーにプラ用鋸刃をつけ後板をカットしDG-1をエポキシで取り付けただけ。水の容量はレコードを入れた状態で1L強(そのうち共振槽の容量は約700cc)。簡単にレコード専用機(net1.3kg)が出来た。

この製作使用マニュアルをご覧になる方はDG-1Rをクリックしてください。

洗浄液1L入れゆっくり回転しながら150秒ほどで片面を返して又150秒、1枚あたり5分洗浄した。レコード盤がアクリル板に接触すると喫水線が上がってレーベル面まで濡れてしまう。アクリル板に接触しないようガイドを設けたほうが良さそうだ。自然乾燥し再生してみた(化粧用綿パッドなどで水分を早めにふき取った方が溝にゆるく付いてるごみを取るのに良いそうです)。音の鮮度と音圧自体も上がった感じ。レコードのヘリについた指紋や手油も消えている。もちろんキズはそのまま再生されるが、再生後の針先を見てもあとからついたと思われる白い綿くずしか付いていない(汚れたレコードでは普通粘着質の黒っぽい綿が付いている)。縞模様が出ていた内袋は捨てて、新しい内袋に入れ替えた。洗浄効果は振動板有効面積100cm2をフルに使っているので小出力でも効率は良いようだ(出力定格50Wを鵜呑みにすれば0.5W/cm2となり一般の洗浄機200W程度のものより強いとも言える)。自動化するなら側面にフロートスィッチ兼給水口を取り付け、低速ステップモータにゴムローラーを付けリムドライブすれば良い。
超音波で水面上に現れた特徴的な波の姿(この波が共振槽上部に現れるのは興味深い)。

洗浄レポートと耐久テストは<続く>
感想:
ヴォリュームを絞ってもダイナミックさが維持される。
ヴォリュームを上げても騒がしくない。
表面的カビは取れるが、カビの菌糸が中に伸びたものはダメ。カメラのレンズでも同じ。ミミズ走りが残る。
曲間の無音状態の時、故障したのか終わったのかと思ってプレーヤを思わず覗いてしまった(大げさ)。
キャビティ効果で盤が痛むか?は短時間で容易には判断できない。間違ってボンドGクリアーを垂らしてしまったレコード盤がある。慌てて拭いて伸ばしたら5mm(音にして1分)薄く光る膜が残った。この盤を超音波洗浄しても、プチプチが少し減る程度で、完全に剥がすことは出来なかった。がっかりと同時に安心した。
処理したレコードは乾燥を確認するためにも必ず再生してから内袋に入れる。いっぺんに処理しようとは思わない。洗浄のための洗浄はするべきでない(自戒の言葉)。
最近買ったエラート中古盤(1979年日本プレス)、見た目はきれいなのに音が冴えない(深みがないというか音に浸透力が無い)。針先をルーペで見ると白い削りカスのようなものが付着していた。これがスプレーの残滓か剥離剤?超音波洗浄を試す。超音波か洗剤のせいかは分からないがランパルのフルートが生き返った。ハープの再生は意外と難しいが、まあまあ聞ける程度になった。白いカスも完全ではないが少ない(これは複数回トレースしたので超音波の効果とは断言できないが)。
2000倍程度の顕微鏡で処理前後で音溝のサンプリング画像を取れれば良いのだが、超音波洗浄の効果を客観的に実証するのは難しいと思う。
レコードの汚れ(や剥離剤/残滓)に最適な洗浄液やブラシ等の併用については検討の余地があると思う。超音波洗浄ノウハウは電気屋と機械屋と薬屋(即ちメカトロニクス+化学)の複合技術のようなのです。超音波洗浄の前後処理液としてレイカのバランスウォシャーA液・B液を使い分けている人もいる。オーディオテクニカの静電気防止液AT634を後処理液として使う手もありそうだ。
ブラシやふき取りアイテムはインテルの顕微鏡で詳細画像をとってみました:クリーニングに使う用品をご覧ください。
少しは超音波の勉強をしようと思いアースの本で有名な伊藤健一:超音波のはなし(日刊工業新聞社,1982年)を買いました。これは超音波の専門家でない人が書いた本で解説が具体的です。この本の23頁目にはDG-1に似た超音波発振機の回路もありました。この本でρc(ローシー)音響インピーダンスという概念を知りました。
近況と独断的考察:
2秒でレコードを1回転するくらい(奇しくもLPレコードの回転数と同程度)の回転速度にするとレーベル面が濡れないようなので、自動回転はステップモータのDDとし連結に磁石を使うことにした。中心軸が取り外しできる構造です。7mmの軸にレコード盤(穴の規格は7.2mm)をどう取り付けるかの課題が残りました。Oリングなどではうまく回転が伝達されないので、気が引けますがネジで締め付けないとダメか?当初考えていたリムドライブの方が良さそうだが適当な仕組みが思いつかない。後日談:DG-1の重みで後板が引っ張られ歪みが出ていた。DG-1を支える補強板を下に入れて垂直を出したら内径6mmのOリング(角断面)と吸盤でレコードを挟む形で何とか回転することが分かった。レーベル面はコート紙みたいなものが使われていて摩擦係数が少ないので意外とクランプ力が必要だ。そこで熱帯魚の器具に使われている柔らかいゴムの吸盤を使うことにより回転を改善した。回転のリンクはマイナスネジにあうように7mmのパイプに薄板をはめ込んだ。これでいい加減にシャフトを置いても回転力で自然に嵌るので具合が良い。


音響インピーダンスあるいは透過率について:
塩ビ樹脂の比重は1.35-1.55で、音速の数値はポリスチレンの2350m/s程度とすれば音響インピーダンスρcは3.4x10の6乗で水の2倍強になります。図らずもアクリルのρcと同程度です(アクリルターンテーブルはレコードとの相性がいいとか言うのはこの理由?)。すると水からレコードへの透過率は85%。この計算は無限媒質の場合で厚さを考慮に入れていません。本当は温度と波長も関係しているはずです。反射のほかに内部損失(共振)もあります。ただ反対側(正面)の気泡が超音波の圧力?にとりこまれて微振動しているのが観察されます(電源を切ると開放されたように上昇します)。これからすると両面駆動しなくても反対側にも超音波は突き抜けるので私の1面駆動で十分ーこれはいかにも我田引水でしょうか?
水の浸透力:どうも普通の洗剤を使うとレコード盤に跡が残る気がする(後でカビが生えるとも聞いた)。レコード盤をぬらす界面活性剤は自作バキューム式洗浄機のサイトによるとKodak's Kodaflow は残留物があってダメでTriton X-114 かMonolan
2000がよい由。
濡らすー表面張力をなくすーで思い出したのが1号機の霧化ユニット。温度管理も出来そうですし、あれで表面張力の少ない水を作りそれを使うのはどうか。細粒子化(1.6MHzなら4μ)された水の状態がどれだけ長持ちするか分らないがとにかくやってみます。
アイデアだけですが:
A/
シャブシャブ式:下にランジュバン振動子を複数個取付けたドーナツ状の水槽にレコード盤を寝かせて洗浄するのが良さそうだ。超音波水で溝だけ洗浄する。レーベル面への進入は空気の噴射で遮断。片面終われば裏返して洗浄終了。これが出来れば特許です(笑)。
B/ 流水式:ヘア・ドライアーの形をしたもので熱風の換わりに超音波で加速された水を噴出させる。霧化ユニット(1.6MHz程度)で良いはずだ。60cmの熱帯魚標準水槽に水中ポンプを入れ流水を循環できれば経済的。
調べてみると、洗浄槽に超音波振動子を取り付けた山尾靖男氏の「レコード洗浄装置」特開S51-94202がありました。その特徴は:71が超音波振動子で72が発振器、11が回転軸で10がその駆動装置、50が洗浄液給排水装置でコック(52/54)で開閉、40で液面高さを調節、洗浄が終わったら排水し、蓋80で密閉してから減圧ポンプ62を作動させて短時にレコードから洗浄液を蒸発させて乾燥するものでした。

東芝も超音波による「レコード洗浄装置」の特許を申請していました。超音波振動子は底面に配置されています。

バキューム式洗浄機は強力なバキュームの先端にアタッチメントがついています。その製作の工夫が要点のようです。大きく分けると以下の二種に分類されます。
A: テフロン製のノズル又はブラシ付ノズルで余分な水分を取る(Keith MonksやLoricraftの場合は糸をノズルに吸い込ませる形で糸がノズルの下にあり盤を傷つけずに狭いところの水分を吸引する工夫がなされていますー英国のPercy Wilson氏が60年代初めに発表したアイデアに基づいているようです)。1965年にINSTRUMENTS FOR RECORD CLEANINGの題名でAESに寄稿したPercy Wilsonの試作機図面は以下の通り:左は乾式The Record Player Cleaner[レコードプレーヤに搭載可能な小型のdry cleaner]。右が洗浄液(エチルアルコール25%液)を塗った後に水分を吸い取るThe Record Doctor[いろいろな機能を備えた大型wet cleaner]のモップ部。


B: 一端を閉じた塩ビ管などにスリットを設けて吸い取る
後者のほうが簡単でアタッチメント・キットはJeffrey
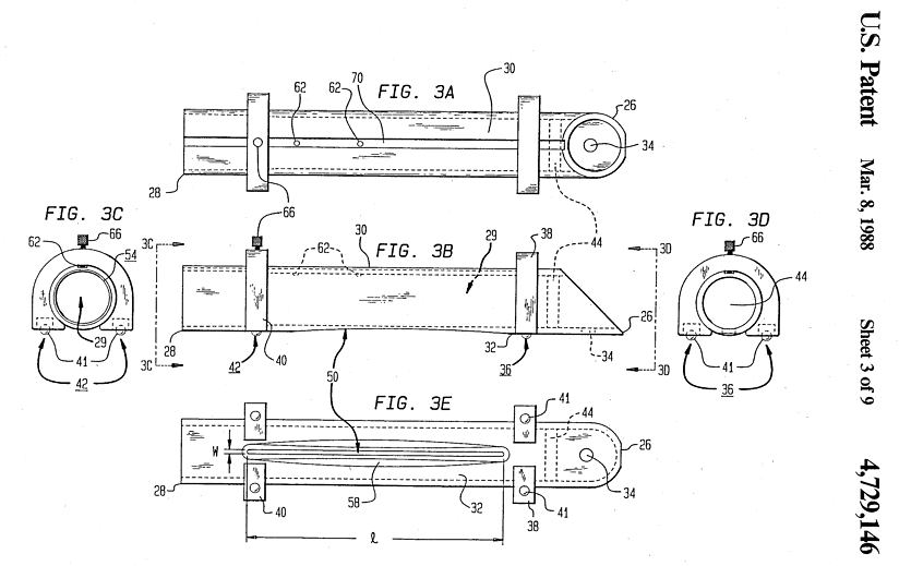
Barr氏が考案し米国特許4,729,146(1988)を取得していますが製品化されたかは不明です。Filed
August 14, 1986ですから2006年8月14日には特許期限が切れるので自由に自作できそうです。溝を痛めないように4個のテフロン半球で支える構造です。スロットは特殊な開口(曲率36インチ=91.44cm)形状をしており、周辺の水分が吸い取りやすい構造になっていますー先行するMikutowskiの特許4,479,281(1986)では単純なスリットだったのを改善した。実際にうまくいくのかは疑問だが海外の自作サイトでスリット+ベルベットで試行しているのを見たことがある。洗浄液についてはUSP4729146では次のように述べられています:”A
concentrated solution of p-tertiary-octylphenoxy polyethyl alcohol is sold under
the mark Kodak Photo-Flow 200 solution and may be diluted in a ratio of
approximately 6 U.S. gallons of water for each four (4) fluid ounce (118 ml)
container.”
界面活性剤と同様に水の表面張力を減らし音溝や塵の中に水が入りやすい親和性能があるようです。

