1983年頃ELECTRO・ACUSTIC(通称ELAC、ドイツ語ではElektro・akustikもしくは英語ではElectro・acousticのはずなのですがどちらも電気音響を意味する一般名詞なので会社名としてあえて特別な表記で会社登録したらしい)のMCタイプのカートリッジにEMC-1というモデルがありました。ELAC社は既に日米のカートリッジ製品に押されていたので日本の何処かのメーカのrebadge・OEMかと思っていました。70年代末に海底資源(石油やガス)探査用の機器を開発する新産業分野のHONEYWELL ELAC NAUTIK GMBHと従来のハイファイ機器の(81年まではELAC Ingenieurtechnik→82以降は)ELAC PHONOSYSTEME GMBHという二つの会社に分かれたようです(ドイツのWIKIPEDIAのサイト http://de.wikipedia.org/wiki/Elac)ー国際化による外国資本の影も見えます。今ではスピーカーシステムで知られていますがレコードの最盛期にはELACはShureと並んでMMタイプカートリッジの雄でした(ELACの技術陣が発明したMMタイプ・ステレオカートリッジの幾つかの特許を米国Shure社に委譲した経緯もありますUS特許3077521−1963など)。
Europe Patent OfficeでEMC-1の簡潔な要約を見ることが出来ます。従来のMCカートリッジのコイルは共通のボビンに巻かれる事が多かったのですが、その構造では各コイルに相互誘導が起こりやすいので、二つのコイルを少し離して十字を構成する工夫でした。Vinyl EngineでこのカートリッジのReview(仏文)を見ることが出来ます。因みに、ダンパーを挟んでコイルを前後に置くMCカートリッジも発明されています:テクダイヤ鰍フS57-26990 (patented as JP1298447)=米国特許4558443(1985)=ClearaudioのDE3036863(Peter Suchyが例によって発明者を詐称している?テクダイヤのが1980年6月13日特許出願でClearaudioのは同年9月30日申請-Suchyに言わせると『子供がシーソーに乗っているのを見てぴんと来た』そうなのでOEMのテクダイヤにアイデアを与えたのは自分だと主張するでしょうね)、それをさらに発展させたClearaudioの最近の特許申請DE102006031842(2007)など一部は製品化もされていますが、松下電器産業の日本特許1329061(特開S55-10236)MC及び1329060(特開S55-10235)MMは製品化されていません。ソ連時代の米国特許4237347(1980)でもダンパーを挟んで磁石を前後に配置するdouble magnet MMが発明されています。 後日談:テクダイヤのΣ−1000は針交換可能なMCで後にオーディオ関連から手を引いたとき、創立間もないドイツのClearaudioに金型ごと売却した経緯があり、Clearaudioの初期MCもSigmaという名称だったそうです。MMタイプのようなsleeveを持ちその中に能動部を収めダブルコイルの出力は4ピンでボディ内部に接続するタイプで斜め前に針アッセンブリを抜くことが出来ました。オーディオテクニカのAT-30E/AT-31Eは真下に抜くタイプの針交換型MCでした。アツデンのGM-1EやパイオニアのPC-5MC等はオーディオテクニカに似た交換方式だったようですが発電機構が異なるのでATのOEM製品ではない。80年代初め、それぞれ独自にMCカートリッジの針交換タイプを開発し特許申請もしていた事実は興味深いーMCボディを発売元に返送する必要が無く、サービスセンターのない海外向けには有利だと考えられたようです。そのためか日本国内では余り話題にならなかった。


この他にもELACは興味深い発明をしています。ドイツ本国では公開までで特許未取得ですが米国特許3925628-1975(=日本特許0845158)を得ています。個々のチャンネル間90度位相が違うマトリックス4chステレオ(=SQ方式におけるHelical変調)再生用カートリッジに関するもののようで、90度磁極がずれた角柱磁石2個の間に円柱磁石を挟んだものでした。チャンネル間90度位相ずれがある信号の音溝を再生すると針先は円運動をすることが知られています。従来の2chステレオでは縦方向の振幅が制限されているので縦横コンプライアンスの違いは比較的問題なかったが、4chステレオ溝の再生には360度均等のコンプライアンスが要求される。円柱磁石とそれを支えるダンパーは均一なコンプライアンスが得られる一方で円柱磁石では角柱磁石と違いpole shoeと磁石間のair gapが広すぎて効果的な発電が出来ない由。4chブームはまもなく終わったので、このタイプのカートリッジは生産されなかったと思います。注記:この特許文書にテクニクス200Cに関連すると思われる米国特許3576955-1971が引用されています。松下電器の特許には次の記述があります:A reinforcing pipe 26 of magnetic conductor is provided to reinforce the coupling between the stylus arm 11 and the magnet 12, and at the same time, to increase equivalently the length of the magnet and consequently increase the magnetic moment of the magnet 12 under vibration. テクニクスとデンオンのMMカートリッジの多くは円柱と言うより円盤磁石(disc-shaped magnetや中心が空洞になったリングマグネット)を採用しましたがShureなどは一貫して角柱磁石を採用しています。円盤の中心をテンションワイヤーなどで引っ張ることでダンパーの圧縮を組み立てる時に微調整できるメリットもある由。この松下の特許に似た特許にはデンオンDL-107に関連する米国特許3627931-1971があります。山本武夫の「レコードプレーヤ」では円盤状マグネットと高導磁材料を用いたタイプとして200Cが紹介され、円盤状マグネットとE字形コアを用いたタイプとしてDL-107が紹介されています。
山本武夫の「レコードプレーヤ」に以下の図(Stylus
sleeveとダンパーとマグネットの構造図)があります。ステレオMMカートリッジのpole-pieceは45度方向=X型に通常4個配置されます。長年使っているうちに針が真下を向かなくなった事を何度か経験しました。このタイプの構造(棒状マグネットとダンパ)のMM型のメリットは針が全方向に動きやすいことにありデメリットは針が前後に動きやすいことです。Shure以外でもテンションワイヤ(suspension
wire)でアーマチュアを留める方法は広く採用されています(sleeveの末端にハンダではなく接着剤などで留めているものもあります)。私が調べた限りではこの針構造を最初に適用したのはShureではなくStanton氏です。カートリッジの項参照。slide-in 交換針USP2917590(1954年申請1959年登録)のモノラルMI型カートリッジの交換針にもアーマチュアを留めるtorsion
wire84の記述があります。Stanton氏が関与しないPickering氏オリジナルはSeeburgのジュークボックスに搭載された通称Blackheadです(USP2543127)。ところでStantonのカートリッジはMI型のほかにMM型も早くから登場しており、Shure社(米国内MM特許)とStanton氏(wire留などの針構造)の間でpatent/idea-barter契約が成立していたのではないか私は勝手な推測をします。Shure
M3Dに関連する米国特許3077522-1963ではspring wireをsleeveの末端ではなく先端(spade)に留める工夫が示されていますが実物はどうなっているのでしょうか?−末端か先端か実物を持っている方はご覧になってください。因みに当時のDyneticシリーズには他にM5D(モノラルLP用)とM6S(SP用でボディはM5Dと共用)/M7D/M8Dなどがありモデルの数字は最大針圧gを意味し推奨針圧は数字の70%程度になっていたようです。さて3077522-1963のspringの記述:"The
spring is composed of a length of a small diameter spring wire, preferably of a
non-magnetic material such as Phosphor bronze or beryllium copper. The
function of the spring is to provide a restoring force to the moving system and
to support the moving system against the static needle force. Additionally,
the spring provides a positive means of locating the moving system within the
spade. It has been found that in the absence of the spring, when the certain
types of elastomers are used for the bearing, the material will take a permanent
set when a force is applied thereto over an extended period of time. This
results in the displacement of the armature from its normal position which
causes distortion of the reproduced sound. When the spring is provided, it will
restore the stylus shank and magnet and armature assembly to its predetermined
position whenever the cartridge is lifted from a record."
此処で特徴的なのは:@Shureはダンパー部をベアリングと呼んでいますAワイヤーの働きに縦方向の針圧に対抗することを記述しています。 縦方向静針圧には上下の弾力が違う異型ダンパー等で対処するのが普通ですがこの特許で特徴的な前配置のspringにより針圧による変形を戻すことが可能になっています。Shureを含む最近のカートリッジの後配置springは前後ズレを防ぐだけで「積極的に静針圧に対抗する働き」は無いと思います。最近では2g以下の軽針圧が普通になったためでしょうか?
パイオニアの実用新案(公告S55-54809)及び米国特許申請(USP3926441:STYLUS
SHOE SUSPENSION ARRANGEMENT)では支点を一点支持とみなせる方法を提示しており、一部の製品に小出しに応用されているらしいがパイオニアのカートリッジは全体的に余り話題にならなかった。PC-770:金属のワイヤーはリンギングするとのことでナイロン6ワイヤを採用/PC-1000II:21本スパイラル線(金糸線構造?)の係留線/PC-550:特殊形状ダンパー云々。


初期のMMカートリッジは勿論モノラルでした。エラック社のアーレンス氏(Dr. phil habil=教授資格取得者)はオルトフォンのA/B/CタイプモノラルMCカートリッジをMMに焼き直したような構造のMMカートリッジ(DE 896121-1953)も発明しておりMM型カートリッジの元祖です。今日のMM型と違い磁石が縦置きになっている理由は、強力な磁石が少なかったので大きく重い磁石を使った時の回転モーメントを小さくするために縦置きになったと私は想像します。縦置きの磁石によるMM型カートリッジはモノラルLP初期には他にも後続例があります。例えば、Bauer氏発明USP3055988 Shure M1/M2カートリッジでは角柱の磁石を縦置きにし、同じくBauer氏発明USP3055988によるによる横方向ダイナミック・ダンピングを採用したプロフェッショナルアームM12/M16に搭載していました。FairchildのNarma発明のUSP3014993(モノラルMM)も同様な構造でした。和蘭のPhilips社も1957年に同様なモノラルピックアップを開発しましたが1953年にアーレンスによるドイツ特許が公開されていたので特許申請しなかった模様。福岡の宮島さん発明のモノラルMCカートリッジはオルトフォンタイプでボビンの軸上部をピンで受け軸下部は固めのダンパーで保持するものでした(特開H11-136718)。Grado氏もオルトフォンタイプのモノラルMCを発明しピン軸受上部をネジで調整できる工夫(USP3018336-1962)をしていますが、製品化されて有名になったものはcross coilsによるステレオカートリッジの方でした(USP3040136-1962)。これらの発明をみると真似ではなく知らず知らずに同じような考えを同時代もしくは過去にも未来にも発明することもある事実に思い至ります。特許権は共有科学の進歩を妨げる面もあり、「本当に良いものは特許などにはならない」(=何故なら真実もしくは自明の事実を特許にすることは出来ない)と感じます。但し一部の人々は自分たちが世界だ、と主張します。コロンブスのアメリカ大陸発見は新大陸を西洋世界に紹介したのであって大陸を発明したわけではないし、先住民がいたのですから発見とはおこがましいことです。異教徒は人間のうちに数えない?

Grado氏は彼のMCからFlux-bridgeへの移行期(1966年頃)に高性能圧電型カートリッジを発明し製品化(A-2,BE,BT/R & BR)していました(コンプライアンスをユーザ側で調整できる特徴がありました)。圧電型カートリッジは今では時代遅れでローファイの発電系(transducer)のように思われていますが、偏移の大きい低域溝でのコンプライアンスに問題があることを除けば高い周波数の記録再生には有効な素材です(ビデオディスクの記録には圧電型カッターが使われたこともありました)。圧電型の問題点は針の偏移と圧電素子の間にゴムなどのエラストマー(図の43)を使わなければならないことです(直結すると素子を破壊する恐れがある上にコンプライアンスが小さくなる)。従ってstylus beam couplerの材質及び形状設計が肝になっていたようです。Sonotone出身の技術者Dieter(1926-2005)は1970年代半ばMicro−Acoustics Model 2002eなどでdirect couplingを実現しましたがやはりPZT破損事故が多かったのか後のUSP4326285-1982ではelastomeric couplingsとdynamic resonance dampersを提示しています。

ステレオ初期、日本コロムビアも圧電形カートリッジを製造していました。通称シガカットと呼ばれているのですが、私はその形からシガーカット(葉巻型)を表現していると誤解していました。圧電板を張り合わせた「bimorph圧電素子を利用した世界初のステレオカートリッジ」だそうで、内外で特許を申請していました。シガカットとは志賀健雄さんが提案した圧電素子の結晶軸にたいしてθ方向性カット(分極)の事を指すようです。圧電素子に働く力の等式cos θ・sinθ=±(cos 2 θ−sin 2θ)が示され、一方の素子が縦と横の振幅の和に反応し、もう一方の素子が縦と横の振幅の差に反応することで45/45方式のステレオに対応する、と説明されています。尚6/7図に示されている部品17(ナイロンフィルムによるサポーター)の働きによって45/45方式に特有の捻りの方向に対する忠実度を高めるとも説明されています。因みに志賀健雄氏が日本音響学界(ASJ)に1961年発表した『ステレオディスクレコードの再生ひずみ』は理論と実証を踏まえたもので、世界的に見てもこの問題についての代表的な文献の一つです。リボン型のステレオカートリッジも発明し(USP3360616-1967)同じく日本コロムビアに特許権を委譲しています。リボン型のモノラルピックアップはスコットランドのD.T.N.Williamson氏が発明し(USP2854529-1958)英国Ferranti社に特許権を委譲しています。リボン型マイクはもっと古くからあったのでその発電原理は既に知られていました。


CBS/Shureなどで働いたB.B. Bauer氏は1977年JAESにて”The High-Fidelity Phonograph Transducer”の題名で以下のように概観しました。圧電型ピックアップ(1930年以来のクリスタル、1950年頃のチタン酸バリウムと1960年頃からのチタン酸ジルコン酸鉛などのセラミック素子)が発明当時は画期的な新商品だったことが窺えます。各時代にそれぞれ流行のHi−Fiがあったことが分かります。1977年当時の課題は”更なるハイコンプライアンス化・針先の保護・アームの有効なダンプ・VTAのコントロール・針と溝との共振の減少”で後の80年代にその幾つかの解決は電子アーム等で試みられましたが90年以降はむしろ逆行したアナログ製品が多いようです。stylus bearing forcesとは針を保持する諸力で、complianceの逆数としてのstiffnessを指していると思います(針先を保持する機構にはcantilever及びdamper及びtension wireなどが使われており、それらが針先の動き易さを左右するので、一般にはコンプライアンスが高い方がstylus bearing forcesが低く且つ軽針圧に対応できる)。
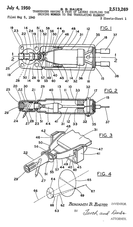
High fidelity began in earnest with the adoption to the phonograph of electrical transduction an amplification. Phonograph pickups had been patented as early as 1918, nevertheless, they do not appear to have become widely used until the late 20s and the early 30s, at which time measurement procedures and improved understanding of stylus-groove relationships provided a basis for high fidelity developments that followed. The renaissance of the phonograph after the depression of the 30s was spearheaded by the development of the Bimorph Rochelle salt crystal element and the invention of the lever-type pickup which allowed the stylus bearing loads to be reduced by half an order of magnitude. Crystal pickups were dominant until the 50s when they began to be displaced by barium titanate and lead zirconium titanate ceramics, with the piezoelectric principle in various forms being successively adapted to the LP record in 1948 and the stereo record in 1958. The renaissance of the magnetic pickup was presaged by the development of an ultralight moving conductor reproducer during the 30s and followed by the wide adoption of the variable reluctance principle after World War II. A quantum drop in stylus bearing forces again occurred with the disc in 1960. fidelity was further improved with the introduction of bi-radial styli for audio-frequency records and of pyramidal and Shibata styli for ultrasonic carrier-type discs. An indispensable pickup element, the pickup arm has undergone considerable improvements with the better understanding of the optimum arm geometry which has resulted in virtual elimination of tracking error inherent in pivoted arms. In a cogent manner, side thrust caused by the stylus-arm friction has been compensated with simple spring or weight mechanisms. For high-fidelity performance it is essential that the arm be properly damped. Two damping arrangements are described and their characteristics analyzed. Pickup equalization circuits are briefly treated. Among the problem areas still in need of improvement are a continuing lowering of stylus bearing forces; protection of stylus against damage; improved arm damping techniques; control of vertical stylus tracking angles; and reduction of stylus/groove resonances.
上の文章で"the invention of the lever-type pickup"は現代のカンチレバーと同じではないようです。Bauer(1913-1979)が発明し(USP2513269) Shure Lever-Type Cartridgesとして1946年頃SP時代販売されていたものはカンチレバーとは言えません。rubber ring(図の30)で落下時の圧力に対応しています。従来使用されてきたelastic coupling material(主にゴム)は劣化しやすいので2本のレバーでクリスタルエレメントに連結する工夫でした(針圧は1オンス=30g前後だが当時としては軽い方だった)。続くLP時代1949年頃のエレメントが縦に置かれた"Vertical Drive" Cartridges (USP2668196)になりました(針圧は5g〜6g)。これらはステレオ時代になってShure社がそのMM型カートリッジで名を馳せる前の時代です。Cantileverは本来【片持ち梁】を意味します。針圧が100g以上あったサウンドボックス時代や針圧が40g以上のラジオ付き電蓄(1940年頃radiogram)時代には片持ちのカンチレバーはありえなかった。Cantileverは硬いシェラックではなく塩ビを主剤とするLPになり6g以下の軽針圧が要求されるようになった時代の産物といえます。

1930年代から補聴器のメーカーとして知られた米国Sonotone社のカートリッジ小史:ピックアップ用セラミック素子(Barium titanate)を開発し、1953年秋ターンオーバー(flip-over)タイプのカートリッジ”TITONE”発売, 翌年2T(TはTitoneの意味)発売、1955年Sonotoneブランドで1P(シングルチップの意味)を発売し以後3T,4T,5T,6T,7T,1960年ステレオタイプの8TA4,1961年9T本体と同時に(Magnetic Typeと同様に扱える低出力プラグイン・イコライザー"Velocitone"を備えた)9TSDV、1962年9TA(Velocitone Mark II)、1966年Velocitone Mark Vまで続いた:Velocitoneはコネクトプラグ内にpassive networkを組み入れイコライズし電磁形ピックアップ(velocity sensitive pickup)と同等にする苦肉の策。オートチェンジャーやジュークボックスに多く採用されていたが電磁形カートリッジの普及とユーザーのハイファイ志向により1960年代後半に退場となった。
各特許文書を読むといろんな工夫や新技術の解説が見つかります。どの工夫にもそれぞれ得失があるようです。例えばカートリッジのコアは発電効率を高める働きがありますがeddy currentによる高域損失や磁気歪も大きくなりやすい。そこで積層コアやpole pieceとyokeをワンピースで構成するトロイダルなどが発明されました。薄い板の積層コアは表皮効果による渦電流損失は少なく出来るが発電効率が落ちてしまううえに積層コアの製造は簡単ではないようです(パーマロイ等を薄板に引き伸ばし磁気的性能を高めるために熱処理したうえで機械的な歪を与えずに積層コアに組み立てる:松下の伊藤氏の米国特許4140886/日本特許0946953参照ー伊藤氏の特許は積層コアではなくワンピース構成のferrite coreに関するものですが1983年頃から上級カートリッジに採用されたHPF=hot pressed ferriteコアにも関係しているようです。Shure V15III(1973年)はパーマロイ積層pole piecesを採用した早い例でしたがyokeに継いでおりseamless coreではありません(channelあたり3個以上の部材で構成)ー1970年代、トロイダル・コアを使わないタイプのMMカートリッジのlaminated pole-pieceとyokeは別々の部品で構成され接続されるのが一般でした。一方1983年頃からTechnicsの下級カートリッジに採用された"all-laminated core"とは以下のSonyと同様にyokeとpole-pieceがjointlessで繋がった板を積層している事を指すと思います。SonyのXL-50は以下のようなワンピース剏^積層コア(2個組み合わせ=チャンネルあたりワンピース)を持ったMMカートリッジでしたが比較的短命に終わりましたー私の経験では針を抜き差しするたびにポールピースのフォイル状の積層部が傷みやすく、積層コアの脆さにあらためて気づかされました。池田勇氏の特許公開S53-4502(特許1032270)「MM型カートリッジ」でも「この種のヨークはミューメタルで作られているため、これに機械的圧力が加えられると、その磁気特性が変化するため、カートリッジの性能が次第に劣化する欠点があった」と報告されています。池田さんのトロイダルコア(実際にはギャップを持つΩ形)の優位性は何でしょう?一般のMMは4個のボビンにコイルを別々に巻きコアに差し込むのですが、Ω形トロイダルの場合はウレタン皮膜線を直接コア(R/L独立した2個のコア)に巻きつけるのでさらに発電効率が良くなりますー実際に池田さんはトロイダル専用巻線機も開発していました。FR-6はtoroidal laminated coreを採用していましたがポールピースの足は特許図面とは異なり捻って取り付けられていますーそれで機械的な歪が発生しないのか不思議ですー組み立てた後に熱処理は不可能だからです。特許図面には示されない製作上の秘密が各メーカにある。

MMカートリッジのポールピース(磁極片)は固定コア側にあるのが通常ですが、動く磁石のほうに磁極片を持たせたカートリッジもJVCの小栗さんによって発明されました。日本特許出願公開S56-143799からの図面。13a及び13bがパーマロイ磁極片で14aと14bがコアピース。コア側に逆Y字型ポールピースを備えた別の日本特開とこの出願を合わせてUSP4524439(1985)として申請したのですが、どちらも針が交換できない構造なので製品化はされなかったようです。

日本ビクターの井上敏也監修「レコードとレコード・プレーヤ」(ラジオ技術社1979)によるカートリッジの分類。MI
(moving iron)とIM(induced magnet)は混乱しやすい名称で、一般に「シールドケースを帰りの磁路に使う」タイプがMIと呼ばれ、ADCタイプに代表されるIMは帰りの磁路がオープン(空間)。Decca
MK-Vは「水平振動はバランスドアーマチュア形、垂直振動だけがバリレラ形といういわば混血品」。発電機構を外観から判断するのは難しい上に、磁気回路の構成と動作も様々なので簡単に分類するのは不適当なようです。「このような意味ではIM形、MI形、MM形のすべてが局部的に見ればレラクタンス(磁気抵抗)が変わりますから、バリレラの一種だといえます」と「レコードとレコード・プレーヤ」第5章の執筆者の柴田憲男さんは述べています(磁界内で磁性体を振動することにより変化する磁気抵抗をコイルでピックアップするマグネチック形は変圧器に例えられる)。それぞれの発電原理は古くから知られたもので、単に時節によりその応用(application)の形態が変わっただけです(MMにおける強力な磁石の小型化、偏移比例形における新しい素子の応用、push-pullがリニアな合理的な磁気回路の構成など)。導線コイルが磁界を切ること(磁束線に直交する振動)により電圧を誘起するMC形・別名ダイナミック形。MCとMMは逆構造(コイルが動くか磁石が動くか)になっているだけではなく、その動作原理が違うことだけは分かります。一部のマニアは単に動作原理の優劣を問題にしますが、真の問題はどれだけpush-pullがリニアな合理的な設計が出来るかであって、動作原理による素性だけで判断するのは間違いだと思います。図式的に示されるほど実際には簡単ではなく、偏移比例形における素子の非直線性や速度比例型における磁気歪など多くの問題が潜んでいます。MC形の磁気回路について興味深い日本特許があります(ダイナベクターの富成博士のflux
damper)ー閉じた磁気回路においてコイルが動くとヨーク内の磁束も変化するのでショートコイルを前部ヨークに設置し安定した磁束を得るというものです(オーディオテクニカ社でもMM型のインピーダンス補正によって平坦な特性を得る特許公開S61−242199があります)。それ以前の1983年頃AUDIO
NOTEの近藤公康氏によるMCカートリッジ IO LIMITED(永久磁石の代わりにエキサイタ=電磁石を使用)も同様の趣旨だと思います。反作用を無視出来るほど少なくするためには、一方を比較できないくらい大きい重量・磁力にするかもしくは磁束を一定にコントロールする弁のようなものが必要だったのでしょうか?効率が良い「閉じた磁気回路」ではなく特定の帰り道がない独立・開放的な贅沢な磁気回路も強力小型磁石の発展によって可能になり、複数の磁石を使用したり磁気歪を生じやすいヨークを省略したMCカートリッジも実際に発明されています。一方で外からの磁力によらず永久磁石が動く純粋なMMタイプの実用化は1950年代後半以降で、小型でも強力な磁石が発明されたことと無縁ではありませんーフェライト磁石(1952年バリウムフェライト・1961年ストロンチウムフェライト)>1970年代サマリウム・コバルト磁石>1983年頃ネオジム系磁石(余談ですが日本ではドイツ語の元素名称が慣習化しているのでネオジムNeodymですがラテン語名もしくは英語圏ではneodymium)。ステレオ用MMタイプを実現した独逸ELACがShureに委譲した米国特許図(機械的共振を抑えるためのシリコンペースト封入が特徴)を見ると笑ってしまうほど大きな角柱磁石が使われています。ShureのM3Dの特許図もご覧ください。この二つの米国特許は連番で同じ日に公開されていることにも注目してください。Shure社最初のMM特許USP3055988はモノラルカートリッジM1/M2に関連したものですがELAC社はそれにも先行しています(DE
896121-1953)。現在MMタイプが大半を占める理由はこれら強力小型磁石の普及のせいです。以前は磁石とカンチレバーの接続方法も問題の一つでしたが、カンチレバーパイプの末端内部に円柱磁石が埋め込まれているものもあります。カンチレバーの一部もしくは全部の磁性材料をarmatureとする過去のMI/IMタイプカートリッジの交換針の入手が一般に困難になりました。
特許資料だけでMMの歴史を見ると:USP2501233(米国人O'Brienが発明し英Deccaに委譲)と2507708(Greenerが発明しPENNSYLVANIA
ELECTRONICS INCに委譲)はどちらも大戦後SP時代の発明でそれ以前のものは固定マグネットから磁力を得るものでそれをマグネチック・ピックアップと呼ぶのが通例でした。HolmanのGB336648(1930年)は早すぎた発明でpermanent
magnetic armature (cobalt steel tube)を提示しましたが実現しなかったようです。一方MC型録音及び再生ヘッドはBlumleinとHolmanが1930年英国で特許申請し1931年米国でUSP2024271/1952357を申請しました。当時彼らは英国Columbia
Graphophone Companyで働いていたようです。 In 1931 Gramophone Company and Columbia
Graphophone Company merged and formed Electric and Musical Industries (EMI). Blumleinは45/45タイプを含むステレオ録音を提示したことで有名ですね。詳しくは私のpatent.xlsやcutter
headの頁をご覧ください。

strain gaugeは「薄い絶縁体上にジグザグ形状にレイアウトされた金属の抵抗体(金属箔)が取り付けられた構造をしており、変形による電気抵抗の変化を読み取る圧力センサー」で1954年頃発明されたそうですが、Bachmanは以下のようにニクロム線などの抵抗線(図の14)を用いたVariable Resistance Phonograph Pickupを発明していましたが製品化されたかは不明です(GEのバリレラ型はBachmanの別の特許2511663-1950に基づいているようです)。昔の黒電話のカーボンマイクを連想します。同時期EchhardtとCaweinもVariable Resistance Phonograph Pickup and System(USP2476848)を発明しました。
東芝の技術陣が1968年AES Conventionで研究発表したTrackability Test by Complex Tones and Biasing Force Effects of Phonograph Pickups では「ハイコンプライアンスカートリッジは針圧とサイドフォースの影響を受けやすく特に速度振幅の大きい溝ではローコンプライアンスのものよりもIM歪が増大することがある」、「軽針圧のハイコンプライアンスカートリッジにおいてIM歪10%以内に収めるには残留side thrustを50mgの範囲にしなければならず、ローコンプライアンスのものより必ずしも有利とはいえない」と報告しています。1969年東芝はPhoto-electric pick-upの特許を英国(GB1281912)とドイツ(DE1941407)に申請しましたが日本側では1968年実用新案申請のみ[針圧とside thrustが測定でき、side thrust信号はアーム基部のモーターに連動させればinside force cancellerにもなる]。ラボの研究陣と実用新案発明者達は異なる。これらの研究と実験の副産物として光電型ピックアップC-100Pが開発されたと考えられます。専用プリアンプSZ-1にはStylus Gauge Meterが付いておりターンテーブルを回した状態で適正針圧(左右壁への適正針圧)を求めることが出来た。この製品では電動inside force cancellerの方は棚上げになっています(キャンセラー装置を使わない状態で適正針圧をメーター表示)。カートリッジは測定器ではないので理論的な研究とは隔たりがあるものです。ICピックアップC-300F同様単発短命に終わりました(1968-1970年頃まで)。


山本氏の本「レコードプレーヤ」(233頁−246頁)に光電型カートリッジの詳細分析があります。光量の変化を電気信号に変換する方法には@光電子放射A光導電効果B光起電力効果の三つの方法がある。東芝のはホトトランジスターのA光導電効果を利用しています。TRIO
SUPREME 20はB光起電力効果を利用した例で太陽電池なのでトランジスターと違いバイアス電源が要らない。山本氏の云う@光電子放射は光によって光電陰極から真空中に放出される電子流を利用する方法で、光電管や撮像管などのカソードがそれですが、カートリッジには応用できそうもないのでAとBについて具体的に述べています。
山本氏は242頁で以下のように述べています。
「太陽電池カートリッジでは、
1)発熱電球に電力を供給しなければならないこと
2)負荷抵抗を小さくしなけばならないこと (最大出力をうるために最適な負荷抵抗は数Ω)
3)片方のチャンネルを逆相にしなければならないこと
4)RIAA再生特性と異なった特性補正回路が必要なこと
5)太陽電池は直流まで再生しますので、ごく低音をカットするハイパスフィルターが必要なこと
などの点から専用のヘッドアンプを付属しております。このヘッドアンプの出力は通常のプリアンプのAUX端子に接続するように設計されています。」
Hall素子を使ったカートリッジの特許(特開S52-2701)を見つけました。日立製作所家電研究所の発明ですが実用化はされなかったようです。
金属に対して張力の変化が磁気的に変化するMAGNETOSTRICTION(磁気歪み現象)を利用したピックアップも発明されています。金属内の磁束の変化をピックアップコイルで感知する。同原理を利用したバリエーション(USP3030454等)も試みられたが実現しなかったようだ。鉄は張力で透磁率が増し、ニッケルは逆に減り圧縮では真逆の結果になる由。

通常のピックアップは音溝の偏移(modulation/undulation)の速度又は振幅に比例して発電するものですが、機械式サウンドボックスは針を介してダイアフラムを直接駆動して音を出します。サウンドボックスでは針→stylus barのupper arm(これの設計が肝)→ダイアフラム→音道→ホーン型拡声器という順番でした。最近MEMSカートリッジのことを知りました。それはカンチレバーの振動を音道を通してエレクトレット・コンデンサー・マイク(ECM)でピックアップするもので2021年特開2021−87212(JP202187212A)になっています[最新のピックアップカートリッジはJP2022011455A]。宮司正之氏によるMEMSカートリッジとデジタル分野の専門家山崎芳男氏による発明で、MEMSカートリッジでピックアップした信号をデジタル処理し「デジタル出力フォノピックアップカートリッジ」とするものです。ECMのため電源が必要ですが、それよりもカンチレバーの固有振動や音道の設計やECMの忠実度はどうなっているのか、周波数レコードなどによるテストは行われていないのに高音質とはこれ如何にと考える無粋な私がいます。音を出してそれをピックアップする多重方式(機械振動/音道の音響/マイク)には無理があり、エコールームやneedle talkを連想します。発電方式による分類では振幅比例型とされていますが私には理解できませんでした。ELP/FINIALのレーザーターンテーブルはレーザーによる距離計ともいえるので振幅比例型になるが出力は速度比例型用にイコライズされているので一般の電磁型フォノ入力に接続できるようだ。
1980年頃ダイヤモンドカンチレバー・カートリッジが市販されて驚いた記憶がある。その技術背景はオグラ宝石精機工業の特許公開S55-142402等による新技術だったようだ。アルミは音速が遅く、ベリリウムは毒性があり、ボロンはタングステン母材の上にC.V.D (chemical vapor deposition)によって作るので純粋なボロンではなく径の大きなものが作れないなどとして、角柱ダイヤモンドがカンチレバーの材料として優れているとして下表が示されていました。副次的な効果としてはMMカートリッジのアルミカンチレバーなどの場合は磁石とカンチレバーの端に磁石をつけるのに接着剤が使われるが、ダイヤモンドカンチレバーの場合にはロウ付接合でき、又サスペンションワイヤーも直接カンチレバーの端にロウ付でき剛性が高まり伝達ロスが無い、とのことでした。比重が3.5で軽いとはいえテーパーが付いた角柱のダイヤモンドブロックでは針先の実効質量はかなり重くなり、短いカンチレバーしか実用化できなかったようです。

松下電器産業は中空ボロンカンチレバー(Boron Cantilever Pipe:結晶質硼素層とアモルファス硼素層の2重層を有する硼素構造材)の製法で日米特許(日本特許1366517)を得ています。母材(substrate)からボロン成型物を引き離す方法が従来は無く、多くの場合ボロン棒がカンチレバーに使われてきたことが記されています。同時期の日本特許公開S56-117301(特許14152252)で「カンチレバー基体として一般的な金属材料などを使用する場合には先端を加圧成型して針先チップ孔を容易にあけることができるのであるが、非弾性率の大きいボロン、セラミック、サファイヤなどの材料をカンチレバー基体として使用する場合には針先孔の孔あけ加工が難しく、しかも工数がかかるという欠点があった」として針の軸頭を切り欠きカンチレバーの先端に接着剤で係合する工夫が示されていました。いち早くオグラ宝石もボロン先端の円周面凸に合わせて針の軸(shank)頭を凹加工する発明をしていました:特開昭54-079936(特許1119342)ー穴を開けずに円錐型チップを接合剤で直接カンチレバーの表面に接合する方法をオグラはパテマックス針と命名していました(特許1064931や実用登録1232728)。

同時期Denonは「カンチレバーのスタイラス取付装置ならびにその取付方法」で特許[S56-71802 & S56-71803]を申請していました。当時使われ始めたボロン・カンチレバーにおいてはカンチレバーに針を挿す穴をレーザー等で開け、穴に針を挿してから接着剤で固定する事が一般に行われていましたが、「接着剤の粘性等の作用により針が上方位置に持ち上げられスタイラスを所定位置に固着出来ない欠点が生じる」と説明されていました。第1図は従来の方法と問題点、第2図が吸引による新工夫、第3図以下は長楕円など特殊形状針の先端に合わせた治具(jig)の概要です。


さらにDenonはボロンパイプの穴あけについて特開昭58-037803(特許1462080)でパイプ表面にマスクを被せてサンドブラストする方法を示しています:「レーザー加工は熱的なショックやストレスの為クラックが入ったり、又、熱の為ホウ素の酸化皮膜が形成され脆化するなどの欠点があった...サンドブラスト加工は寸法精度が悪いのでマスクを被せ...」、第3図の「表面丸み9のため接着剤が隙間によく侵入し接着強度が大となる」 レーザー加工した場合の針先強度(破壊に至る加重)15〜35gに対し本実施例では針先強度50〜70gと改善されたとある。この特許で言及されていないが、第3図を見ると上の吸引法を使わなくとも正しい位置に針が接着されるようだ。この針先強度はJIS S8516-1976(スタイラス)の4.2/7.3項にある「取り付け強度試験」を意識しているようだ。針をレコードに引っ掛ける事故によりカンチレバーの先端が折れたりチップ欠けが生じることがあるが、針抜けだけは経験したことがありません。

個人的見解ですが、素材がいくら優れているからと言って素材に頼りすぎるのは考え物です。製品は各種素材と技術の統合であり、最終的にバランスの取れたものであれば、素材や技術は陳腐なもので構わないと思います。特異な点を強調するセールストークにより購買者が躍らせられる場合が多々あります。私は特殊形状針より丸針が、ボロリと折れやすいボロンカンチレバーより曲がりやすいアルミカンチレバーのほうが音質的には好きです。
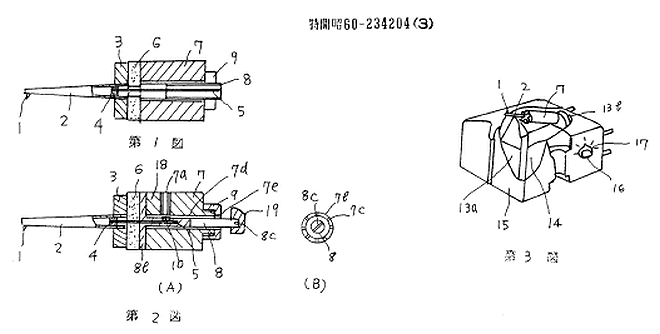
沼津市のミタチ音響製作所(後のミタチ・コーポレーション)はGlanzというブランド名でカートリッジを生産していました。Glanzはドイツ語で『輝き』を意味します。MF型(MMの一種のMoving Flux)が主体で、交換針で有名なThe Astatic CorporationにもOEMでカートリッジAstatic MF200などを供給していました。カートリッジのページでMF形G-7の特殊な支持機構を紹介しましたが、MC型についても興味深い発明をしています。下図は日本特開S55-55698の一部です。1979年発売のMC型GMC-55で同じ構造を実現したかは不明です。空芯もしくは非磁性体巻芯の良いところ(磁気歪が少なく素性が素直)と悪いところ(アーマチュアに磁束を集める磁性体が無いため発電効率が悪い)、磁性体巻芯の良いところ(発電効率が良い)と悪いところ(磁性体がコイルと同じ動きをするのであるから、磁気ギャップ中の直流磁界はその磁性体によって動かされ一種の可動鉄片型と同様な運動で発電するため、磁性体のもつヒステリシス損失その他の影響で、コイルの動きに忠実な出力電圧を得ることが難しい)が指摘されています。この特許申請の目的は内部が空洞の非磁性体巻枠7を採用しつつ、磁束集中用ヨーク10をコイル巻芯に接触させずにボール保持体12に設置するユニークなものでした。ミタチの南薗(ナミゾノと読むらしいが弁理士はミナミゾノと読んで海外出願)さんは別の特許公開S60-58800で特殊なMMカートリッジを発明しており、その説明文を読んでMMカートリッジの分割コイル(片チャンネル通常2個)やコイルとコアをX状に互い違いに配置する理由が誘導ハムを相殺するためにあることが理解できました(Shure/Stantonのステレオカートリッジ:この配置を発案したのはStanton氏でMagnetic Phonograph Pickup with compensating pole piece arrangementの表題で特許USP3146319を取得しています)。2チャンネル並列配置の場合には間に磁気シールドを設置しなければならないことも南薗さんは指摘しています(オーディオテクニカのΩ型トロイダルはチャンネル間にシールド板がある)。

磁気歪についてはJVCの特許公開S56-8999(巻枠に磁性体を使っても磁気ギャップ内の磁束に変化を与えないMCカートリッジ)で指摘されています:『信号出力を大きくするために、第9図および第10図に示すように、ムービングコイルaの巻枠bを磁性体で作ることがしばしばあるが、この場合は第10図に示すように磁束Φが変化して、その磁性体の巻枠bに巻かれているムービングコイルaに起電力が生じるものであり、一種のトランスとみることができる。このため、磁性体のヒステリシスにより磁気歪を発生し、それによって信号出力に歪が発生する恐れがある。』 第6図から第8図までが本発明ですがミタチ音響製作所の特許を意識していたことも分かります。磁性体の巻枠が球形なので回転しても磁束に変化を与えないという趣旨です。この特許申請を実体化した製品は作られなかったようです。


高出力MCカートリッジについて:1983年頃から一部のメーカーから発売されるようになり、最近では低出力のMCカートリッジと数の上では並ぶようになりました。強力磁石・磁気効率の改善・ノイズなど本当は音質的にも良いはずなのですが、私個人の印象では余り音質的に成功したカートリッジは少ないようです(中出力0.5mV程度のものは従来のMCカートリッジの音質の延長線上にある)。テクニクスはMM inputで使えるような高出力のMCカートリッジは発売しませんでしたが、面白い特許申請S61-256898を見つけました。「磁気回路内の部品点数が少なくてすむため、アーマチュアヨークに効率よく磁束を加えることが可能であり、高出力化が計れコスト面で有利である」と述べられています。磁気回路のシミュレーションを従来型と比較しているところが興味深い。
MC型コイルの大半はコイルの一部しか平行磁界に置かれていないので発電効率が大変悪い。この問題を意識して開発されたのがソニーの8字型コイル(コイルの上下を180度捻る)ですが、ほぼ同時期にこの問題に取り組んだ細田信一さんによる日本特許出願公開S52-136603『スパイラル・ムービング・コイル型ピックアップ』があり次のように解説しています:スパイラルコイルの場合その形状に関係なく全体をマグネットの磁気回路に入れて使用すれば、誘導する電流は打ち消しあって出力が取り出せない。従ってスパイラルコイルは、その一部分のみを磁気回路に入れて、残り他の部分は外に出しておくのである。故に円形のスパイラル・コイルの場合は、約3分の1程度しか磁気回路に入らないが、導線がカーブしているためこれより少し能率は低くなる。三角形のスパイラル・コイルの場合は、その一辺を使用し導線は直線なので約3分の1程度の能率を持ち、円形のスパイラルコイルより高い。次に楕円形の場合、片方の長径を入れることが出来るので、能率は2分の1近くなり、三角形のものより高くなる。<中略> まず、本発明は、従来まで磁気回路中に挿入させていたコイルの部分を上方とし、外に出た部分を下方とするならば、上方のコイルにあたる磁力線方向と下方のコイルにあたる磁力線方向とを180度正反対の方向にすれば、誘導電流は打ち消しあうことなく出力が取り出せるというものである。
Sonyはコイルを捻り、細田さんは磁気回路の方を捻ることを考えたんですね。第4図と第5図は従来型の磁気回路。本発明の第7図の1と2が磁石で7がポールピース[エコノミー型]。
本発明の第8図はそれぞれ独立した磁石を配置する[ハイコスト型]。IKEDAの弓状になったコイルやノイマンのDSTの三角コイルの背景も細田さんの説明でよく分かりました。また、図式的に見るほどNS磁束は平行にならず、ギャップが広い場合には放射型になることも事実ですーだからダイナミック・スピーカーの場合でもポールピースの形状と位置の設計は重要だった。

SP時代のVoigtやLP時代のFonofilm/OrtofonのモノラルMC型は平行磁界の中で扁平コイルが平行移動ではなく回転するのでpush-pull状態になり90%近くの発電効率が得られた:Lateral Grooveの水平振幅に対してカンチレバーがないVoigtのは横長コイルが水平軸周りに回転、カンチレバーを用いたFonofilmのは縦長コイルが垂直軸周りに回転。どちらも現在の指標では高出力MCです(SP時代の一般のピックアップ出力は100mV以上で今の指標とは全く違います)。
Voigt(英国に移住したドイツ系の両親から生まれたフォイクトは英国ではどのように発音されていたかは知らない)のSP時代の製品広告は英文のPickup Designsのページをご覧ください。コイルの巻き枠両端をゴムなどで支持及びダンプされる特異な構造で、巻き枠の両端が回転支点と考えると振動系の実効質量は当時としては少なかったことが予想されます。実際の巻き枠については磁性体のコアを使っているかは不明ですが竹材など非磁性体を使うこともProvisional Specificationでは提案されていました。LeakのT-shaped frameもプラスチックらしい。LP時代のLEAK DYNAMIC PICKUPはVoigtのMCカートリッジの後裔もしくは改良型です。H. J. LEAK & CO. LTD.はアンプ以外の周辺機器については外部の設計者・製作者に頼っており、モノラル時代に発売された2種のピックアップシステム(MCカートリッジとアームのセット)はGeorge Wiseの設計だそうです。Leakの初期型Dynamic Pickup(MC)とアームはWireless World 1949年11-12月号に広告が載っておりVoigtの英国特許の許可を得て製作と明記されています。その後期型はWireless World 1956年12月号に広告が載っていました(p.t.は英国1940年-1973年施行purchase taxで法外なものでした)。米国High-Fidelity誌1956年3月号にもLEAKのピックアップについてレビューがありLPで3g、SPで6gの針圧でトレースできるがneedle talkが耳につくのは縦方向のコンプライアンスが少なすぎるためと推測している。

Fonofilm:製品化されたものの振動系実効質量は6mg程度といわれています。図の14(合成ゴム)・15(質量)・16(合成ゴム)は針とカンチレバーの高域共振を抑えるmechanical damper/filterとされ、同時に板状のカンチレバーが捩れるのを防ぎ、さらにはレコードの偏心によって起こる過度の偏移も制限している由。100年近くの電蓄の歴史の中で他の発電形式に比べてMC型ピックアップの実現が遅れた原因は振動系質量(主にコイル)を小さくすることが難しかったからです。6mgは当時としては異例の軽さでした。高SNの増幅器が出来、低出力が問題にならなくなってからMC型が普及した。特に日本のマニアはMC型に目がないようです。

米国ELPA MARKETING INDUSTRIES, INC.はオルトフォン製品やトーレンスや英国セシルワッツのクリーニング用品などの輸入商社でしたが、同じくオルトフォンのアームやカートリッジを販売するESL(Electro-Sonic Laboratories)もありました。輸入したものをESLという会社名で発売し、後にはESL名義でオルトフォン以外(廉価品は米国内製?)にも発注していたようで、トランスにはESLのためにデンマークで作られたとあります。ESLとELPAは同じニューヨークでも番地が違うので移転したか2つの会社名を使い分けたかは分かりません。もしかしたら他国に別名で販売することでオルトフォン自身が販売拡大を狙う意図があったかもしれない、と指摘する人もいます。私は2つの会社名がどちらも複数形を取っていることが正体を現していると思います。 日本でもOEMカートリッジに自社シールを張るケースがよく見られますが、オーディオ商売は面白い。オルトフォンタイプのMCカートリッジはデンマークの別会社でも作られた可能性があります(1954年米国特許2689275 発明者:Hans Christian Hansen サウンドボックスさんでHANSENブランドの写真を見た覚えがある)。
Electro-Sonic Laboratoriesの方は単なる商社ではなく自社製品も作っていたようです。米国特許2883478(発明者McConnel assigned to Electro-Sonic Laboratories)はオルトフォンのモノラルMCの焼き直し、米国特許3043920では永久磁石のローターを使ったモノラルMMを発案しています。勿論ESLの製品群でそれらがそのまま実現したかは分かりませんがモノラルMCは自社製品だったようです(ESL C-60は内部インピーダンス40Ωで5mV at 5cm/sの高出力なのでステップアップトランス不要とのこと:AUDIO誌1957年12月号)。後者の米国特許ではDeccaのSP時代の米国特許2501233(縦置きのpermanent magnetic rotor)が参考文献に挙げられています。米国のオーディオ誌high fidelityの広告リストを見るとELPAとESLが同時に広告を出すことは無く、1962年10月号からELPAが登場し以後ESLの広告がありませんーESLの広告は1962年8月号まで。AUDIO誌では1961年9月号でELPAがOrtofon製品の米国内独占代理店として広告を出していました。
ウィーンのAKG acoustics(その正式名称はAKG
akustische und Kino-Geraete)のカートリッジについて私は経験がありませんが1980年代になってもカートリッジの開発及び生産を続けていました。1983年の独文カタログに最後の意欲を見ることが出来ます。発電機構はOrtofonのVMSに似たMI型でしたが自らはIM(induced
magnet)として解説しています(カンチレバーの後部に磁性体のアーマチュアが接続されている)。80年代初めのP25MD/35がトップモデルでした(MD=micro
diamond, 35=vertical static compliance 35mm/N=35x10-6cm/dyne)。5点の技術的改善が示されていました。
1.針先チップの軽量化(micro-tip)
2.特殊形状針の採用(Analog-6=5x18μM)
3.発電機構(Samarium-Cobaltリングマグネットと純鉄の軽量アーマチュア及びコイルのlow
inductance化)=USP4367544 4.カップ型弾性体による一点支持=TSサスペンションTransversal
Suspension=USP4512009(アーマチュアの端をワイヤーで係留しない上にダンパーの動きが360度方向均一:特許図の3がダンパーで5/6がアーマチュアを支持する部品だが1983年のカタログ図では3を省き6を主たるゴムダンパとし5を薄板として補助カップダンパをはめた二重ダンパーで、この補助ダンパはアームの共振をダンプしかつカートリッジの高域を補正するとありました)
5.導電プラスチックのボディ(静電気の蓄積による問題を避ける)=JP57052294として特許申請(グラファイトなど導電プラスチックを利用したカートリッジボディ)。
1987年の英文カタログではmultifacet針のP25SとヴァンデンフルII針のP8ES
Super Novaがトップモデルとなっていました(P8シリーズは1970年代から続く代表機種でした)。1980年代末頃まではオーディオショップに行くと内外30種以上のカートリッジが陳列ケースに入れられて壮観でしたー男の宝石選びかな? 廉価プレーヤにみられるプラスチックアームは演奏後触れるとバチッと音が出るほど静電気がたまるものがありますーそのようなアームには導電プラスチックを使うことが有効ですが、演奏中にははっきりした影響が出ないようです。パイオニアの1983年のPL-707などにはPG(polymer graphite)製[特開S55-89902=特許1350203/特開S55-125502=特許1325868/特開S55-163602=特許1306691等]アームパイプが使われておりました。
池田勇氏は創業したFR時代に多くの発明及び製品を生み出していましたが、FRを辞めてからカンチレバーレスのユニークなMCカートリッジ群を作りました。以下はその基になったと思われる特許公開昭59-178898(日本特許1630744)の図面です。カップ型ダンパーの部分は後にいろいろ改良が施された製品があるようです。「ヨークの2の各テーパー面2a,2aはヨーク2の先端に直行する水平面3にたいし45°度の角度をなしている。しかして、相対向するヨーク先端部の磁気ギャップ9間には先端に針4を有する一対のコイル5,5が設けられている。これらのコイル5,5は弓状のコイル片を向かい合わせ、かつその端部を結合し、全体として細長で両端部が尖ったほぼ楕円状のような形状を呈し、かつこれらのループ状をなすコイル5,5はステレオレコードの45-45方式にあわせ水平線3に対それぞれ45°の角度をなすよう磁気ギャップ9の磁界の中に配置されている。」と記されています。見かけでは一個のコイルにしか見えなかったのですが針の保持部のところで接合されていたのですね。図面には示されていませんが金属のカンチレバーが無い代わりに、コイルの契合部(針の根元)からtension threadsを張って進行する溝からの水平方向の力に対抗し且つVTA20度前後を達成しています。実質、糸がカンチレバーの代りをしているとも言えます。この意味ではJVCのMC-L1000(マイクロコイルを針先の上に載せたダイレクト・カップル方式)もカンチレバーレスといえます。どちらも撓むカンチレバーやダンパーの影響を受けずダイレクトに発電できるという触れ込みでした。Deccaも1985年発売のMark 7(Super Gold)の宣伝文では(市場でMMやIMに圧倒されていたので)針の真上に発電感知部がある”Positive Scanning"の謳い文句で差別化を試みました。WestrexやNeumannのステレオカートリッジも針の上に発電コイルが載っていました。針の上にcoilやarmatureがある構造はeffective moving massの観点から見ると不利ですが、特別なものを求める人には格好の獲物です。最近オーディオ・テクニカの宮田さんがカンチレーバーの先端にコイルを持つMCカートリッジやマグネットを持つMMカートリッジの特許を申請していますが、製品化はどうなるか見物です。従来のカートリッジにおいてカンチレバーは針先の偏移振幅を縮小してしまうデメリットはありますがカンチレバーの回転軸近くに置かれたコイルやマグネットは針先から見た実効質量が小さいのです。1mm角のネオジム磁石(比重7.4)でも針の真上に置けば0.1^3*7.4=7.4mgになります。又、取り扱い上発電部はカートリッジの内部にあるほうが良いのです。不注意から針先に不慮の力が加えられたときポールピースに接触したり断線したりする危険から逃れられる。


空芯コイルといっても実際にはコイルの巻枠(bobbin)に非磁性体を使うことが多いのですが、下図の米国特許文書にみるように池田さんは1978年に巻枠のないFR-7という特殊なカートリッジも生み出しました。巻枠は薄いと共振しやすく強固なものにすると重くなる傾向があるのを問題視したようです。巻枠や巻芯にパーマロイなど磁性体を使ったMC型の方がコイルの巻数を少なくしても発電効率が良いので一般には普及しています。FR-7はFig.4のような特殊な磁気回路を作ることでコイルの両面をプッシュプル駆動することにより、巻数を抑えた空芯コイルても比較的高出力が得られた。従来のN-Sの平行磁力線とは異なり、カーブした磁力線を持つ磁気回路(total 4 pole pieces)です。

周波数レコードのページの末尾でダンパーの問題(特にその温度特性)に言及しました。最近オーディオテクニカから電気粘性流体を利用した可変ダンパーの特許が申請されていることを知りました。図1が発明の可変ダンパー方式(図の40が印加電圧によって粘度が変化する電気粘性流体=ER流体)、図2は従来型のゴムとテンションワイヤーによる制動方式。

本文には従来のカートリッジにおいて「最適な材料および組立方法を確立したとしても、ゴム材であるがゆえに温度係数を持つため、部屋の室温によって、制動特性が大きく変化してしまう、という問題がある」、「また、別の問題としてユーザーの中には、市販のピックアップカートリッジに搭載されているメーカー設定の制動特性を変えて(調整して)、音質の自分の好みに合ったものにしたいユーザーもいるが、従来のピックアップカートリッジでは、その期待に応えることはほどんど不可能である」とあります。果たしてそんなユーザーがいるものか、疑問です。何故ならいろいろなブランドのカートリッジのなかからユーザーはカートリッジを選択しているわけです。もしも制動可変ダンパーによるカートリッジが実現したとしても、ユーザーを惑わすだけでそれが汎用(万能)カートリッジになり得るかは疑問です。確かに音質上、制動が十分でない暴れや偏った周波数特性を持つ特定のカートリッジを好むユーザー(マニアと呼ばれる御仁)がいることは確かなのですが。。。温度係数に依存しない最適な制動を実現する方法としては十分に期待すべきものだと思います。どんな形で製品化されるか見物ですーオーディオプロセッサーのようにジャズ・ポジションとかクラシック・ポジションとかフラット・ポジションとか選択できるようになるのか?それとも温度係数に依存しない最適な制動特性を持つカートリッジ(一部のマニアには面白みのない音と感じられるカートリッジ)として製品化されるのか?余談ですがキャノンによるオーディオプロセッサーの特許(USP4870690=公開特許広報
昭63-50695)のなかに面白いことが書いてありました(英文も参照し一部補筆):「一般に理想的再生に対し、3つの考え方がある。
PHF派(physical
high-fidelity物理特性重視)ー物理的に高忠実な再生を良とする。一般に電気信号処理の領域はこの考えが中心。
SHF派(sound hi-fi音重視)ー原音通りの音に感ずる再生を良とする。スピーカー等は未だ未完成であり物理的に不完全である。従ってどこかで妥協、味つけがなされる。SHFはクラシック音楽愛好家に多く見られる。
GR派
(GRが何の略かは明示されていないが娯楽=軽音楽の意味らしい/ドイツではポピュラー音楽をU-Musik娯楽音楽と呼び、クラシック音楽をE-Musik真剣音楽と呼ぶことがあり、軽音楽という呼び名もNHKが昭和13年頃から使い始めたとされる)は原音にはこだわらず快適な良い音楽を創造しようとする。主に軽音楽愛好家に強くみられる。
さらに興味ある事実は本音と建前が非常に異なることである。多くのオーディオ愛好家に良い音は何かと聞くと、このPHFだという。ところが買い求められるスピーカーは90%以上作られた音である。つまり本音はSHFかGRだが建前はPHFということである。」 建前ではクラシック(最近はバロック、なかでもZelenkaなど)を好んで聞く私は実はGR派なのだと感じることがあります。「原音」なんていうのは幻想で演奏会や実演でもめったに聴くことが出来ないと私は考えていますーある特定の席で聞こえてきた音を聴いているだけ。再生音の場合では、ある特定の機器で特定の部屋で特定の耳に聞こえてきた再生音を聴いているだけ。春雷の光を見る人と音を聴く人と雷に撃たれ斃れる人のうち、誰が雷の実態を捉えているか?
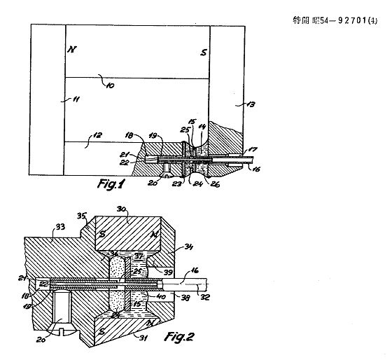
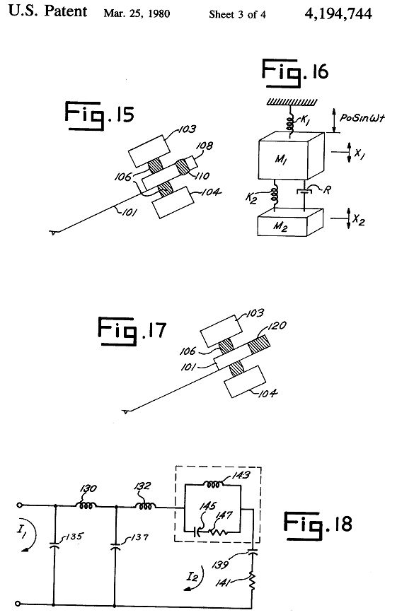
ダンパーについてはいろんな工夫があり、ShureのV15IVの開発者の一人のGroh氏は1977年6月AESに"The Dynamic Vibration Absorber Principle Applied to a High-Quality Phonograph Pickup"を発表しUSP4194744-1980にて "additional selective suppression of unwanted vibrations at the resonant frequencies of the moving system is desirable"と言及しています。この特許文書は他社の関連特許を概括しているので大変興味深いものです。それを意識した発明にOrtofonのMC200(1981)などに採用されたWRD (Wide Range Damping) system (USP4310917-1982=日本特許1355203) がありそれはプラチナ円盤(inertia body)の前後をゴムで挟みその先にアーマチュアとカンチレバーの後端がある二重ダンパーでした。同時期OrtofonのHansen/Gudmandsenは別の発明もしておりデンマーク本国より先に日本で特許申請した[昭54-92701]ではアーマチュア後部は普通のゴムブッシュで前部は「強磁性小粒子のコロイド状懸濁液」を詰めた袋を持つものでした。DenonのDL-301もdouble dampersを採用しておりUSP4488284などと関係しているようです。DL-302とDL-304はnew single damperを採用しており詳細は不明ですが発売時期1984年から見るとシングルダンパーの実用新案S60-180301(サブダンパーを使わず特殊形状のシングルダンパーを採用)と関連があると思います。他にもデンオンはいろんなダンパーの発明をしていますがどれがどのカートリッジに採用されているのかは不明です[特許公開S56-51002/57-18006やUSP4488284やUSP4455639(半球形のダンパーとそれを受ける凹みのあるマグネット)など]。
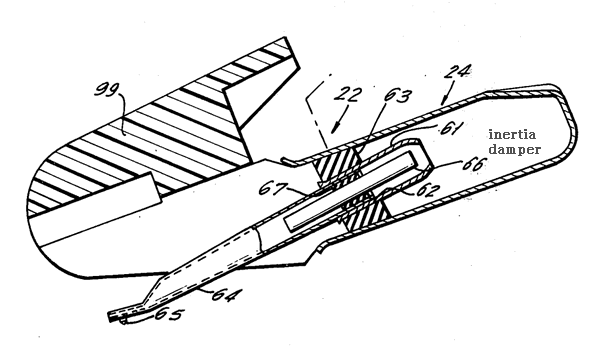
Sharper等によるUSP3954273(1976年)はEmpireのMIカートリッジ600LAC/500ID
(inertially damped cantilever)と1979年EDR.9で実現しました(EDR.9についてはPopular
Electronics1979年7月号に詳細なテストレポートがあります)。"A quadraphonic
phonograph pickup cartridge is constructed with a tubular magnetic armature
resiliently supported for vibration on an elastomeric bearing. Performance,
especially at high frequencies, is enhanced by mounting a magnetic rod inside
the armature on another elastomeric bearing that surrounds the inner rod at a
point midway between the ends of this rod"と特許文書で概説されいます。下図の66がrodで磁気よりもmass (inertia) controlとして働きます。USP3441688(従来モデル1000ZE/X等)のMIカートリッジは高音端20kHz近辺で機械的共振峰を示しCD4などには使えなかった。MIのチューブ型アーマチュア61を支えるダンパ63は軟らかめ、内部のロッドを支えるダンパ67は固めに設定し、周波数全域でダンピング効果を目指しています(以下抜粋):
I) The
amplitude of this peak may be diminished by utilizing relatively stiff
elastomers and/or springs to provide the restoring force that biases the
magnetic armature to a neutral position. However, by adding stiffness to the
system, low frequency high amplitude response is adversely affected and higher
tracking forces are required, with the latter resulting in more rapid wear of
the phonograph records.
II) At the low end of the frequency response band
for cartridge 10, rod 66 appears to be inertially suspended. That is, there does
not appear to be any relative movement between rod 66 and armature 61. However,
at the upper end of the frequency response band where resonant peaks appear, rod
66 appears to act as an anti-resonant element, with rod 66 vibrating relative to
armature 61 with vibrations of armature 61 and rod 66 being out-of-phase. This
anti-resonance materially lowers the amplitude of resonant peak and extends the
upper end of the frequency response band. The overall amplitude of signals
appearing at output terminals 51-54 is enhanced by constructing rod 66 of
material having a high magnetic permeability. This acts to increase
concentration of magnetic flux in the gap regions through which armature 61
extends.
III) In
a typical construction rod 66 is approximately 0.165 in. long, and 0.0225 in. in
diameter. Armature 61 is approximately 0.125 in. long, 0.043 in. outer diameter,
with a wall thickness of approximately 0.0015 in. Since the auxiliary vibratory
system comprising rod 66 and elastomer 67 is inertially suspended at the low end
of frequency band there is no need to make elastomer 67 especially soft. Thus,
in a typical construction the stiffness of elastomer 67 is from 1.5 to 3 times
the stiffness of elastomer 63 in the primary vibratory system. At the very high
end of the frequency response band for cartridge 10, both elastomers 63 and 67
act as damping elements".
但しこの工夫は数モデルだけに終わり、4チャンネル用としては別の工夫による別モデル(4000D
seriesなど)も開発された模様ー4ch用途のピックアップ開発の過程ではいろいろな試行があった。Shureが4ch用途のピックアップの開発に積極的でなかったのはむしろ賢明な判断だった?
ところで4ch用と2ch用の違いは何でしょう?
4ch用途のカートリッジは45kHz以上のbandwidthを持つだけでなく、20Hz-45kHzで±2dB以内の保証された周波数特性frequency
responseを持つ必要がありました。丸針のDL-103はbandwidthとしては45kHz程度まで伸びていますが、丸針の高域再生損失により4ch用には使えません。2chステレオに4chカートリッジを使っても問題は無いはずですが、実際には高周波ノイズがアンプ側に悪影響(発振?)を及ぼすことがあったようで4ch用のDL-103Sには『雑音となる不要な45kHz以上の高域成分をカットするPUF-1フィルター』(フォノケーブルの出力側に差し込むピックアップフィルター)がオプションとして用意されていました。4chレコードでなくても針と溝の摩擦などにより超高域雑音が発生する場合があるのでしょうか? 神経質になりすぎるのは良くないーある種の鈍さがカートリッジとそれを聴く人間には必要なようです。

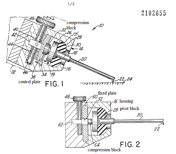
コンプライアンス可変ダンパーのアイデアもその開発の背景もいろいろあり、前に引用したGradoの他にSonotone(USP3531601)ではstylus turnoverタイプのLP/SP共用針においてLP/SP間でコンプライアンスや出力感度を可変する必要から生まれましたー同じコンプライアンスではSPを再生する時、振幅が大きいので問題が生じることがこのタイプのピックアップの問題点でした。AUDIO DYNAMICS CORP(ADC)のGB2102655(1983) Variable Compliance Phono Cartridgeはダンパーをカムなどで圧縮し可変コンプライアンスを得るアイデアでしたーその目的はどんな実効質量のアームにこのカートリッジを取り付けてもコンプライアンスを調整することにより最適な低域共振範囲(10Hz前後)に収めるためでした。勿論こんなものはテストレコード等に無縁のユーザーには受け入れられるはずも無く、実現はしなかった。低域共振周波数として10Hz前後が最適な理由は、"This frequency avoids such problems as air-borne and structure-borne vibrational feedback in the playback system. Record warp occurs at frequencies lower than 10Hz."等と述べられています。空間音圧によるものと床などからプレーヤに伝わるものとどちらが大きいかは部屋の音響特性や床やプレーヤの設置場所及びサスペンション構造などにも関係するので、ことさら10Hzにこだわる必要はなく、10Hz-20Hzの間であれば妥当と思います(但し、共振周波数は高めにしたほうがそのQが小さくなることは事実です)。クリヤーな低音を目指すなら共振周波数15Hz-20Hz, 「一部のマニアの耳に快い低音の厚み=混変調?」を求めるなら共振周波数10Hz以下が良い?

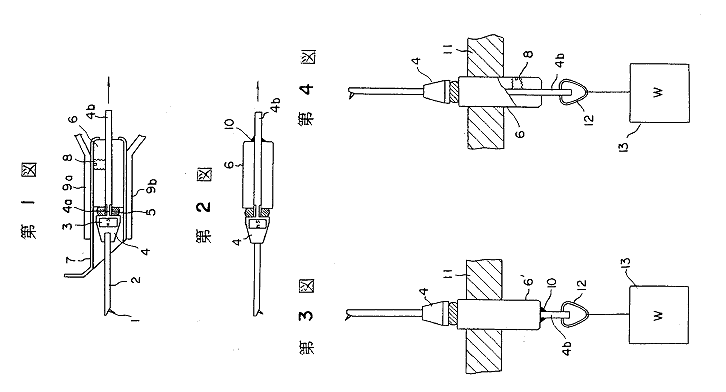
テンションワイヤーで針を組み立てる時、最適なダンパー圧縮を与えることは重要な問題でした。各社いろんな工夫でジグを使い組み立てているようです。松下の例(特許公開S58-102305):テンション固定の方法は第3図で瞬間接着剤、第4図で螺子止めがそれぞれ示されています。

オーディオ・テクニカの例(特許公開S61-240402):第7図が従来型の構造図で、第1図第2図はこの発明の工夫ー回転を防ぎ且つノッチ36が突起35に引っかかることで針及びダンパー取り付け不良を防いでいる。実際に採用されたかは不明です。


Denonの例:第1図は過去の実開S48-38891=実用登録1111867と実開S51-22402で提示された従来の構造。末端のサポート8をナット9で留め高域ダンプ調整する(緩めると高域にピークが発生しがちで、締め過ぎるとオーバーダンプとなり高域が伸びないと実用登録1111867で説明されています)。第2図からが改良案:テンションワイヤー5はサポート8内に穿った孔を通してセットスクリュー10で固定(7aはセットスクリュー調整孔)。ホルダー7とサポート8の接続部が第2図(B)に示されるごとく複雑ですが、ホルダー孔内(7b)に8分割の摺割り(7c)を入れ円周部に雌ネジ7eを設けこれに袋ナット9をねじ合わせる(即ちダンパー圧縮荒調整)。サポート末端の摺割り8c及び摘み19で微調整(これは第3図の説明からダンパー圧縮よりも角度調整が主たる目的と私は考えます)。実装例の第3図は振動系の角度調整用摘み16が配置されています(サポート8をベベルギアなどを介してダイヤル指標17に関連させるもので第2図の19と同じ働きをします)。
